TOP
|
特許
|
意匠
|
商標
特許ウォッチ
Twitter
他の特許を見る
10個以上の画像は省略されています。
公開番号
2025160022
公報種別
公開特許公報(A)
公開日
2025-10-22
出願番号
2024062966
出願日
2024-04-09
発明の名称
インクジェット記録装置及びノズル面清掃方法
出願人
コニカミノルタ株式会社
代理人
弁理士法人光陽国際特許事務所
主分類
B41J
2/165 20060101AFI20251015BHJP(印刷;線画機;タイプライター;スタンプ)
要約
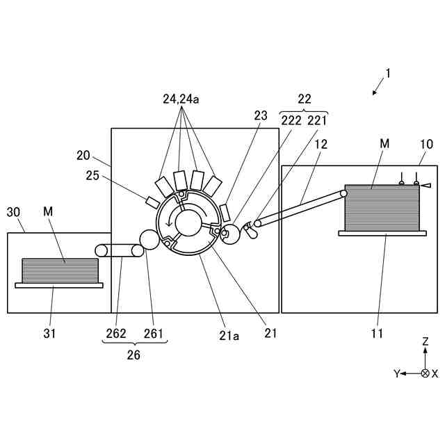
【課題】装置の大型化と高コスト化を抑制しつつノズル面に付着した残留インクを適切に払拭可能なインクジェット記録装置及びノズル面清掃方法を提供する。
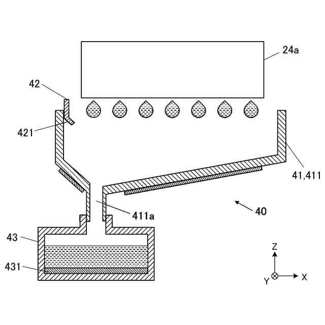
【解決手段】インクジェット記録装置1は、ノズル面241aからインクを吐出するインクジェットヘッド241と、インクジェットヘッド241から供給されるインクで濡らしたワイプ部材441aの清掃面によってノズル面241aを払拭するノズル面清掃動作を実行するヘッド清掃部44と、制御部50と、を備え、ヘッド清掃部44は、ノズル面清掃動作の度にワイプ部材441aの異なる領域を清掃面とする。
【選択図】図9B
特許請求の範囲
【請求項1】
ノズル面に設けられたノズルからインクを吐出するインクジェットヘッドと、
ワイプ部材の清掃面によって前記ノズル面を擦過して払拭するノズル面清掃動作を実行するヘッド清掃部と、
前記ワイプ部材の清掃面に前記インクジェットヘッドからインクを供給させる制御部と、を備え、
前記ヘッド清掃部は、前記インクで前記ワイプ部材の清掃面を濡らした状態で前記ノズル面清掃動作を行い、前記ノズル面清掃動作の度に前記ワイプ部材の異なる領域を前記清掃面とするインクジェット記録装置。
続きを表示(約 1,000 文字)
【請求項2】
前記ワイプ部材が保持可能な最大インク量をα[g/m
2
]、前記ノズル面清掃動作における前記ワイプ部材の巻き取り量をβ[m]、前記インクジェットヘッドの幅をγ[m]、前記インクジェットヘッドから供給されるインクの量をδ[g]とした時、前記α、β、γ及びδは、下記式(1)の関係を満たす請求項1に記載のインクジェット記録装置。
式(1) α×β×γ>δ
【請求項3】
前記制御部は、前記インクジェットヘッドが前記ワイプ部材に接触した状態で、前記インクジェットヘッドからインクを吐出させることで、前記ワイプ部材にインクを供給させる請求項1に記載のインクジェット記録装置。
【請求項4】
前記制御部は、前記インクジェットヘッドが前記ワイプ部材と接触した状態で所定時間待機することで、前記ワイプ部材にインクを供給させる請求項1に記載のインクジェット記録装置。
【請求項5】
前記制御部は、メニスカスを振動させることで、前記ワイプ部材にインクを供給させる請求項1に記載のインクジェット記録装置。
【請求項6】
前記制御部は、前記ノズル面清掃動作における払拭時よりも低速で前記ワイプ部材に前記インクジェットヘッドを摺動させることで、前記ワイプ部材にインクを供給させる請求項1に記載のインクジェット記録装置。
【請求項7】
前記制御部は、前回のノズル面清掃動作からの経過時間に応じた量のインクを前記インクジェットヘッドから前記ワイプ部材に供給させる請求項1に記載のインクジェット記録装置。
【請求項8】
前記制御部は、前記インクジェットヘッドの搭載期間に応じた量のインクを前記インクジェットヘッドから前記ワイプ部材に供給させる請求項1に記載のインクジェット記録装置。
【請求項9】
前記制御部は、インクで濡らした前記ワイプ部材の前記清掃面によって前記ノズル面を払拭した後に、前記ワイプ部材の前記清掃面とは異なる面で前記ノズル面のインクを吸液する請求項1から8のいずれか一項に記載のインクジェット記録装置。
【請求項10】
前記制御部は、前記ワイプ部材の前記清掃面とは異なる面を前記ノズル面に接触させて所定時間待機することで前記ノズル面のインクを吸液する請求項9に記載のインクジェット記録装置。
(【請求項11】以降は省略されています)
発明の詳細な説明
【技術分野】
【0001】
本発明は、インクジェット記録装置及びノズル面清掃方法に関する。
続きを表示(約 1,400 文字)
【背景技術】
【0002】
従来、ノズル面からインクを吐出して記録媒体の所望の位置に着弾させることで画像を記録するインクジェット記録装置が知られている。インクジェット記録装置は、ノズル面にインクが付着すると、当該インクがノズルの一部を塞いだ状態で増粘、更には固化して、吐出不良が生じるおそれがある。そこで、布等の払拭部材でノズル面を払拭することで、付着したインクを除去するのが一般的である。
【0003】
特に、例えば特許文献1には、布をノズル面に押圧した状態で往復動作することで、ノズル面の拭き残しを低減させる構成が提案されている。また、例えば特許文献2には、洗浄液を塗布することで、ノズル面の拭き残しを低減させる構成が提案されている。
【先行技術文献】
【特許文献】
【0004】
特開2021-192967号公報
特開2006-334964号公報
【発明の概要】
【発明が解決しようとする課題】
【0005】
しかしながら、特許文献1の発明は、払拭部材として乾いた布を用いる。そのため、残留インクが乾燥して増粘していると、当該残留インクを払拭しきれずに拭き残しが生じ得る。また、乾いた布は表面に凹凸を有するため、拭き残しが生じやすい。
【0006】
特許文献2の発明は、洗浄液を塗布するため、特許文献1の上記課題を解決できる。しかしながら、洗浄液を塗布するための専用の装置が必要になる。そのため、インクジェット記録装置が大型化、高コスト化する。
【0007】
本発明はかかる事情に鑑みてなされたものであり、その目的は、装置の大型化と高コスト化を抑制しつつノズル面に付着した残留インクを適切に払拭可能なインクジェット記録装置及びノズル面清掃方法を提供することである。
【課題を解決するための手段】
【0008】
請求項1に記載の発明は、インクジェット記録装置であって、
ノズル面に設けられたノズルからインクを吐出するインクジェットヘッドと、
ワイプ部材の清掃面によって前記ノズル面を擦過して払拭するノズル面清掃動作を実行するヘッド清掃部と、
前記ワイプ部材の清掃面に前記インクジェットヘッドからインクを供給させる制御部と、を備え、
前記ヘッド清掃部は、前記インクで前記ワイプ部材の清掃面を濡らした状態で前記ノズル面清掃動作を行い、前記ノズル面清掃動作の度に前記ワイプ部材の異なる領域を前記清掃面とする。
【0009】
請求項2に記載の発明は、請求項1に記載のインクジェット記録装置であって、
前記ワイプ部材が保持可能な最大インク量をα[g/m
2
]、前記ノズル面清掃動作における前記ワイプ部材の巻き取り量をβ[m]、前記インクジェットヘッドの幅をγ[m]、前記インクジェットヘッドから供給されるインクの量をδ[g]とした時、前記α、β、γ及びδは、下記式(1)の関係を満たす。
式(1) α×β×γ>δ
【0010】
請求項3に記載の発明は、請求項1に記載のインクジェット記録装置であって、
前記制御部は、前記インクジェットヘッドが前記ワイプ部材に接触した状態で、前記インクジェットヘッドからインクを吐出させることで、前記ワイプ部材にインクを供給させる。
(【0011】以降は省略されています)
この特許をJ-PlatPat(特許庁公式サイト)で参照する
関連特許
コニカミノルタ株式会社
緩衝材
17日前
コニカミノルタ株式会社
光計測装置
4日前
コニカミノルタ株式会社
情報処理装置
20日前
コニカミノルタ株式会社
画像形成装置
18日前
コニカミノルタ株式会社
画像形成装置
10日前
コニカミノルタ株式会社
画像形成装置
20日前
コニカミノルタ株式会社
液滴吐出装置
12日前
コニカミノルタ株式会社
超音波診断装置
18日前
コニカミノルタ株式会社
画像形成システム
19日前
コニカミノルタ株式会社
放射線撮影システム
10日前
コニカミノルタ株式会社
放射線撮影システム
10日前
コニカミノルタ株式会社
画像形成装置、画像形成方法
25日前
コニカミノルタ株式会社
抗菌剤塗布装置および画像形成装置
17日前
コニカミノルタ株式会社
用紙搬送装置及び画像形成システム
19日前
コニカミノルタ株式会社
画像読取装置及び画像形成システム
4日前
コニカミノルタ株式会社
トナー収容容器および画像形成装置
4日前
コニカミノルタ株式会社
開発システムおよび学習管理システム
17日前
コニカミノルタ株式会社
画像形成装置、補正方法及びプログラム
25日前
コニカミノルタ株式会社
医療用検査装置、および医療用検査方法
17日前
コニカミノルタ株式会社
仲介システム、仲介方法及びプログラム
17日前
コニカミノルタ株式会社
画像形成装置、制御方法及びプログラム
4日前
コニカミノルタ株式会社
インクジェット記録装置及びプログラム
12日前
コニカミノルタ株式会社
定着部材、定着装置および画像形成装置
18日前
コニカミノルタ株式会社
抽出装置、抽出方法および抽出プログラム
25日前
コニカミノルタ株式会社
動態画像解析装置、方法、及びプログラム。
10日前
コニカミノルタ株式会社
動態画像解析装置、方法、及びプログラム。
10日前
コニカミノルタ株式会社
ブラシ、ブラシの製造方法および画像形成装置
18日前
コニカミノルタ株式会社
ブラシ、ブラシの製造方法および画像形成装置
18日前
コニカミノルタ株式会社
情報処理装置、情報処理方法、及び、プログラム
25日前
コニカミノルタ株式会社
情報処理装置、情報表示システム及びプログラム
4日前
コニカミノルタ株式会社
画像形成装置、キャリア排出方法及びプログラム
20日前
コニカミノルタ株式会社
プログラム、情報処理システム及び情報処理方法
10日前
コニカミノルタ株式会社
シート処理装置、画像形成システム、及び制御方法
19日前
コニカミノルタ株式会社
放射線画像処理装置及び放射線画像処理プログラム
10日前
コニカミノルタ株式会社
断裁装置、画像形成システム及び断裁位置決定方法
4日前
コニカミノルタ株式会社
インクジェットヘッド及びインクジェット記録装置
17日前
続きを見る
他の特許を見る