TOP
|
特許
|
意匠
|
商標
特許ウォッチ
Twitter
他の特許を見る
公開番号
2025156710
公報種別
公開特許公報(A)
公開日
2025-10-15
出願番号
2024059286
出願日
2024-04-02
発明の名称
画像形成装置及び用紙物性検知方法
出願人
コニカミノルタ株式会社
代理人
弁理士法人光陽国際特許事務所
,
弁理士法人信友国際特許事務所
主分類
G03G
21/00 20060101AFI20251007BHJP(写真;映画;光波以外の波を使用する類似技術;電子写真;ホログラフイ)
要約
【課題】異なる種類の用紙がセットとなっている用紙束の印刷において、印刷トラブルを回避し、ユーザーの利便性を向上する。
【解決手段】画像形成装置1は、異なる種類の記録材がセットとなっている用紙束に対して物性を検知する用紙物性検知装置20と、用紙物性検知装置20により検知された用紙束に含まれる記録材の物性値に対応する用紙搬送条件及び画像形成条件を設定する制御部60と、を備える。
【選択図】 図3
特許請求の範囲
【請求項1】
異なる種類の記録材がセットとなっている用紙束に対して物性を検知して物性値を出力する用紙物性検知装置と、
前記用紙物性検知装置により検知された前記用紙束に含まれる前記記録材の前記物性値に対応する用紙搬送条件及び画像形成条件を設定する制御部と、を備える
画像形成装置。
続きを表示(約 790 文字)
【請求項2】
前記制御部は、前記用紙束に含まれる前記記録材の枚数を取得し、前記枚数で前記用紙束に対する物性検知を行う指示を前記用紙物性検知装置に出力する
請求項1に記載の画像形成装置。
【請求項3】
前記物性値は、前記記録材の厚み、水分量、透過率、剛度、表面性及び抵抗値の少なくとも1以上を含む
請求項1に記載の画像形成装置。
【請求項4】
前記制御部は、前記用紙物性検知装置により検知された前記記録材の前記物性値と、前記記録材が検知された順番を表す識別情報とを紐付けて記憶する
請求項3に記載の画像形成装置。
【請求項5】
前記制御部は、前記物性値に対応する前記用紙搬送条件で前記記録材を搬送するように制御し、前記物性値に対応する前記画像形成条件で画像形成を制御する
請求項3に記載の画像形成装置。
【請求項6】
前記用紙物性検知装置は、少なくとも1つ以上のメディアセンサーを有する
請求項1に記載の画像形成装置。
【請求項7】
前記用紙物性検知装置は、前記記録材の搬送経路に配置される
請求項6に記載の画像形成装置。
【請求項8】
前記用紙物性検知装置は、前記記録材に対する画像形成を行う印刷装置の上流側に配置され、前記画像形成が行われる前に、前記用紙束に対して物性検知を実行する
請求項7に記載の画像形成装置。
【請求項9】
前記用紙物性検知装置は、前記記録材を反転する機構を有する
請求項8に記載の画像形成装置。
【請求項10】
前記用紙物性検知装置は、反転された前記記録材を、検知された順で排紙する
請求項9に記載の画像形成装置。
(【請求項11】以降は省略されています)
発明の詳細な説明
【技術分野】
【0001】
本発明は、画像形成装置及び用紙物性検知方法に関する。
続きを表示(約 1,800 文字)
【背景技術】
【0002】
画像形成装置では、複数種類の用紙が給紙部の複数のトレイにセットされ、印刷ジョブに従って、指定された種類の用紙が選択されて印刷が行われる場合がある。この場合、画像形成装置は、用紙の物性値に応じて画像形成時のトナーの転写電圧や定着温度等の画像形成条件を適切に調整することで画像品質を確保することができる。また、画像形成装置は、用紙の物性値に応じて、用紙の搬送条件を適切に調整して用紙を搬送することで、ジャム、画像のずれ、用紙の片寄り等のトラブルを軽減することもできる。例えば、特許文献1には、用紙物性値に応じて、用紙処理に関するパラメータを特定する技術開示されている。
【0003】
特許文献1には、複数種類の用紙物性に関する値を取得し、取得した用紙物性に関する値に基づいて用紙種別および坪量の少なくともいずれかを特定することが記載されている。また、取得した用紙物性に関する値に基づいて、用紙種別および坪量の少なくともいずれかを特定することなく用紙処理に関するパラメータを特定することが記載されている。
【先行技術文献】
【特許文献】
【0004】
特開2022-089505号公報
【発明の概要】
【発明が解決しようとする課題】
【0005】
特許文献1に記載の技術では、印刷ジョブの開始時または開始前に給紙部から1枚の用紙を給紙し、搬送経路上に設置されたメディアセンサで用紙物性を検知する。その後、検知された用紙物性に応じた画像形成条件あるいは搬送条件が適用され、画像形成が実行される。しかし、市場においては、特定の用途として異なる種類の用紙がセットとなっている用紙束、例えば、伝票等のノンカーボン紙や仕切り紙を含む混載印刷用紙束等が存在する。このような用紙束が給紙部にセットされる場合、特許文献1に記載の技術では、最初に搬送された用紙のみの物性が検出され、画像形成条件や搬送条件などを適用することになる。この場合、用紙束内の他の種類の用紙に対して適切でない条件で画像形成または搬送が行われてしまい、画質劣化、ジャム、画像のずれ等の印刷トラブルが発生する。このような場合には、印刷トラブルの発生を防止するため、用紙束に含まれる各種用紙の枚ごとに物性検知を行うことが必要となり、ユーザーの利便性が低下する。
【0006】
本発明は上記課題を解決するために成されたものであり、本発明の目的は、異なる種類の用紙がセットとなっている用紙束の印刷において、印刷トラブルを回避し、ユーザーの利便性を向上することである。
【課題を解決するための手段】
【0007】
上記課題を解決するため、本発明の画像形成装置は、異なる種類の記録材がセットとなっている用紙束に対して物性を検知して物性値を出力する用紙物性検知装置と、用紙物性検知装置により検知された用紙束に含まれる記録材の物性値に対応する用紙搬送条件及び画像形成条件を設定する制御部と、を備える。
なお、上記の画像形成装置は本発明の一態様であり、本発明の一側面を反映した用紙物性検知方法についても、上記の画像形成装置と同様に構成される。
【発明の効果】
【0008】
上記構成に本発明によれば、異なる種類の用紙がセットとなっている用紙束の印刷において、印刷トラブルを回避し、ユーザーの利便性を向上することができる。
上記以外の課題、構成及び効果は、以下の実施の形態の説明により明らかにされる。
【図面の簡単な説明】
【0009】
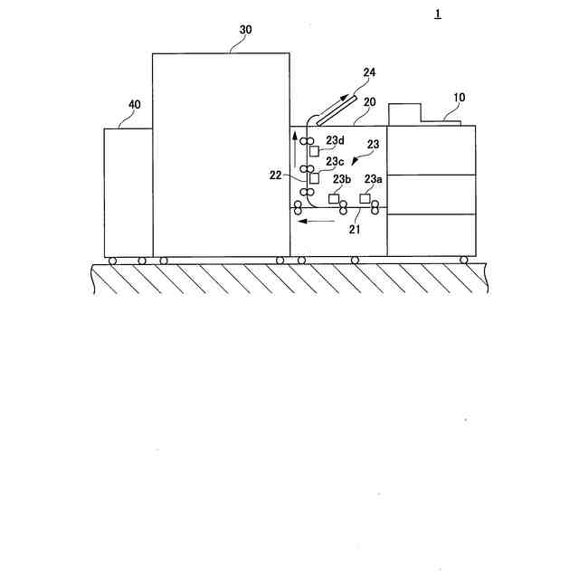
本発明の第1実施形態に係る画像形成装置の概略構成を示す図である。
本発明の第1実施形態に係る画像形成装置のハードウェア構成例を示すブロック図である。
本発明の第1実施形態に係る画像形成装置における用紙物性検知処理の手順を示すフローチャートである。
本発明の第2実施形態に係る画像形成装置の概略構成を示す図である。
【発明を実施するための形態】
【0010】
以下、本発明を実施するための形態について、添付図面を参照して説明する。本明細書及び図面において、実質的に同一の機能又は構成を有する構成要素については、同一の符号を付することにより重複する説明を省略する。
(【0011】以降は省略されています)
この特許をJ-PlatPat(特許庁公式サイト)で参照する
関連特許
個人
表示装置
1か月前
個人
雨用レンズカバー
1か月前
株式会社シグマ
絞りユニット
2か月前
平和精機工業株式会社
雲台
3か月前
キヤノン株式会社
撮像装置
2か月前
日本精機株式会社
車両用投射装置
1か月前
キヤノン株式会社
撮像装置
1か月前
キヤノン株式会社
撮像装置
1か月前
キヤノン株式会社
撮像装置
1か月前
キヤノン株式会社
撮像装置
2か月前
キヤノン株式会社
撮像装置
2か月前
株式会社リコー
画像形成装置
28日前
株式会社リコー
画像形成装置
19日前
株式会社リコー
画像形成装置
3か月前
株式会社リコー
画像形成装置
1か月前
株式会社リコー
画像形成装置
10日前
株式会社リコー
画像形成装置
25日前
株式会社リコー
画像形成装置
2か月前
株式会社リコー
画像形成装置
25日前
株式会社リコー
画像形成装置
2か月前
株式会社オプトル
プロジェクタ
1か月前
キヤノン株式会社
トナー
2か月前
キヤノン株式会社
画像形成装置
2か月前
キヤノン株式会社
トナー
1か月前
キヤノン株式会社
画像形成装置
1か月前
キヤノン株式会社
画像形成装置
3か月前
キヤノン株式会社
トナー
1か月前
キヤノン株式会社
画像形成装置
3か月前
シャープ株式会社
画像形成装置
3か月前
キヤノン株式会社
トナー
1か月前
キヤノン株式会社
画像形成装置
4日前
キヤノン株式会社
画像形成装置
27日前
株式会社オプトル
プロジェクタ
3か月前
キヤノン株式会社
レンズキャップ
1か月前
アイホン株式会社
機器の設置構造
3か月前
アイホン株式会社
機器の設置構造
3か月前
続きを見る
他の特許を見る