TOP
|
特許
|
意匠
|
商標
特許ウォッチ
Twitter
他の特許を見る
公開番号
2025159750
公報種別
公開特許公報(A)
公開日
2025-10-22
出願番号
2024062475
出願日
2024-04-09
発明の名称
放射線画像撮影装置
出願人
コニカミノルタ株式会社
代理人
弁理士法人光陽国際特許事務所
主分類
G01T
7/00 20060101AFI20251015BHJP(測定;試験)
要約
【課題】放射線検出パネルの振動による電気ノイズを放射線照射と誤検知することを抑制することが可能な放射線画像撮影装置を提供する。
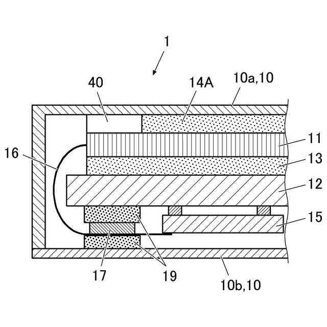
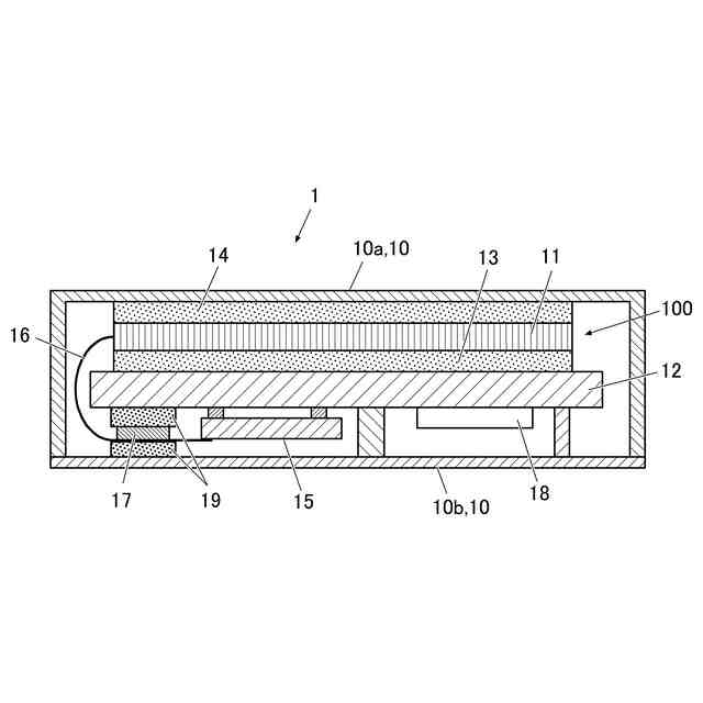
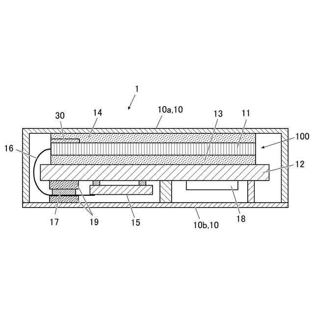
【解決手段】放射線検出パネル11と、電気回路基板15と、支持体12と、を備える内部モジュール100と、内部モジュール100を収納する筐体10と、を備える。放射線検出パネル11と電気回路基板15とを接続するCOF16と、COF16上に設けられ、放射線検出パネル11からの信号を読み出すROIC(読出しIC17)と、を備える。支持体12は、高剛性材料で形成され、ROICと筐体10との間には、粘弾性材料により形成された制振材19が設けられている。
【選択図】図2
特許請求の範囲
【請求項1】
被写体を透過した放射線を検出して放射線画像情報に変換する放射線検出パネルと、前記放射線検出パネルにより変換された放射線画像情報に基づいて画像を形成する電気回路基板と、第1面に前記放射線検出パネルを、前記第1面と反対側の第2面に前記電気回路基板を、それぞれ支持する支持体と、を備える内部モジュールと、
前記内部モジュールを収納する筐体と、
を備える放射線画像撮影装置であって、
前記放射線検出パネルと前記電気回路基板とを接続するCOFと、
前記COF上に設けられ、前記放射線検出パネルからの信号を読み出すROICと、
を備え、
前記支持体は、高剛性材料で形成され、
前記ROICと前記筐体との間には、粘弾性材料により形成された制振材が設けられていることを特徴とする放射線画像撮影装置。
続きを表示(約 760 文字)
【請求項2】
前記支持体は、CFRP又は金属で形成されていることを特徴とする請求項1に記載の放射線画像撮影装置。
【請求項3】
前記制振材は、ゴムの発泡体であることを特徴とする請求項1に記載の放射線画像撮影装置。
【請求項4】
前記制振材は、さらに、前記ROICと前記支持体との間に設けられていることを特徴とする請求項1に記載の放射線画像撮影装置。
【請求項5】
前記制振材は、帯電防止機能を有することを特徴とする請求項1に記載の放射線画像撮影装置。
【請求項6】
前記制振材は、抵抗率が10
2
[Ω・cm]以上10
5
[Ω・cm]以下であることを特徴とする請求項5に記載の放射線画像撮影装置。
【請求項7】
前記放射線検出パネルの基板は、ガラスで形成されていることを特徴とする請求項1に記載の放射線画像撮影装置。
【請求項8】
前記放射線検出パネルを前記筐体に貼り付けるための貼り付け部材を備え、
前記放射線検出パネルの前記ROICの位置に対応する部分は、前記筐体に貼り付け不能であることを特徴とする請求項1に記載の放射線画像撮影装置。
【請求項9】
前記放射線検出パネルの前記ROICの位置に対応する部分と前記貼り付け部材との間には、粘着力を有しないフィルムが設けられていることを特徴とする請求項8に記載の放射線画像撮影装置。
【請求項10】
前記放射線検出パネルの前記ROICの位置に対応する部分と前記筐体との間には、前記貼り付け部材と同じ厚さのスペーサーが設けられていることを特徴とする請求項8に記載の放射線画像撮影装置。
発明の詳細な説明
【技術分野】
【0001】
本発明は、放射線画像撮影装置に関する。
続きを表示(約 1,900 文字)
【背景技術】
【0002】
従来、対象物に放射線を照射し、当該対象物を透過した放射線の強度分布を検出して放射線画像を撮影する放射線画像撮影装置が知られている。放射線画像撮影装置は、医療分野・産業分野等で広く利用されている。近年、撮影台からの分離・持ち運びを可能とした可搬型(カセッテ型)の放射線画像撮影装置が開発され、実用化されている。このような放射線画像撮影装置は、パネル状をしていることから、FPD(Flat Panel Detector)と呼ばれることがある。FPDは、内部に放射線の強度分布を検出して電荷に変換する放射線検出パネルを備える。
【0003】
放射線画像撮影装置は、放射線検出パネルと画像処理を行う電気回路基板とが可撓性の基板(COF)で接続されている。放射線画像撮影装置は、COF上に設けた読出し素子(ROIC)により、信号値を処理する。
【0004】
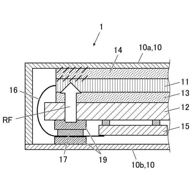
放射線画像撮影装置を用いた放射線撮影には、連携撮影と非連携撮影がある。連携撮影は、放射線照射装置から照射を実行したという信号を受信して行われる撮影である。非連携撮影は、信号を受信することなく放射線が照射されたこと自体を検知して行われる撮影である。放射線画像撮影装置は、非連携撮影の場合、撮影待機状態に遷移した後、放射線が照射されたことを放射線検出パネルに発生する電気信号の変化で検知する。しかしながら、信号の変動は、待機状態で装置に振動が与えられた場合にも発生する。したがって、放射線画像撮影装置は、装置に与えられた振動を放射線照射と間違えて、誤動作することがある。特に、COFと放射線検出パネルの接続部近傍は、振動による影響が大きく、信号値変動が発生しやすい。
【0005】
そこで、特許文献1には、COFと放射線検出パネルの接続部及びその直下にあるROICの周囲に、弾性体等の制振材料を配置した構成が開示されている。特許文献1記載の構成によれば、装置の振動を抑制することができる。
【先行技術文献】
【特許文献】
【0006】
特開2023-003636号公報
【発明の概要】
【発明が解決しようとする課題】
【0007】
ところで、特許文献1記載の構成は、パネル基板が可撓性であり、支持体が発泡材で軽量であるため、振動しやすい。そのため、特許文献1記載の構成は、ROICの周囲に緩衝材を配置して、振動を抑制している。
しかしながら、特許文献1記載の構成は、堅牢性の向上を目的として支持体を金属のような高剛性材料で形成した場合、発泡支持体とは異なる帯域の振動周波数が発生する。この場合、従来の緩衝材では、振動を抑制できないケースがある。
また、支持体のような高剛性材料で形成された平板状の部材は、発生した振動が長期間持続する。したがって、支持体を高剛性材料で形成した構成は、初期の瞬間的な変動をノイズとしてカットしても、持続する振動による信号変化を放射線照射と誤検知するという課題がある。
【0008】
本発明は、放射線検出パネルの振動による電気ノイズを放射線照射と誤検知することを抑制することが可能な放射線画像撮影装置を提供することを目的とする。
【課題を解決するための手段】
【0009】
請求項1に記載の発明は、上記目的を達成するためになされたものであり、
放射線画像撮影装置において、
被写体を透過した放射線を検出して放射線画像情報に変換する放射線検出パネルと、前記放射線検出パネルにより変換された放射線画像情報に基づいて画像を形成する電気回路基板と、第1面に前記放射線検出パネルを、前記第1面と反対側の第2面に前記電気回路基板を、それぞれ支持する支持体と、を備える内部モジュールと、
前記内部モジュールを収納する筐体と、
を備える放射線画像撮影装置であって、
前記放射線検出パネルと前記電気回路基板とを接続するCOFと、
前記COF上に設けられ、前記放射線検出パネルからの信号を読み出すROICと、
を備え、
前記支持体は、高剛性材料で形成され、
前記ROICと前記筐体との間には、粘弾性材料により形成された制振材が設けられていることを特徴とする。
【0010】
請求項2に記載の発明は、請求項1に記載の放射線画像撮影装置において、
前記支持体は、CFRP又は金属で形成されている。
(【0011】以降は省略されています)
この特許をJ-PlatPat(特許庁公式サイト)で参照する
関連特許
個人
採尿及び採便具
24日前
日本精機株式会社
検出装置
18日前
個人
高精度同時多点測定装置
1か月前
個人
アクセサリー型テスター
1か月前
個人
計量機能付き容器
13日前
株式会社ミツトヨ
測定器
1か月前
甲神電機株式会社
電流検出装置
18日前
株式会社カクマル
境界杭
3日前
アズビル株式会社
電磁流量計
1か月前
大成建設株式会社
風洞実験装置
13日前
ローム株式会社
半導体装置
1か月前
個人
システム、装置及び実験方法
1か月前
長崎県
形状計測方法
1か月前
個人
計量具及び計量機能付き容器
13日前
大和製衡株式会社
組合せ計量装置
27日前
ローム株式会社
半導体装置
1か月前
愛知電機株式会社
軸部材の外観検査装置
27日前
個人
非接触による電磁パルスの測定方法
16日前
双庸電子株式会社
誤配線検査装置
19日前
愛知時計電機株式会社
ガスメータ
1か月前
日本特殊陶業株式会社
ガスセンサ
11日前
大和製衡株式会社
組合せ計量装置
27日前
日本信号株式会社
距離画像センサ
16日前
株式会社デンソー
電流センサ
1か月前
トヨタ自動車株式会社
測定システム
1か月前
日東精工株式会社
振動波形検査装置
19日前
キーコム株式会社
画像作成システム
3日前
株式会社不二越
X線測定装置
16日前
日本特殊陶業株式会社
センサ
1か月前
個人
液位検視及び品質監視システム
11日前
株式会社エルメックス
希釈液収容容器
13日前
理研計器株式会社
ガス検知装置
3日前
株式会社マグネア
磁界検出素子
16日前
アンリツ株式会社
X線検査装置
1か月前
コイト電工株式会社
座席濡れ検知装置
1か月前
株式会社電巧社
試験装置及び試験方法
19日前
続きを見る
他の特許を見る