TOP
|
特許
|
意匠
|
商標
特許ウォッチ
Twitter
他の特許を見る
10個以上の画像は省略されています。
公開番号
2025159525
公報種別
公開特許公報(A)
公開日
2025-10-21
出願番号
2024062154
出願日
2024-04-08
発明の名称
放射線画像撮影装置
出願人
コニカミノルタ株式会社
代理人
弁理士法人光陽国際特許事務所
主分類
G01T
7/00 20060101AFI20251014BHJP(測定;試験)
要約
【課題】静電気放電による悪影響を抑制することが可能な放射線画像撮影装置を提供する。
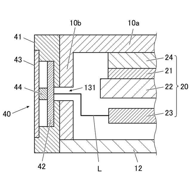
【解決手段】被写体を透過した放射線を検出して放射線画像情報に変換する放射線検出パネル21と、放射線検出パネル21により変換された放射線画像情報に基づいて画像を形成する電気回路(制御基板23)と、放射線検出パネル21及び電気回路を収納する筐体10と、を備える。筐体10には、基板42を備える操作部40が取り付けられる。操作部40の基板42と筐体10との間は、絶縁体で絶縁されている。
【選択図】図2
特許請求の範囲
【請求項1】
被写体を透過した放射線を検出して放射線画像情報に変換する放射線検出パネルと、
前記放射線検出パネルにより変換された放射線画像情報に基づいて画像を形成する電気回路と、
前記放射線検出パネル及び前記電気回路を収納する筐体と、
を備え、
前記筐体には、基板を備える操作部が取り付けられ、
前記操作部の基板と前記筐体との間は、絶縁体で絶縁されていることを特徴とする放射線画像撮影装置。
続きを表示(約 700 文字)
【請求項2】
前記操作部は、前記筐体と係合し、前記基板を取り付け可能な枠部を備え、
前記枠部は、絶縁体で構成されていることを特徴とする請求項1に記載の放射線画像撮影装置。
【請求項3】
前記操作部は、さらに、スイッチと、表示部と、を備えることを特徴とする請求項1に記載の放射線画像撮影装置。
【請求項4】
前記操作部は、複数備えられ、
スイッチと表示部とは、それぞれ異なる前記操作部に分離して備えられていることを特徴とする請求項1に記載の放射線画像撮影装置。
【請求項5】
前記表示部による表示内容を音声出力する音声出力部を備えることを特徴とする請求項3に記載の放射線画像撮影装置。
【請求項6】
前記操作部は、前記筐体の外面に露出している部分が絶縁体で構成されていることを特徴とする請求項1に記載の放射線画像撮影装置。
【請求項7】
前記操作部は、前記筐体の側面に取り付けられることを特徴とする請求項1に記載の放射線画像撮影装置。
【請求項8】
前記操作部は、前記筐体の背面に取り付けられることを特徴とする請求項1に記載の放射線画像撮影装置。
【請求項9】
前記操作部は、前記筐体の側面と背面の間に形成された傾斜面に取り付けられることを特徴とする請求項1に記載の放射線画像撮影装置。
【請求項10】
前記操作部は、前記筐体の内面に取り付けられることを特徴とする請求項1に記載の放射線画像撮影装置。
(【請求項11】以降は省略されています)
発明の詳細な説明
【技術分野】
【0001】
本発明は、放射線画像撮影装置に関する。
続きを表示(約 1,700 文字)
【背景技術】
【0002】
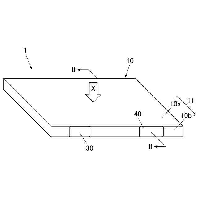
従来、対象物に放射線を照射し、当該対象物を透過した放射線の強度分布を検出して放射線画像を撮影する放射線画像撮影装置が知られている。放射線画像撮影装置は、医療分野・産業分野等で広く利用されている。近年、撮影台からの分離・持ち運びを可能とした可搬型(カセッテ型)の放射線画像撮影装置が開発され、実用化されている。このような放射線画像撮影装置は、パネル状をしていることから、FPD(Flat Panel Detector)と呼ばれることがある。FPDは、内部に放射線を検出する放射線検出パネルを備える。
【0003】
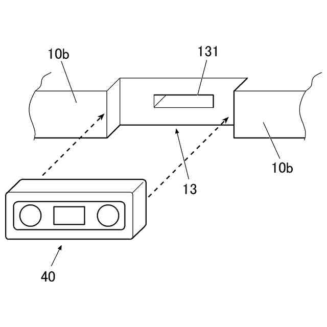
可搬型のFPDは、使用者が持ち運んで病棟のベッドと患者の間に挿入しX線撮影を行うポータブル撮影での運用が行われる場合がある。可搬型のFPDは、ポータブル撮影の場合、状況によってはいわゆる二辺支持曲げ状態となることがある。二辺支持曲げ状態は、FPDの対向する二辺で支持しながら中央近辺に荷重がかかる状態である。
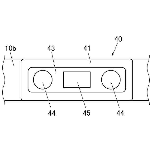
また、FPDには、電源のオンオフ操作や外部機器との連携操作に用いられる操作部が設けられている。さらに、操作部には、電源や連携の状態を表示するための表示部が設けられることもある。操作部は、筐体を切り欠いて設けられているため、他の部分に比べて強度が劣る。そのため、可搬型のFPDは、二辺支持曲げ状態となると、操作部に曲げ応力が集中することとなる。
また、可搬型のFPDは、ベッド等との摩擦で電荷が溜まっていたり、使用者や患者に電荷が溜まっていたりした場合、静電気の放電が生じることがある。
【0004】
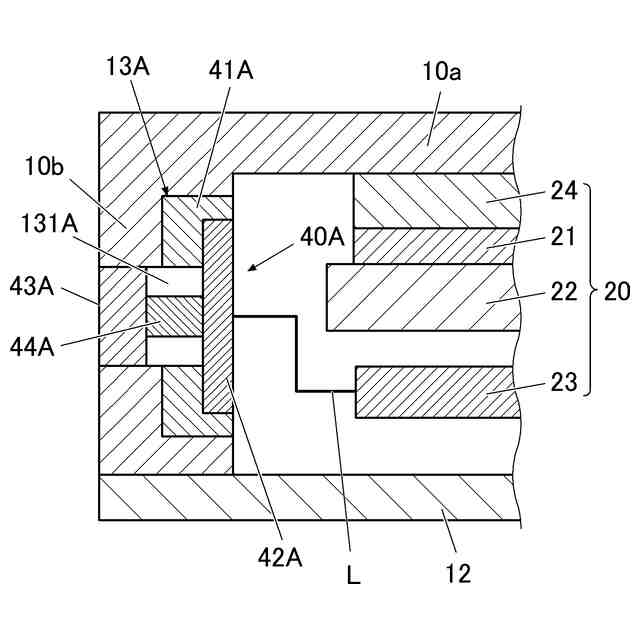
そこで、特許文献1には、操作部の少なくとも一部を鉄やアルミ等の金属で形成し、変形や破損を抑制する構成が開示されている。特許文献1の構成は、操作部の一部を金属とし、筐体と接触又はネジ等を介して導通させている。これにより、操作部に放電された電荷が筐体を通じてグラウンドへと放出される。
【先行技術文献】
【特許文献】
【0005】
特開2022-143666号公報
【発明の概要】
【発明が解決しようとする課題】
【0006】
しかしながら、特許文献1記載の構成は、静電気放電の電圧が大きいと、電荷が筐体のみならず近傍の電気回路や画像検出素子に流れて影響が及ぶことがある。
また、操作部のボタンや表示部は、操作部基板から配線を通じて内部の電気基板に接続されているため、筐体の放電による大きな電圧変動が電気基板に伝わってしまう。電気基板は、放電による大きな電圧変動が伝わると、破壊される又は破壊されないまでも大きなノイズとなり画像不良や誤動作の原因となるおそれがある。
【0007】
本発明は、静電気放電による悪影響を抑制することが可能な放射線画像撮影装置を提供することを目的とする。
【課題を解決するための手段】
【0008】
請求項1に記載の発明は、上記目的を達成するためになされたものであり、
放射線画像撮影装置において、
被写体を透過した放射線を検出して放射線画像情報に変換する放射線検出パネルと、
前記放射線検出パネルにより変換された放射線画像情報に基づいて画像を形成する電気回路と、
前記放射線検出パネル及び前記電気回路を収納する筐体と、
を備え、
前記筐体には、基板を備える操作部が取り付けられ、
前記操作部の基板と前記筐体との間は、絶縁体で絶縁されていることを特徴とする。
【0009】
請求項2に記載の発明は、請求項1に記載の放射線画像撮影装置において、
前記操作部は、前記筐体と係合し、前記基板を取り付け可能な枠部を備え、
前記枠部は、絶縁体で構成されていることを特徴とする。
【0010】
請求項3に記載の発明は、請求項1に記載の放射線画像撮影装置において、
前記操作部は、さらに、スイッチと、表示部と、を備えることを特徴とする。
(【0011】以降は省略されています)
この特許をJ-PlatPat(特許庁公式サイト)で参照する
関連特許
コニカミノルタ株式会社
緩衝材
17日前
コニカミノルタ株式会社
パレット
25日前
コニカミノルタ株式会社
光計測装置
4日前
コニカミノルタ株式会社
画像形成装置
18日前
コニカミノルタ株式会社
画像形成方法
27日前
コニカミノルタ株式会社
情報処理装置
20日前
コニカミノルタ株式会社
画像形成装置
20日前
コニカミノルタ株式会社
液滴吐出装置
12日前
コニカミノルタ株式会社
画像形成装置
10日前
コニカミノルタ株式会社
超音波診断装置
18日前
コニカミノルタ株式会社
画像形成システム
19日前
コニカミノルタ株式会社
放射線撮影システム
10日前
コニカミノルタ株式会社
放射線画像撮影装置
1か月前
コニカミノルタ株式会社
放射線画像撮影装置
1か月前
コニカミノルタ株式会社
放射線撮影システム
10日前
コニカミノルタ株式会社
画像形成装置、画像形成方法
25日前
コニカミノルタ株式会社
用紙加湿装置及び画像形成システム
28日前
コニカミノルタ株式会社
用紙搬送装置及び画像形成システム
19日前
コニカミノルタ株式会社
画像読取装置及び画像形成システム
4日前
コニカミノルタ株式会社
トナー収容容器および画像形成装置
4日前
コニカミノルタ株式会社
抗菌剤塗布装置および画像形成装置
17日前
コニカミノルタ株式会社
開発システムおよび学習管理システム
17日前
コニカミノルタ株式会社
画像形成装置、補正方法及びプログラム
25日前
コニカミノルタ株式会社
画像形成装置、制御方法及びプログラム
4日前
コニカミノルタ株式会社
定着部材、定着装置および画像形成装置
18日前
コニカミノルタ株式会社
医療用検査装置、および医療用検査方法
17日前
コニカミノルタ株式会社
仲介システム、仲介方法及びプログラム
17日前
コニカミノルタ株式会社
インクジェット記録装置及びプログラム
12日前
コニカミノルタ株式会社
定着部材、定着装置および画像形成装置
26日前
コニカミノルタ株式会社
抽出装置、抽出方法および抽出プログラム
25日前
コニカミノルタ株式会社
動態画像解析装置、方法、及びプログラム。
10日前
コニカミノルタ株式会社
動態画像解析装置、方法、及びプログラム。
10日前
コニカミノルタ株式会社
インクジェット記録装置及びノズル面清掃方法
1か月前
コニカミノルタ株式会社
ブラシ、ブラシの製造方法および画像形成装置
18日前
コニカミノルタ株式会社
ブラシ、ブラシの製造方法および画像形成装置
18日前
コニカミノルタ株式会社
画像形成装置、測色方法、および測色プログラム
1か月前
続きを見る
他の特許を見る