TOP
|
特許
|
意匠
|
商標
特許ウォッチ
Twitter
他の特許を見る
10個以上の画像は省略されています。
公開番号
2025159751
公報種別
公開特許公報(A)
公開日
2025-10-22
出願番号
2024062476
出願日
2024-04-09
発明の名称
放射線画像撮影装置
出願人
コニカミノルタ株式会社
代理人
弁理士法人光陽国際特許事務所
主分類
G01T
7/00 20060101AFI20251015BHJP(測定;試験)
要約
【課題】画像ムラの発生を抑制するとともに、放射線検出部の破損を防止できるようにする。
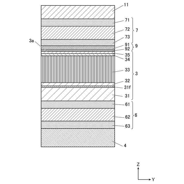
【解決手段】放射線画像撮影装置100は、放射線が照射される照射部位(前面部11)を有する筐体110と、放射線を検出する放射線検出部3と、放射線検出部3を保持する金属製の保持基台4と、を含む内部モジュール120と、内部モジュール120より低い曲げ剛性を有しており、内部モジュール120と照射部位との間に配設された剥離補助部材9と、を備える。放射線検出部3は、シンチレーター33と、受光素子(光電変換素子31f)及び受光素子からの電気信号を読み出す配線(信号線31c)が形成された受光面(表面31a)を有する光検出部と、光検出部を支持する支持体(素子基板31)と、を含む。剥離補助部材9は、内部モジュール120の照射部位側の全面に設けられており、接着部材(第2接着部材7)により照射部位の内面に剥離可能に固定されている。
【選択図】図2
特許請求の範囲
【請求項1】
放射線が照射される照射部位を有する筐体と、
放射線を検出する放射線検出部と、前記放射線検出部を保持する金属製の保持基台と、を含む内部モジュールと、
前記内部モジュールより低い曲げ剛性を有しており、前記内部モジュールと前記照射部位との間に配設された剥離補助部材と、
を備え、
前記放射線検出部は、シンチレーターと、受光素子及び前記受光素子からの電気信号を読み出す配線が形成された受光面を有する光検出部と、前記光検出部を支持する支持体と、を含み、
前記剥離補助部材は、前記内部モジュールの前記照射部位側の全面に設けられており、接着部材により前記照射部位の内面に剥離可能に固定された放射線画像撮影装置。
続きを表示(約 1,400 文字)
【請求項2】
放射線が照射される照射部位を有する筐体と、
接着部材により前記照射部位の内面に剥離可能に固定されて放射線を検出する放射線検出部と、前記放射線検出部を保持する金属製の保持基台と、を含む内部モジュールと、
前記内部モジュールと前記照射部位との間に配設された剥離補助部材と、
を備え、
前記放射線検出部は、シンチレーターと、受光素子及び前記受光素子からの電気信号を読み出す配線が形成された受光面を有する光検出部と、前記光検出部を支持する支持体と、を含み、
前記剥離補助部材は、前記内部モジュールの前記照射部位側の面の一部分に設けられており、
前記剥離補助部材の厚さは、前記接着部材の厚さよりも薄い放射線画像撮影装置。
【請求項3】
放射線が照射される照射部位を有する筐体と、
接着部材により前記照射部位の内面に剥離可能に固定されて放射線を検出する放射線検出部と、前記放射線検出部を保持する金属製の保持基台と、を含む内部モジュールと、
前記内部モジュールと前記照射部位との間に配設された剥離補助部材と、
を備え、
前記放射線検出部は、シンチレーターと、受光素子及び前記受光素子からの電気信号を読み出す配線が形成された受光面を有する光検出部と、前記光検出部を支持するガラス製の支持体と、を含み、
前記剥離補助部材は、前記内部モジュールの前記照射部位側の面の一部分に設けられており、
前記剥離補助部材の厚さは、前記支持体の厚さの半分よりも薄い放射線画像撮影装置。
【請求項4】
放射線が照射される照射部位を有する筐体と、
接着部材により前記照射部位の内面に剥離可能に固定されて放射線を検出する放射線検出部と、前記放射線検出部を保持する金属製の保持基台と、を含む内部モジュールと、
前記内部モジュールと前記照射部位との間に配設された剥離補助部材と、
を備え、
前記放射線検出部は、シンチレーターと、受光素子及び前記受光素子からの電気信号を読み出す配線が形成された受光面を有する光検出部と、前記光検出部を支持する可撓性を有する支持体と、を含み、
前記剥離補助部材は、前記内部モジュールの前記照射部位側の面の一部分に設けられており、
前記剥離補助部材の厚さは、前記放射線検出部の厚さの半分よりも薄い放射線画像撮影装置。
【請求項5】
放射線が照射される照射部位を有する筐体と、
接着部材により前記照射部位の内面に剥離可能に固定されて放射線を検出する放射線検出部と、前記放射線検出部を保持する金属製の保持基台と、を含む内部モジュールと、
前記内部モジュールと前記照射部位との間に配設された剥離補助部材と、
を備え、
前記放射線検出部は、シンチレーターと、受光素子及び前記受光素子からの電気信号を読み出す配線が形成された受光面を有する光検出部と、前記光検出部を支持する支持体と、を含み、
前記剥離補助部材は、前記内部モジュールの前記照射部位側の面の一部分に設けられており、前記内部モジュール上の端部の厚さが前記端部の末端に向かうにつれて、漸減する形状、または段階的に減少する形状である放射線画像撮影装置。
【請求項6】
前記剥離補助部材は、樹脂で形成されたフィルムである請求項1から5のいずれか一項に記載の放射線画像撮影装置。
発明の詳細な説明
【技術分野】
【0001】
本発明は、放射線画像撮影装置に関する。
続きを表示(約 2,600 文字)
【背景技術】
【0002】
近年、撮影台からの分離及び持ち運びを可能とした可搬型(カセッテ型等ともいう。)の放射線画像撮影装置が開発され、実用化されている。このような放射線画像撮影装置は、パネル状をしていることから、FPD(Flat Panel Detector)と呼ばれることがある。
【0003】
FPDは、内部に、放射線を検出する放射線検出部と、放射線検出部を保持する保持基台とを含む内部モジュールを備える。内部モジュールは、FPDの筐体に貼り付けられている。
FPDにおいて内部モジュールまたは筐体を交換可能にする場合、FPDは、内部モジュールと筐体を剥離するための剥離補助部材を備える(例えば、特許文献1、特許文献2)。
【先行技術文献】
【特許文献】
【0004】
特開2022-129074号公報
特許第5647581号公報
【発明の概要】
【発明が解決しようとする課題】
【0005】
剥離補助部材を以下の理由により、FPDの前後方向において放射線検出部の一部分と重なる位置に設ける場合がある。放射線検出部の一部分と重なる位置は、例えば、放射線検出部における有効画像領域(撮影画像に映り込む領域)である。当該理由は、内部モジュールと筐体の剥離時において、剥離補助部材が放射線検出部から引き抜けないようにするために、剥離補助部材と放射線検出部の層間には十分なせん断接着力を持たせるための貼り付け面積が必要であるためである。当該貼り付け面積は、剥離したい界面の粘着力と、剥離補助部材に用いる粘着材の粘着力によって決定される。
剥離補助部材をFPDの前後方向において放射線検出部の一部分と重なる位置に設けた場合であって、且つFPDの剛性を保つために保持基台を金属により形成する場合、以下の問題が発生する可能性がある。具体的には、FPDの筐体の前面部に荷重がかかると、剥離補助部材により放射線検出部が局所的に撓むが、金属製の保持基台は剛性が高いために当該放射線検出部の撓みを吸収することができない。その結果、放射線検出部に撓みによる局所的な段差が生じることにより、FPDで生成される画像に乱れ(画像ムラ)が発生する。放射線検出部において局所的な撓みが繰り返し発生すると、放射線検出部が破損する可能性がある。
【0006】
本発明は、上記課題に鑑みてなされたものであり、画像ムラの発生を抑制するとともに、放射線検出部の破損を防止できる放射線画像撮影装置を提供することを目的とする。
【課題を解決するための手段】
【0007】
上記課題を解決するため、請求項1に記載の発明の放射線撮画像影装置は、
放射線が照射される照射部位を有する筐体と、
放射線を検出する放射線検出部と、前記放射線検出部を保持する金属製の保持基台と、を含む内部モジュールと、
前記内部モジュールより低い曲げ剛性を有しており、前記内部モジュールと前記照射部位との間に配設された剥離補助部材と、
を備え、
前記放射線検出部は、シンチレーターと、受光素子及び前記受光素子からの電気信号を読み出す配線が形成された受光面を有する光検出部と、前記光検出部を支持する支持体と、を含み、
前記剥離補助部材は、前記内部モジュールの前記照射部位側の全面に設けられており、接着部材により前記照射部位の内面に剥離可能に固定されている。
【0008】
請求項2に記載の発明の放射線撮画像影装置は、
放射線が照射される照射部位を有する筐体と、
接着部材により前記照射部位の内面に剥離可能に固定されて放射線を検出する放射線検出部と、前記放射線検出部を保持する金属製の保持基台と、を含む内部モジュールと、
前記内部モジュールと前記照射部位との間に配設された剥離補助部材と、
を備え、
前記放射線検出部は、シンチレーターと、受光素子及び前記受光素子からの電気信号を読み出す配線が形成された受光面を有する光検出部と、前記光検出部を支持する支持体と、を含み、
前記剥離補助部材は、前記内部モジュールの前記照射部位側の面の一部分に設けられており、
前記剥離補助部材の厚さは、前記接着部材の厚さよりも薄い。
【0009】
請求項3に記載の発明の放射線撮画像影装置は、
放射線が照射される照射部位を有する筐体と、
接着部材により前記照射部位の内面に剥離可能に固定されて放射線を検出する放射線検出部と、前記放射線検出部を保持する金属製の保持基台と、を含む内部モジュールと、
前記内部モジュールと前記照射部位との間に配設された剥離補助部材と、
を備え、
前記放射線検出部は、シンチレーターと、受光素子及び前記受光素子からの電気信号を読み出す配線が形成された受光面を有する光検出部と、前記光検出部を支持するガラス製の支持体と、を含み、
前記剥離補助部材は、前記内部モジュールの前記照射部位側の面の一部分に設けられており、
前記剥離補助部材の厚さは、前記支持体の厚さの半分よりも薄い。
【0010】
請求項4に記載の発明の放射線撮画像影装置は、
放射線が照射される照射部位を有する筐体と、
接着部材により前記照射部位の内面に剥離可能に固定されて放射線を検出する放射線検出部と、前記放射線検出部を保持する金属製の保持基台と、を含む内部モジュールと、
前記内部モジュールと前記照射部位との間に配設された剥離補助部材と、
を備え、
前記放射線検出部は、シンチレーターと、受光素子及び前記受光素子からの電気信号を読み出す配線が形成された受光面を有する光検出部と、前記光検出部を支持する可撓性を有する支持体と、を含み、
前記剥離補助部材は、前記内部モジュールの前記照射部位側の面の一部分に設けられており、
前記剥離補助部材の厚さは、前記放射線検出部の厚さの半分よりも薄い。
(【0011】以降は省略されています)
この特許をJ-PlatPat(特許庁公式サイト)で参照する
関連特許
コニカミノルタ株式会社
緩衝材
17日前
コニカミノルタ株式会社
光計測装置
4日前
コニカミノルタ株式会社
情報処理装置
20日前
コニカミノルタ株式会社
画像形成装置
20日前
コニカミノルタ株式会社
画像形成装置
18日前
コニカミノルタ株式会社
液滴吐出装置
12日前
コニカミノルタ株式会社
画像形成装置
10日前
コニカミノルタ株式会社
超音波診断装置
18日前
コニカミノルタ株式会社
画像形成システム
19日前
コニカミノルタ株式会社
放射線撮影システム
10日前
コニカミノルタ株式会社
放射線撮影システム
10日前
コニカミノルタ株式会社
画像読取装置及び画像形成システム
4日前
コニカミノルタ株式会社
抗菌剤塗布装置および画像形成装置
17日前
コニカミノルタ株式会社
トナー収容容器および画像形成装置
4日前
コニカミノルタ株式会社
用紙搬送装置及び画像形成システム
19日前
コニカミノルタ株式会社
開発システムおよび学習管理システム
17日前
コニカミノルタ株式会社
定着部材、定着装置および画像形成装置
18日前
コニカミノルタ株式会社
医療用検査装置、および医療用検査方法
17日前
コニカミノルタ株式会社
仲介システム、仲介方法及びプログラム
17日前
コニカミノルタ株式会社
インクジェット記録装置及びプログラム
12日前
コニカミノルタ株式会社
画像形成装置、制御方法及びプログラム
4日前
コニカミノルタ株式会社
動態画像解析装置、方法、及びプログラム。
10日前
コニカミノルタ株式会社
動態画像解析装置、方法、及びプログラム。
10日前
コニカミノルタ株式会社
ブラシ、ブラシの製造方法および画像形成装置
18日前
コニカミノルタ株式会社
ブラシ、ブラシの製造方法および画像形成装置
18日前
コニカミノルタ株式会社
情報処理装置、情報表示システム及びプログラム
4日前
コニカミノルタ株式会社
画像形成装置、キャリア排出方法及びプログラム
20日前
コニカミノルタ株式会社
プログラム、情報処理システム及び情報処理方法
10日前
コニカミノルタ株式会社
断裁装置、画像形成システム及び断裁位置決定方法
4日前
コニカミノルタ株式会社
インクジェットヘッド及びインクジェット記録装置
17日前
コニカミノルタ株式会社
放射線画像処理装置及び放射線画像処理プログラム
10日前
コニカミノルタ株式会社
シート処理装置、画像形成システム、及び制御方法
19日前
コニカミノルタ株式会社
ミシン目形成機、用紙処理装置及び画像形成システム
19日前
コニカミノルタ株式会社
術前支援装置、術前支援方法及び術前支援プログラム
20日前
コニカミノルタ株式会社
移動型放射線撮影装置、プログラム、及び動画撮影方法
17日前
コニカミノルタ株式会社
移動型放射線撮影装置、プログラム、及び動画撮影方法
17日前
続きを見る
他の特許を見る