TOP
|
特許
|
意匠
|
商標
特許ウォッチ
Twitter
他の特許を見る
10個以上の画像は省略されています。
公開番号
2025165542
公報種別
公開特許公報(A)
公開日
2025-11-05
出願番号
2024069651
出願日
2024-04-23
発明の名称
ミシン目形成機、用紙処理装置及び画像形成システム
出願人
コニカミノルタ株式会社
代理人
弁理士法人光陽国際特許事務所
主分類
B26F
1/18 20060101AFI20251028BHJP(切断手工具;切断;切断機)
要約
【課題】ミシン刃の耐久性の低下を回避しつつ用紙の種類を問わずに用紙にミシン目を形成可能とする。
【解決手段】ミシン目形成機(ミシン目形成ユニット20)は、ミシン刃31aを備えた刃物31と、刃物31を受ける下受け台41と、によって、用紙Pにミシン目を形成可能な加工機21を備える。加工機21は、刃物31を下受け台41に向けて付勢する付勢機構(圧縮ばね38)を備え、刃物31を付勢機構の付勢力により下受け台41に圧着可能とする状態と、刃物31を付勢機構の付勢力に抗して下受け台41から離間させる状態とを形成するカム55と、このカム55により刃物31を下受け台41に向けて押圧可能とする押圧部(追い打ちガイド片60)と、を備え、ミシン刃31aが用紙Pを介して下受け台41から離れている場合に、カム55を押圧部に当接させてミシン刃31aを用紙Pに貫通させる高さまで押し下げる。
【選択図】 図15C
特許請求の範囲
【請求項1】
ミシン刃を備えた刃物と、前記刃物を受ける受け台と、によって、これらの間に搬送される用紙にミシン目を形成可能とする加工機を備えたミシン目形成機であって、
前記刃物を前記受け台に向けて常時付勢する付勢機構と、
前記刃物を前記付勢機構の付勢力で前記受け台に圧着可能とする状態と前記刃物を前記付勢機構の付勢力に抗して前記受け台から離間させる状態とを形成するカムと、を備え、
前記ミシン刃が前記用紙を介して前記受け台から離れている状態で前記カムの移動軌跡内に配置されると共に、前記刃物を前記受け台に向けて押圧可能とする押圧部を設け、
前記ミシン刃が前記用紙を介して前記受け台から離れている場合に、前記カムを前記押圧部に当接させて前記刃物を前記受け台に向けて変位させることで前記ミシン刃を前記用紙に貫通させる高さまで押し下げるミシン目形成機。
続きを表示(約 720 文字)
【請求項2】
前記刃物を保持すると共に前記押圧部を備えた保持部材を備え、
前記付勢機構は、前記保持部材を付勢部材によって付勢することで、前記刃物を前記受け台に向けて常時付勢する請求項1に記載のミシン目形成機。
【請求項3】
前記保持部材は、前記刃物を保持する部位から離れた位置に配置された支点を中心に回動可能であり、前記押圧部は、前記保持部材の前記刃物を保持する部位に対して前記支点とは反対側に配置されている請求項2記載のミシン目形成機。
【請求項4】
前記刃物は、ロータリ式である請求項2記載のミシン目形成機。
【請求項5】
前記刃物は、これと同軸をなして隣接する環状のゴムローラを有し、前記刃物と前記受け台との間に搬送される用紙を前記ゴムローラに当接させることによって回転される請求項4記載のミシン目形成機。
【請求項6】
前記刃物は、ギロチン式である請求項2記載のミシン目形成機。
【請求項7】
前記ミシン目の形成方向は、前記用紙の搬送方向と平行な方向である請求項2記載のミシン目形成機。
【請求項8】
前記ミシン目の形成方向は、前記用紙の搬送方向と直交する方向である請求項2記載のミシン目形成機。
【請求項9】
請求項1乃至8のいずれかに記載のミシン目形成機が機能別ユニットの1つとして着脱可能に装着される用紙処理装置。
【請求項10】
用紙に画像を形成する画像形成装置と、前記画像形成装置により画像が形成された用紙にミシン目を形成する請求項9に記載の用紙処理装置と、備える画像形成システム。
発明の詳細な説明
【技術分野】
【0001】
本発明は、ミシン目形成機、用紙処理装置、及び画像形成システムに関する。
続きを表示(約 3,200 文字)
【背景技術】
【0002】
画像形成装置によって画像が形成された用紙に対して断裁等の後処理が施される。この断裁処理に加えてミシン目を付与することで、商材の用途が多用となり付加価値が高くなる。
従来、シート材の必要箇所にミシン目を形成可能とする用紙処理装置(シート材加工機)が公知となっている(特許文献1参照)。そのミシン目を付与する機構は、ミシン刃を備えた刃物を支持部材に回転可能に支持する。この刃物のミシン刃は、所定の押圧力で受け台に常時付勢されている。受け台には、ミシン刃を挿入可能とする溝が形成されている。したがって、ミシン刃と受け台の間に用紙を搬送させることで、ミシン刃を用紙に貫通させ、ミシン刃又は用紙を処理方向に動かすことでミシン目が付与される。
【先行技術文献】
【特許文献】
【0003】
特許6111401号公報
【発明の概要】
【発明が解決しようとする課題】
【0004】
ところで、ミシン目を形成するためには、ミシン刃を用紙に押し当てて貫通させる必要があるが、ミシン刃を用紙に押し当てる際に刃先の腹部から当接する場合がある。例えば、用紙の途中からミシン目を形成するためにミシン刃を用紙に押し当てる場合は、刃先の腹部から用紙に当たりやすい。また、ギロチン式の刃物にあっては、ミシン刃の刃先の腹部から用紙に当接する。
刃先の腹部から用紙に当接する場合は、刃先の角部から用紙に当接する場合と比較して、より高い押圧力が必要となる。このため、用紙の表面硬度が高くなると、ミシン刃が刃先の腹部から用紙に当接した場合には、ミシン刃が用紙を貫通できず、ミシン目が形成されない不都合が生じる。
【0005】
このような不都合に対処するため、ミシン刃を押し付ける付勢力を大きくし、また、ミシン刃の刃先をより鋭角にして切れ味を向上させる手法も可能である。しかし、これらの手法を採用すると、ミシン刃の耐久性が低下する不都合がある。
【0006】
本発明は係る事情に鑑みてなされたもので、ミシン刃の耐久性の低下を回避しつつ、用紙の種類を問わずに用紙にミシン目を形成可能なミシン目形成機、これを装着した用紙処理装置、及びこの用紙処理装置を備えた画像形成システムを提供することを課題とする。
【課題を解決するための手段】
【0007】
上記課題を達成するために、本発明に係るミシン目形成機は、ミシン刃を備えた刃物と、前記刃物を受ける受け台と、によって、これらの間に搬送される用紙にミシン目を形成可能とする加工機を備えたミシン目形成機であって、
前記刃物を前記受け台に向けて常時付勢する付勢機構と、
前記刃物を前記付勢機構の付勢力で前記受け台に圧着可能とする状態と前記刃物を前記付勢機構の付勢力に抗して前記受け台から離間させる状態とを形成するカムと、を備え、
前記ミシン刃が前記用紙を介して前記受け台から離れている状態で前記カムの移動軌跡内に配置されると共に、前記刃物を前記受け台に向けて押圧可能とする押圧部を設け、
前記ミシン刃が前記用紙を介して前記受け台から離れている場合に、前記カムを前記押圧部に当接させて前記刃物を前記受け台に向けて変位させることで前記ミシン刃を前記用紙に貫通させる高さまで押し下げるものである。
【0008】
用紙の表面硬度が高く、刃物に付与される付勢機構の付勢力だけではミシン刃が用紙を貫通しない場合には、ミシン刃が用紙を介して受け台から離れた状態となる。このような場合には、押圧部にカムが当接することによってミシン刃が強制的に押し下げられ、用紙を貫通することになる。このため、表面硬度が高い用紙に対しても、必要とするミシン目を形成することが可能となる。
【発明の効果】
【0009】
以上の構成によれば、ミシン刃の耐久性の低下を回避しつつ、用紙の種類を問わず用紙にミシン目を形成可能なミシン目形成機、用紙処理装置および画像形成システムを提供することが可能となる。
【図面の簡単な説明】
【0010】
本発明の実施形態によって提供される利点および特徴は、例示として記載され、本発明を限定することを意図していない以下に示す詳細な説明および添付図面からより完全に理解されよう。
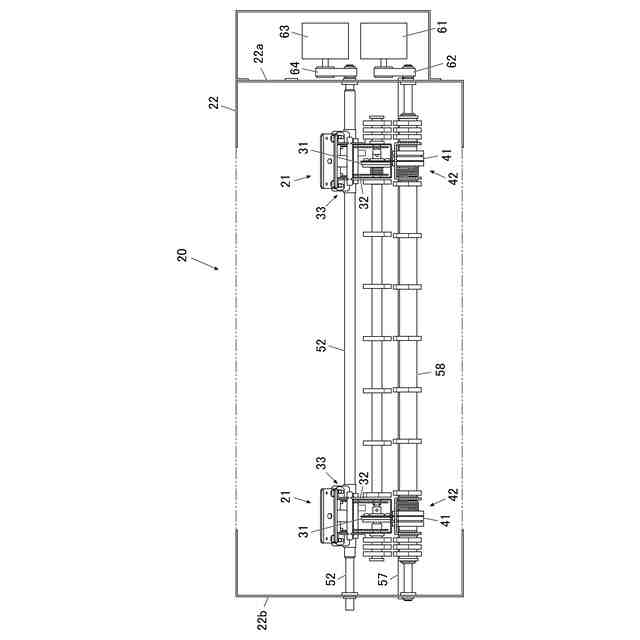
本実施形態に係る画像形成システムの概略構成を示す図である。
本実施形態に係る画像形成システムの制御構造を示す機能ブロック図である。
本実施形態に係るミシン目形成ユニット(FDミシン)の概略構成を示す図であり、用紙の搬送方向上流側から見て刃物や下受け台が見えるように切断した断面図である。
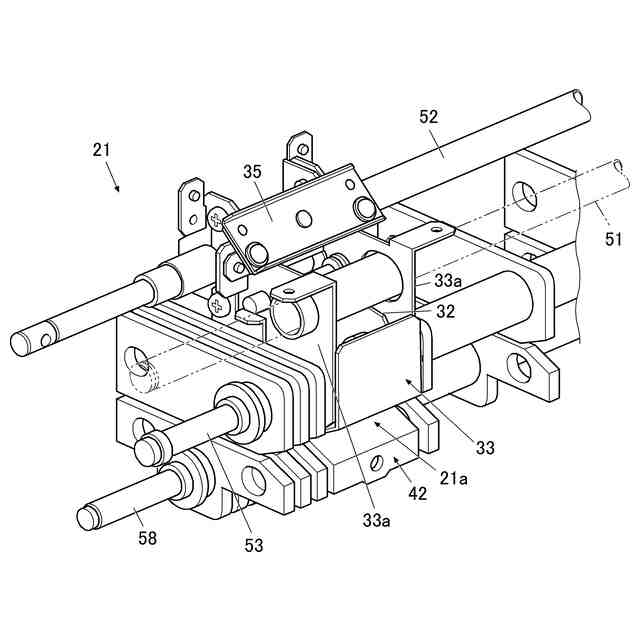
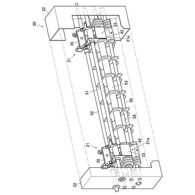
本実施形態に係るミシン目形成ユニットの内部の概略構成を用紙の搬送方向上流側から見た斜視図である。
図4で示すミシン目形成ユニット内に設置された下ガイド部材の概略構成を用紙の搬送方向上流側から見た斜視図である。
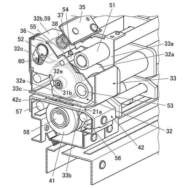
本実施形態に係るミシン目を形成する加工機を示す斜視図である。
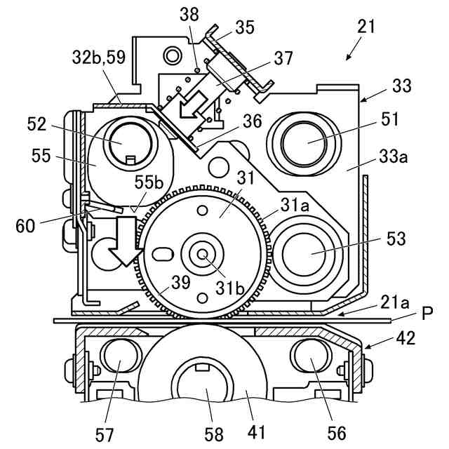
本実施形態に係るミシン目を形成する加工機を正面から見た一部切り欠きの断面図である。
本実施形態に係るミシン目を形成する加工機において、上ガイド部材と下ガイド部材の一部を切り欠いて内部構造が見える状態にした斜視図である。
本実施形態に係るミシン目を形成する加工機において、図7のA-A線で切断した側断面図である。
本実施形態に係るミシン目を形成する加工機において、上ガイド部材、下ガイド部材、及び刃物保持部材の一部を切り欠いて内部構造が見える状態にした斜視図であり、用紙の搬送方向にミシン目を形成するために用紙を搬送路に挿入する場合を示す図である。
本実施形態に用いられるロータリ式の刃物を、回転軸に固装された刃物設置部材に設置した状態を示す正面図(用紙の搬送方向から見た図)である。
図11Aを右側から見た側面図である。
図11Aを左側から見た側面図である。
刃物と下受け台との関係を説明する側面図である。
刃物のミシン目と下受け台の溝部との関係を説明する断面図である。
本実施形態に係る加工機の刃物保持部材の動きを説明する図であり、刃物のミシン目が用紙を貫通した状態を示す側面図である。
本実施形態に係る加工機の刃物保持部材の動きを説明する図であり、刃物のミシン目が用紙の表面に停留している状態を示す側面図である。
表面硬度が低い用紙にミシン目を形成する場合において、刃物を下受け台から離間させた状態を示す図である。
表面硬度が低い用紙にミシン目を形成する場合において、刃物を下受け台に向けて付勢部材(圧縮ばね)の付勢力のみで付勢した状態を示す図である。
表面硬度が高い用紙にミシン目を形成する場合において、刃物を下受け台から離間させた状態を示す図である。
表面硬度が高い用紙にミシン目を形成する場合において、刃物を下受け台に向けて付勢部材(圧縮ばね)の付勢力のみで付勢した状態を示す図である。
表面硬度が高い用紙にミシン目を形成する場合において、カムで押圧部(追い打ちガイド片)を押圧した状態を示す図である。
用紙の搬送方向と直交する方向にミシン目を形成する加工機に刃物を強制的に押圧するカムと押圧部(追い打ちガイド片)を設けた例を示す斜視図である。
刃物をギロチン式とした場合の概略構成を示す図である。
刃物をギロチン式とした場合の加工機の概略構成を示す図である。
【発明を実施するための形態】
(【0011】以降は省略されています)
この特許をJ-PlatPat(特許庁公式サイト)で参照する
関連特許
個人
曲線カッター
1か月前
個人
ハサミ
4か月前
個人
円弧状刃の包丁
7か月前
有限会社カルチエ
ナイフ
11か月前
個人
理美容はさみ
4か月前
個人
折り畳みナイフ
10か月前
株式会社サボテン
鋏
6か月前
個人
2wayコーナーパンチ
9か月前
コクヨ株式会社
ハサミ
11か月前
福善刃物工業株式会社
鋏
4日前
株式会社和田機械
栗切り機の刃物
2か月前
株式会社文創
切創抑制器具
11か月前
個人
自動曲機とそれに使用する刃物
1か月前
個人
自動曲機とそれに使用する刃物
1か月前
やおき工業株式会社
鋏
4か月前
株式会社フタミ
表面処理装置
6か月前
個人
梳き鋏及び梳き鋏使用方法
1か月前
トヨタ自動車株式会社
切断装置
10か月前
大創株式会社
打抜き部受支装置
11か月前
デュプロ精工株式会社
加工装置
4か月前
株式会社日本キャリア工業
食料切断装置
5か月前
船井電機株式会社
電動器具
3か月前
株式会社日本キャリア工業
食料切断装置
5か月前
株式会社日本キャリア工業
食料切断装置
5か月前
株式会社日本キャリア工業
食料切断装置
5か月前
独立行政法人 国立印刷局
打ち抜き装置
2か月前
株式会社日本キャリア工業
食料切断装置
5か月前
株式会社日本キャリア工業
食料切断装置
9か月前
株式会社日本キャリア工業
食料切断装置
6か月前
鈴茂器工株式会社
棒状食材切断装置
8か月前
デュプロ精工株式会社
用紙積載装置
9か月前
近畿刃物工業株式会社
切断加工用刃物
5か月前
近畿刃物工業株式会社
切断加工用刃物
5か月前
本田技研工業株式会社
切断装置
1か月前
近畿刃物工業株式会社
切断加工用刃物
5か月前
THESTANDBYME合同会社
鋏
4か月前
続きを見る
他の特許を見る