TOP
|
特許
|
意匠
|
商標
特許ウォッチ
Twitter
他の特許を見る
10個以上の画像は省略されています。
公開番号
2025088405
公報種別
公開特許公報(A)
公開日
2025-06-11
出願番号
2023203087
出願日
2023-11-30
発明の名称
食料切断装置
出願人
株式会社日本キャリア工業
代理人
主分類
B26D
1/46 20060101AFI20250604BHJP(切断手工具;切断;切断機)
要約
【課題】取出コンベアを機台から引き出せるようにしつつも、機台のサイズをコンパクトに保つことで、コストの削減を図る。
【解決手段】塊状食料から食料片を切り出す切断部と、切断部により切り出された食料片を受け取って搬出する取出コンベア31と、取出コンベア31を支持する機台32と、取出コンベア31と機台32との間に介在して、取出コンベア31を機台32から引き出すための引出機構7とを備え、引出機構7が、取出コンベア31側に設けられており、当該取出コンベア31の引出方向に延びるとともに、当該取出コンベア31の幅方向D2に離間して配置された複数のレール71と、機台32側に設けられて、レール71を支持するローラ72とを有するようにした。
【選択図】図13
特許請求の範囲
【請求項1】
塊状食料から食料片を切り出す切断部と、
前記切断部により切り出された前記食料片を受け取って搬出する取出コンベアと、
前記取出コンベアを支持する機台と、
前記取出コンベアと前記機台との間に介在して、前記取出コンベアを前記機台から引き出すための引出機構とを備え、
前記引出機構が、
前記取出コンベア側に設けられており、当該取出コンベアの引出方向に延びるとともに、当該取出コンベアの幅方向に離間して配置された複数のレールと、
前記機台側に設けられて、前記レールを支持するローラとを有することを特徴とする食料切断装置。
続きを表示(約 1,100 文字)
【請求項2】
前記搬送方向の上流側を後側、下流側を前側とした場合に、
前記ローラが、前記レールにおける前側の第1箇所と、その第1箇所よりも後側の第2箇所とのそれぞれを支持する位置に設けられるとともに、前記第2箇所において、当該レールを上下から挟み込む位置に設けられていることを特徴とする請求項1記載の食料切断装置。
【請求項3】
前記引出機構が、
前記ローラが取り付けられるとともに、前記機台に対して前記ローラと一体的に着脱可能な取付部材をさらに有していることを特徴とする請求項1記載の食料切断装置。
【請求項4】
前記取出コンベアが前記機台に支持されている状態において、少なくとも1つの前記取付部材が前記機台から取り外し可能であることを特徴とする請求項3記載の食料切断装置。
【請求項5】
前記搬送方向の上流側を後側、下流側を前側とした場合に、
前記機台に対する前記取出コンベアの引き出しをロックする又はそのロックを解除するための操作部が、前記機台の前側に設けられていることを特徴とする請求項1記載の食料切断装置。
【請求項6】
前記取出コンベアの左右両側又は左右片側に設けられて前記切断部の少なくとも一部を覆う開閉可能なサイドカバーをさらに備え、
前記サイドカバーが閉じられている状態において、当該サイドカバー自体又は当該サイドカバーに取り付けられている部材が前記取出コンベアの引き出しを妨げるように構成されていることを特徴とする請求項1記載の食料切断装置。
【請求項7】
前記取出コンベアが引き出されている状態において、当該取出コンベアとともに引き出された部材が、開かれている前記サイドカバーを閉じようとした場合に、当該サイドカバー自体又は当該サイドカバーに取り付けられている部材に干渉して、当該サイドカバーが閉じられることを妨げるように構成されていることを特徴とする請求項6記載の食料切断装置。
【請求項8】
前記切断部により前記食料片が切断される前に前記塊状食料の先端部を当てて位置決めする当て板と、
前記当て板を前記切断部による切断位置に対して前後移動させる駆動機構とを備え、
前記駆動機構が、
駆動源と、
前記駆動源からの駆動力により進退移動して、その駆動力を前記当て板に伝達する動力伝達部材とを有し、
前記動力伝達部材が、水平方向又は鉛直方向に沿って配置されていることを特徴とする請求項1記載の食料切断装置。
【請求項9】
前記動力伝達部材の移動量が、前記当て板の移動量に対して非線形に変化することを特徴とする請求項8記載の食料切断装置。
発明の詳細な説明
【技術分野】
【0001】
本発明は、塊状の食料を切断する食料切断装置に関するものである。
続きを表示(約 1,600 文字)
【背景技術】
【0002】
従来の食料切断装置としては、特許文献1に示すように、塊状肉から肉片を切り出す切断刃と、切り出された肉片を受け取るコンベアとを備え、このコンベアをメンテナンス時などに引き出せるように構成されたものがある。
【0003】
より具体的に説明すると、コンベアを支持する機台にレールを設けておき、このレール上を転動するローラをコンベア側に設けておくことで、レール上をローラが転がりながら、コンベアが機台に対して引き出されるようにしてある。
【0004】
しかしながら、このような構成であると、レールをコンベアの引き出し方向に延在させておく必要があり、この引き出し方向に沿った機台のサイズが大きくなる。その結果、機台の材料費などにかかるコストが高くなってしまい、装置全体の高コスト化を招く。
【先行技術文献】
【特許文献】
【0005】
特許7186387号
【発明の概要】
【発明が解決しようとする課題】
【0006】
そこで本発明は、上述した課題を解決するべくなされたものであり、取出コンベアを機台から引き出せるようにしつつも、機台のサイズをコンパクトに保つことで、コストの削減を図ることを課題とするものである。
【課題を解決するための手段】
【0007】
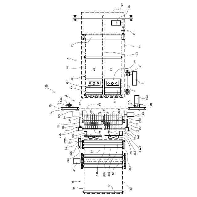
すなわち、本発明に係る食料切断装置は、塊状食料から食料片を切り出す切断部と、前記切断部により切り出された前記食料片を受け取って搬出する取出コンベアと、前記取出コンベアを支持する機台と、前記取出コンベアと前記機台との間に介在して、前記取出コンベアを前記機台から引き出すための引出機構とを備え、前記引出機構が、前記取出コンベア側に設けられており、当該取出コンベアの引出方向に延びるとともに、当該取出コンベアの幅方向に離間して配置された複数のレールと、前記機台側に設けられて、前記レールを支持するローラとを有することを特徴とするものである。
【0008】
このように構成された食料切断装置によれば、引出機構を構成するレールが取出コンベアに設けられており、ローラが機台に設けられているので、レールを取出コンベアの引出方向とは反対方向に延在させておくことができる。
そして、このレールの延在先は、例えば切断部の下側の従来であれば有効活用されていないスペースであるところ、このデッドスペースにレールを収めることで、機台を従来のように取出コンベアの引出方向側に延ばしておく必要がなくなる。
これにより、取出コンベアを機台から引き出せるようにしつつも、機台のサイズをコンパクトに保つことができ、装置全体のコストの削減を図れる。
【0009】
前記搬送方向の上流側を後側、下流側を前側とした場合に、前記ローラが、前記レールにおける前側の第1箇所と、その第1箇所よりも後側の第2箇所とのそれぞれを支持する位置に設けられるとともに、前記第2箇所において、当該レールを上下から挟み込む位置に設けられていることが好ましい。
このような構成であれば、機台から取出コンベアを引き出した状態で、レールの第2箇所をローラで上下から挟み込むことができるので、取出コンベアが自重で傾いてしまうことを防ぐことができ、取出コンベアを安全に引き出すことが可能となる。
【0010】
前記引出機構が、前記ローラが取り付けられるとともに、前記機台に対して前記ローラと一体的に着脱可能な取付部材をさらに有していることが好ましい。
このような構成であれば、取付部材ごとローラを取り外すことができ、メンテンナンス性の向上を図れる。
(【0011】以降は省略されています)
この特許をJ-PlatPat(特許庁公式サイト)で参照する
関連特許
個人
ハサミ
4か月前
個人
曲線カッター
1か月前
個人
円弧状刃の包丁
7か月前
個人
理美容はさみ
4か月前
株式会社サボテン
鋏
6か月前
福善刃物工業株式会社
鋏
4日前
株式会社和田機械
栗切り機の刃物
2か月前
個人
自動曲機とそれに使用する刃物
1か月前
個人
自動曲機とそれに使用する刃物
1か月前
やおき工業株式会社
鋏
4か月前
株式会社フタミ
表面処理装置
6か月前
デュプロ精工株式会社
加工装置
4か月前
個人
梳き鋏及び梳き鋏使用方法
1か月前
株式会社日本キャリア工業
食料切断装置
6か月前
株式会社日本キャリア工業
食料切断装置
5か月前
独立行政法人 国立印刷局
打ち抜き装置
2か月前
株式会社日本キャリア工業
食料切断装置
5か月前
株式会社日本キャリア工業
食料切断装置
5か月前
株式会社日本キャリア工業
食料切断装置
5か月前
船井電機株式会社
電動器具
3か月前
株式会社日本キャリア工業
食料切断装置
5か月前
THESTANDBYME合同会社
鋏
4か月前
近畿刃物工業株式会社
切断加工用刃物
5か月前
本田技研工業株式会社
切断装置
1か月前
近畿刃物工業株式会社
切断加工用刃物
5か月前
近畿刃物工業株式会社
切断加工用刃物
5か月前
株式会社 ベアック
切断装置
1か月前
有限会社 武藤設計
板状ワークの切断装置
1か月前
第一高周波工業株式会社
切込形成装置
5か月前
グラフテック株式会社
カッティングプロッタ
3か月前
株式会社島精機製作所
保護板を備えた裁断機
5か月前
THESTANDBYME合同会社
毛すき鋏
5か月前
株式会社村田製作所
積層体の切断装置
19日前
株式会社村田製作所
積層体の切断装置
19日前
株式会社前川製作所
食肉切断装置
4か月前
シンフォニアテクノロジー株式会社
スライス装置
3か月前
続きを見る
他の特許を見る