TOP
|
特許
|
意匠
|
商標
特許ウォッチ
Twitter
他の特許を見る
公開番号
2025071622
公報種別
公開特許公報(A)
公開日
2025-05-08
出願番号
2023181948
出願日
2023-10-23
発明の名称
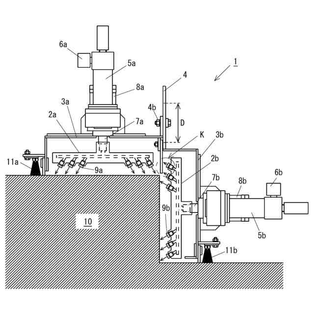
表面処理装置
出願人
株式会社フタミ
代理人
個人
主分類
B26F
3/00 20060101AFI20250428BHJP(切断手工具;切断;切断機)
要約
【課題】立ち上がり面と水平面とを有する地覆などの構造物の二面の表面を同時に処理することが可能な表面処理装置を提供する。
【解決手段】表面処理装置1は、構造物の水平面の表面を処理するための第1のウォータージェットノズル2aと、構造物の立ち上がり面を処理するための第2のウォータージェットノズル2bとを備える。第1のケーシング部3aは、第1のウォータージェットノズル2aを回転可能に取り付けて、水平面に沿って設けられる。第2のケーシング部3bは、第2のウォータージェットノズル2bを回転可能に取り付けて、立ち上がり面に沿って設けられる。第2のケーシング部3bの上部に第1のケーシング部3aの一側面側が取り付けられている。
【選択図】図1
特許請求の範囲
【請求項1】
水平面及び立ち上がり面の二面を有する構造物の表面を処理するための表面処理装置であって、前記水平面の表面を処理するための第1のウォータージェットノズルと、前記立ち上がり面を処理するための第2のウォータージェットノズルとを備えることを特徴とする、表面処理装置。
続きを表示(約 1,300 文字)
【請求項2】
さらに、
前記第1のウォータージェットノズルを回転可能に取り付けて、前記水平面に沿って設けられる第1のケーシング部と、
前記第2のウォータージェットノズルを回転可能に取り付けて、前記立ち上がり面に沿って設けられる第2のケーシング部とを備え、
前記第2のケーシング部の上部に前記第1のケーシング部の一側面側が取り付けられていることを特徴とする、請求項1に記載の表面処理装置。
【請求項3】
前記第1のケーシング部は、第2のケーシング部に対して、上下に高さ調整可能となっていることを特徴とする、請求項2に記載の表面処理装置。
【請求項4】
前記第2のケーシング部は、上部にスライド部を有し、
前記スライド部は、高さ調整用の上下に設けられた溝を有しており、
前記第1のケーシング部は、前記スライド部の前記溝に取り付けられることで、高さ調整可能となっていることを特徴とする、請求項3に記載の表面処理装置。
【請求項5】
前記第1のケーシング部及び前記第2のケーシング部は、前記第1のウォータージェットノズル及び前記第2のウォータージェットノズルを囲う形状を有しており、高圧水及び礫を吸引するための吸引口を有することを特徴とする、請求項2に記載の表面処理装置。
【請求項6】
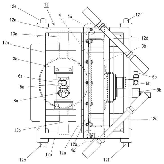
前記第1のケーシング部及び前記第2のケーシング部を取り付けるための台車をさらに備えることを特徴とする、請求項2に記載の表面処理装置。
【請求項7】
前記台車は、
前記第1のケーシング部を取り付けるための第1の枠体と、
前記第2のケーシング部を取り付けるための第2の枠体とを備え、
前記第1の枠体は、前記第2の枠体に対して、上下に高さ調整可能となっていることを特徴とする、請求項6に記載の表面処理装置。
【請求項8】
前記第1のケーシング部及び/又は前記第2のケーシング部の周りの少なくとも一部を囲うよう設けられたブラシをさらに備えることを特徴とする、請求項2に記載の表面処理装置。
【請求項9】
水平面及び立ち上がり面の二面を有する構造物の表面を処理するための表面処理方法であって、
第1のウォータージェットノズルを用いて、前記水平面の表面を処理すると同時に、
第2のウォータージェットノズルを用いて、前記立ち上がり面の表面を処理することを特徴とする、表面処理方法。
【請求項10】
前記第1のウォータージェットノズルを回転可能に取り付ける第1のケーシング部の一側面側が、前記第2のウォータージェットノズルを回転可能に取り付ける第2のケーシング部の上部に取り付けられており、
台車に前記第1のケーシング部及び前記第2のケーシング部を取り付けておいて、
前記構造物上で、前記台車を移動させながら、前記水平面及び前記立ち上がり面の表面を同時に処理することを特徴とする、請求項9に記載の表面処理方法。
発明の詳細な説明
【技術分野】
【0001】
本発明は、道路の地覆などの表面を処理するための装置である。
続きを表示(約 1,600 文字)
【背景技術】
【0002】
地覆(じふく)とは、架橋の側端部で橋面より高くなった部分であり、高欄(欄干、防護柵などともいう)などの基礎となる部分であったり、雨水側溝の機能も持つ部分であったりする。架橋の構造における地覆の位置についての一例は、非特許文献1に記載されている。
【0003】
架橋の改修工事においては、地覆部分の防水性能を回復させる必要があるため、地覆部分の表面を処理した後、防水加工を施す必要がある。
【0004】
従来、地覆部分の表面を処理するために、非特許文献1や非特許文献2に記載の装置のように、手で持つタイプのウォータージェットによる表面処理装置が用いられていた。すなわち、このようなハンドタイプの表面処理装置を作業者が地覆部分に当てながら、地覆の表面を処理していた。
【0005】
地覆は、橋面より高くなっているので、橋面より立ち上がった垂直面と水平面との二面を有している。そのため、作業者は、垂直面及び水平面のそれぞれに、ハンドタイプの表面処理装置を当てて、表面の防水層などを除去する作業を行っていた。
【先行技術文献】
【特許文献】
【0006】
特開2022-62481号公報
実公平04-23936号公報
特公平05-10480号公報 第2図,第6欄14行~16行
特許2856473号公報 第1図,第12図,第13図,第14図,7頁左欄18行~46行
特許5892965号公報
【非特許文献】
【0007】
カミノブログ公務員×土木,“橋梁の各部位の名称について”,[online],令和5年9月19日検索,インターネット,<URL:https://kamino.blog/bridge3/>
株式会社スギノマシン,“壁面用ウォータージェット(WJ)洗浄・はくりユニット「アクア・セルロータ」”,[online],令和5年9月19日検索,インターネット,<URL:https://www.sugino.com/site/cleaning-peeling-blasting-cutting-equipment/wj-aj-nozzle-type-asr.html>
アマノ機工株式会社,“ハンドアクアブラスト”,[online],令和5年9月19日検索,インターネット,<URL:http://amanokiko.co.jp/system/config2.html>
【発明の概要】
【発明が解決しようとする課題】
【0008】
このように、地覆には、二面があるが、従来のハンドタイプの表面処理装置を用いた作業では、一面ずつしか処理できず、また、手持ちでの作業であったため、超高圧水の圧力や流量を制限する必要があった。その結果、作業に時間がかかっていた。また、隅部を施工するときに、ハンドタイプの表面処理装置のカバーと地覆部との間に隙間が発生してしまい、飛散のための養生を行うのに、労力を要していた。
【0009】
同様の問題は、地覆に限らず、立ち上がり面と水平面との二面を有する構造物に対する表面処理の場合に、同様に発生する問題である。
【0010】
特許文献1には、ウォータージェットノズルを用いた表面処理装置が記載されている。特許文献1に記載の表面処理装置を用いれば、一面の表面処理を効率的に行うことができる。しかし、当該表面処理装置では、地覆のような二面を有する構造物の表面処理を効率的に行うことはできない。なお、特許文献1に記載のウォータージェットノズル及びその回転構造は、本発明に流用可能である。
(【0011】以降は省略されています)
特許ウォッチbot のツイートを見る
この特許をJ-PlatPat(特許庁公式サイト)で参照する
関連特許
個人
曲線カッター
2か月前
個人
ハサミ
5か月前
個人
円弧状刃の包丁
8か月前
有限会社カルチエ
ナイフ
11か月前
個人
理美容はさみ
5か月前
個人
折り畳みナイフ
11か月前
株式会社サボテン
鋏
7か月前
コクヨ株式会社
ハサミ
12か月前
個人
2wayコーナーパンチ
9か月前
福善刃物工業株式会社
鋏
17日前
株式会社文創
切創抑制器具
12か月前
株式会社和田機械
栗切り機の刃物
3か月前
個人
自動曲機とそれに使用する刃物
1か月前
やおき工業株式会社
鋏
5か月前
個人
自動曲機とそれに使用する刃物
2か月前
株式会社フタミ
表面処理装置
7か月前
デュプロ精工株式会社
加工装置
4か月前
トヨタ自動車株式会社
切断装置
10か月前
個人
梳き鋏及び梳き鋏使用方法
1か月前
船井電機株式会社
電動器具
4か月前
株式会社日本キャリア工業
食料切断装置
5か月前
独立行政法人 国立印刷局
打ち抜き装置
3か月前
株式会社日本キャリア工業
食料切断装置
5か月前
株式会社日本キャリア工業
食料切断装置
5か月前
株式会社日本キャリア工業
食料切断装置
6か月前
株式会社日本キャリア工業
食料切断装置
10か月前
株式会社日本キャリア工業
食料切断装置
5か月前
株式会社日本キャリア工業
食料切断装置
5か月前
株式会社村田製作所
切断装置
9日前
鈴茂器工株式会社
棒状食材切断装置
9か月前
デュプロ精工株式会社
用紙積載装置
9か月前
近畿刃物工業株式会社
切断加工用刃物
5か月前
THESTANDBYME合同会社
鋏
5か月前
西川ゴム工業株式会社
薪割り具
10か月前
近畿刃物工業株式会社
切断加工用刃物
6か月前
本田技研工業株式会社
切断装置
2か月前
続きを見る
他の特許を見る