TOP
|
特許
|
意匠
|
商標
特許ウォッチ
Twitter
他の特許を見る
10個以上の画像は省略されています。
公開番号
2025114356
公報種別
公開特許公報(A)
公開日
2025-08-05
出願番号
2024009007
出願日
2024-01-24
発明の名称
電動器具
出願人
船井電機株式会社
代理人
個人
,
個人
主分類
B26B
19/04 20060101AFI20250729BHJP(切断手工具;切断;切断機)
要約
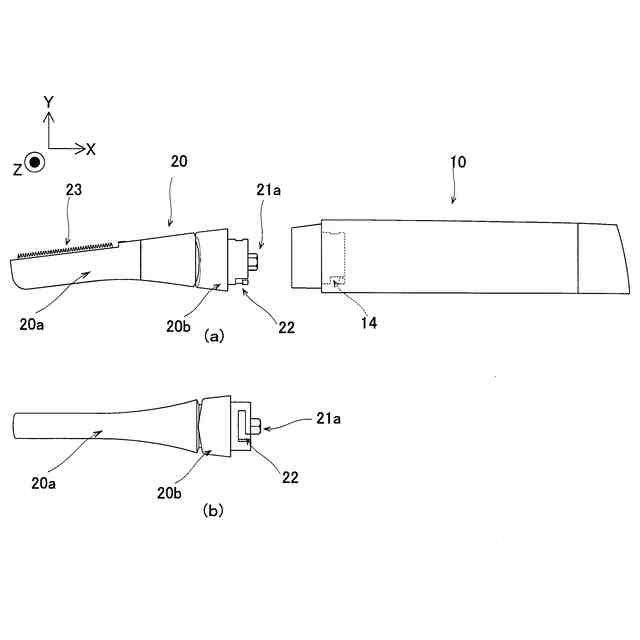
【課題】ヘッド部が揺動可能で、かつ、ヘッド部を交換可能な電動器具を提供する。
【解決手段】電動器具100は、モータ11を含む本体部10と、モータ11により駆動される駆動刃23を含み、本体部10に対し揺動可能であるとともに、本体部10と係合するヘッド部20と、モータ11の動力を駆動刃に伝達する複数の部分に分割可能な動力伝達機構と、を備える。そして、ヘッド部20は、動力伝達機構が複数の部分に分割されることにより、本体部10と分割可能に構成されている。
【選択図】図2
特許請求の範囲
【請求項1】
モータを含む本体部と、
前記モータにより駆動される駆動刃を含み、前記本体部に対し揺動可能であるとともに、前記本体部と係合するヘッド部と、
前記モータの動力を前記駆動刃に伝達する複数の部分に分割可能な動力伝達機構と、を備え、
前記ヘッド部は、前記動力伝達機構が複数の部分に分割されることにより、前記本体部と分割可能に構成されている、電動器具。
続きを表示(約 1,200 文字)
【請求項2】
前記動力伝達機構は、係合部をさらに含み、前記係合部が、互いに分割可能に構成されている、請求項1に記載の電動器具。
【請求項3】
前記動力伝達機構は、前記モータの回転運動伝達機構と、前記モータの回転運動を往復直線運動に変換する変換機構と、を含み、
前記変換機構のうち、前記モータ側と係合する前記係合部としてのモータ側係合部、または、前記変換機構の途中に設けられている前記係合部としての変換機構係合部において分割されることにより、前記ヘッド部と前記本体部とが分割可能に構成されている、請求項2に記載の電動器具。
【請求項4】
前記変換機構は、前記モータの回転運動を円運動に変換する円運動変換機構と、前記円運動変換機構に対して前記変換機構係合部により互いに分割可能に係合する、円運動を往復直線運動に変換する往復直線運動変換機構と、を含む、請求項3に記載の電動器具。
【請求項5】
前記ヘッド部は、前記駆動刃が設けられるヘッド揺動部と、前記ヘッド揺動部を揺動可能に保持することにより、前記ヘッド部が前記本体部に対し揺動可能に構成されている、ヘッド保持部とをさらに含み、
前記ヘッド保持部は、前記ヘッド揺動部が前記本体部に対する中立位置を維持するように、前記ヘッド揺動部を前記ヘッド部の先端側に付勢する付勢部材をさらに含む、請求項1に記載の電動器具。
【請求項6】
前記付勢部材は、圧縮コイルバネを含み、
前記圧縮コイルバネの内側の空間を前記動力伝達機構が貫通するように構成されている、請求項5に記載の電動器具。
【請求項7】
前記ヘッド揺動部は、係合凸部または係合凹部の一方をさらに含み、
前記ヘッド保持部は、前記ヘッド揺動部の前記係合凸部または前記係合凹部の一方と第1揺動方向に揺動可能に係合する前記係合凸部または前記係合凹部の他方をさらに含む、請求項5に記載の電動器具。
【請求項8】
前記係合凸部は、揺動軸方向から見て弧状部分と、前記弧状部分の端部同士を結ぶ直線部とにより構成された外縁部分を含み、
前記係合凹部は、平坦部を含み、前記係合凸部が揺動可能な状態で、前記付勢部材による付勢力により前記モータの回転軸方向に前記係合凸部の前記外縁部分の直線部分が前記平坦部に押し付けられることにより、前記ヘッド揺動部が前記中立位置を維持するように構成されている、請求項7に記載の電動器具。
【請求項9】
前記係合凹部は互いに反対側の位置に配置されるように一対設けられ、
前記互いに反対側の位置に配置される一対の前記係合凹部のうちの一方の前記モータの前記回転軸方向の長さが他方よりも長いことにより、前記ヘッド揺動部が、他方の前記係合凹部を回転中心とする前記回転軸方向に沿う第2揺動方向への揺動可能に構成されている、請求項8に記載の電動器具。
発明の詳細な説明
【技術分野】
【0001】
この発明は、電動器具に関し、特に、ヘッド部が本体に対して揺動可能な電動器具に関する。
続きを表示(約 1,600 文字)
【背景技術】
【0002】
従来、ヘッド部が本体部に対して揺動可能な電動器具が知られている(たとえば、特許文献1参照)。
【0003】
上記特許文献1には、ヘッド部が本体部に対して揺動可能な電動器具が開示されている。上記特許文献1では、本体部は、モータと、モータのシャフトの回転を往復直線運動に変換する駆動機構の一部と、を含む。また、上記特許文献1では、駆動機構は、モータのシャフトに圧入固定されたピニオンギアと、ピニオンギアと噛合しモータのシャフトと直交する方向を回転軸とするフェースギアとを含む。また、上記駆動機構は、フェースギアに設けられた偏心ボスに対して相対的に回転可能に嵌合される嵌合孔を有する第1駆動杵と、第1駆動杵に対して揺動(首振り)可能に嵌合される第2駆動杵と、を含む。そして、第1駆動杵に対して第2駆動杵が揺動することにより、ヘッド部が本体部に対して揺動する。
【先行技術文献】
【特許文献】
【0004】
特開2005-334370号公報
【発明の概要】
【発明が解決しようとする課題】
【0005】
上記特許文献1に記載の電動器具では、ヘッド部が本体部に対して揺動可能である。一方、上記特許文献1のような従来の電動器具では、古いヘッド部を新たなヘッド部に交換することや、異なる種類のヘッド部を装着することができない。このため、古いヘッド部を新たなヘッド部に交換することや、異なる種類のヘッド部を装着することができるように、ヘッド部が揺動可能で、かつ、ヘッド部を交換可能な電動器具が望まれている。
【0006】
この発明は、上記のような課題を解決するためになされたものであり、この発明の1つの目的は、ヘッド部が揺動可能で、かつ、ヘッド部を交換可能な電動器具を提供することである。
【課題を解決するための手段】
【0007】
この発明の一の局面による電動器具は、モータを含む本体部と、モータにより駆動される駆動刃を含み、本体部に対し揺動可能であるとともに、本体部と係合するヘッド部と、モータの動力を駆動刃に伝達する複数の部分に分割可能な動力伝達機構と、を備え、ヘッド部は、動力伝達機構が複数の部分に分割されることにより、本体部と分割可能に構成されている。
【0008】
この発明の一の局面による電動器具では、上記のように、ヘッド部が本体部に対して揺動可能であるとともに、モータの動力を駆動刃に伝達する複数の部分に分割可能な動力伝達機構を備える。これにより、動力伝達機構を分割できるので、動力伝達機構の分割部分において本体部とヘッド部とを分割することができる。その結果、ヘッド部が揺動可能で、かつ、ヘッド部を交換することができる。
【0009】
この一の局面による電動器具では、好ましくは、動力伝達機構は、係合部をさらに含み、係合部が、互いに分割可能に構成されている。このように構成すれば、容易に、係合部において動力伝達機構を分割することができるので、本体部とヘッド部との分割を容易に行うことができる。
【0010】
この場合、好ましくは、動力伝達機構は、モータの回転運動伝達機構と、モータの回転運動を往復直線運動に変換する変換機構と、を含み、変換機構のうち、モータ側と係合する係合部としてのモータ側係合部、または、変換機構の途中に設けられている係合部としての変換機構係合部において分割されることにより、ヘッド部と本体部とが分割可能に構成されている。このように構成すれば、モータ側係合部、または、変換機構係合部により動力変換機構を分割できるので、本体部とヘッド部とを容易に分割することができる。
(【0011】以降は省略されています)
この特許をJ-PlatPat(特許庁公式サイト)で参照する
関連特許
船井電機株式会社
車両の設計方法
1か月前
船井電機株式会社
物品搬送用自転車
2か月前
個人
曲線カッター
1か月前
個人
ハサミ
4か月前
個人
円弧状刃の包丁
7か月前
個人
理美容はさみ
4か月前
有限会社カルチエ
ナイフ
10か月前
個人
折り畳みナイフ
10か月前
株式会社サボテン
鋏
6か月前
コクヨ株式会社
ハサミ
11か月前
個人
2wayコーナーパンチ
8か月前
株式会社和田機械
栗切り機の刃物
2か月前
株式会社文創
切創抑制器具
11か月前
株式会社フタミ
表面処理装置
6か月前
個人
自動曲機とそれに使用する刃物
1か月前
やおき工業株式会社
鋏
4か月前
個人
自動曲機とそれに使用する刃物
26日前
トヨタ自動車株式会社
切断装置
9か月前
個人
梳き鋏及び梳き鋏使用方法
23日前
大創株式会社
打抜き部受支装置
11か月前
デュプロ精工株式会社
加工装置
3か月前
株式会社日本キャリア工業
食料切断装置
9か月前
株式会社日本キャリア工業
食料切断装置
5か月前
株式会社日本キャリア工業
食料切断装置
5か月前
株式会社日本キャリア工業
食料切断装置
4か月前
株式会社日本キャリア工業
食料切断装置
5か月前
株式会社日本キャリア工業
食料切断装置
4か月前
株式会社日本キャリア工業
食料切断装置
4か月前
船井電機株式会社
電動器具
3か月前
独立行政法人 国立印刷局
打ち抜き装置
2か月前
鈴茂器工株式会社
棒状食材切断装置
8か月前
デュプロ精工株式会社
用紙積載装置
8か月前
近畿刃物工業株式会社
切断加工用刃物
5か月前
近畿刃物工業株式会社
切断加工用刃物
5か月前
本田技研工業株式会社
切断装置
1か月前
西川ゴム工業株式会社
薪割り具
9か月前
続きを見る
他の特許を見る