TOP
|
特許
|
意匠
|
商標
特許ウォッチ
Twitter
他の特許を見る
10個以上の画像は省略されています。
公開番号
2025090155
公報種別
公開特許公報(A)
公開日
2025-06-17
出願番号
2023205209
出願日
2023-12-05
発明の名称
食料切断装置
出願人
株式会社日本キャリア工業
代理人
主分類
B26D
1/46 20060101AFI20250610BHJP(切断手工具;切断;切断機)
要約
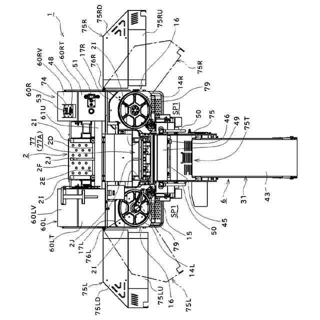
【課題】切断装置等のメンテナンス性が高く、商品価値の高い食料片を能率よく生産することのできる食料切断装置を実現すること。
【解決手段】食料を送る送り装置と、この送り装置から送り出された食料を切断する切断装置と、この切断装置で切断された食料片を引き継いで搬送する搬送装置とを含む作業部を備え、切断装置の左右外側部を夫々覆う左右のサイドカバーを設け、この左右のサイドカバーの夫々を、各後部に設けた支点回りに互いに離間する方向へ開放可能に構成し、左右のサイドカバーを開放することによって切断装置が略露出するように構成する。また、サイドカバーを所定量開いた状態で、このサイドカバーと搬送装置との間に人が入れる第1空間が形成されるように構成する。
【選択図】図22
特許請求の範囲
【請求項1】
食料を送る送り装置と、この送り装置から送り出された食料を切断する切断装置と、この切断装置で切断された食料片を引き継いで搬送する搬送装置とを含む作業部を備えた食料切断装置であって、前記切断装置の左右外側部を夫々覆う左右のサイドカバーを設け、この左右のサイドカバーの夫々を、各後部に設けた支持部によって互いに離間する方向へ開放可能に支持し、前記左右のサイドカバーを開放することによって前記切断装置が略露出するように構成したことを特徴とする食料切断装置。
続きを表示(約 720 文字)
【請求項2】
前記サイドカバーを所定量開いた状態で、このサイドカバーと前記搬送装置との間に人が入れる第1空間が形成されるように構成した請求項1に記載の食料切断装置。
【請求項3】
前記左右のサイドカバーの内側部に上方へ隆起する隆起部を夫々形成し、この左右の隆起部が前記切断装置の上方から退避する位置まで前記サイドカバーを開放可能に構成した請求項3に記載の食料切断装置。
【請求項4】
前記左右のサイドカバーを閉じた状態で、前記左右の隆起部の間に第2空間が残存する構成とし、この第2空間の下部に前記送り装置の前部を臨ませ、前記左右のサイドカバーを開放することによって、前記第1空間から前記送り装置の前部のメンテナンスが行えるように構成した請求項3に記載の食料切断装置。
【請求項5】
前記搬送装置を前記切断装置から離間する方向へ移動可能に構成し、前記作業部の作動に関連する各種操作を行うための操作盤を、前記搬送装置の搬送始端部の上方の位置に配置すると共に前記搬送装置側に支持し、前記搬送装置を前記切断装置から離間する方向へ移動させたときに、前記切断装置と前記操作盤との間に人が入れる第3空間が形成されるように構成した請求項1から請求項4のいずれか一項に記載の食料切断装置。
【請求項6】
前記切断装置の周辺部材を覆う開閉自在なカバーを設け、前記サイドカバーの閉じ方向への動作に連動して前記カバーが閉じるように構成した請求項5に記載の食料切断装置。
【請求項7】
前記周辺部材を、前記切断装置の切断刃を研磨する研磨装置とした請求項6に記載の食料切断装置。
発明の詳細な説明
【技術分野】
【0001】
本発明は、食料を切断する食料切断装置に関するものである。
続きを表示(約 1,300 文字)
【背景技術】
【0002】
従来の食料切断装置として、塊状の生の食肉(本発明における「食料」の一例)を薄くスライスする食肉切断装置が知られている。
この食肉切断装置は、チルド状態の塊状の生の食肉を切断位置へ向けて送る送り装置と、この送り装置から送り出された食肉を切断位置で切断する切断装置と、この切断装置で切断された肉片(本発明における「食料片」)を引き継いで搬送する搬送装置とを含む作業部を備えている。
【0003】
これにより、送り装置に供給された食肉が、この送り装置から所定長ごとに(設定された厚さごとに)送り出され、送り出された食肉の先端部が切断装置で切断されて肉片となり、この肉片が搬送装置の搬送始端部上へ引き継がれる。
搬送装置に引き継がれた肉片は、この搬送装置の近傍に立つ作業者によって掬い取られてトレーに盛り付けられ、フィルムで包装されてトレー盛付商品となる。
【0004】
このような食肉切断装置として、先行技術文献1に開示されたものがある。
当該先行技術文献1には、食肉切断装置の切断装置(刃物21)をカバーで覆う構成が示唆されている。
【先行技術文献】
【特許文献】
【0005】
特許第4379868号公報
【発明の概要】
【発明が解決しようとする課題】
【0006】
上述の従来の食肉切断装置において、特許文献1に開示されているように、作業の安全性を確保するために切断装置をカバーで覆う必要がある。
【0007】
しかしながら、切断作業終了時には、衛生上の観点から、切断装置等を洗浄しなければならない。
この洗浄作業を怠った場合、細菌が増殖し、次の切断作業で生産される肉片に衛生上の問題が生じるおそれがある。
また、切断装置の切断刃は、作業によって摩耗したり油脂の付着によって切れ味が低下するため、適当な作業時間が経過したときに交換する必要がある。
【0008】
したがって、このような切断装置の洗浄や切断刃の交換等のメンテナンスに時間を要した場合、肉片およびトレー盛付商品の商品価値の低下や生産能率の低下を来す問題が生じる。
【0009】
本発明は、上述のような従来技術の課題を解決し、切断装置等のメンテナンス性が高く、商品価値の高い食料片を能率よく生産することのできる食料切断装置を実現することを目的とする。
【課題を解決するための手段】
【0010】
上記目的を達成するために、本発明の食料切断装置は、食料を送る送り装置と、この送り装置から送り出された食料を切断する切断装置と、この切断装置で切断された食料片を引き継いで搬送する搬送装置とを含む作業部を備えた食料切断装置であって、切断装置の左右外側部を夫々覆う左右のサイドカバーを設け、この左右のサイドカバーの夫々を、各後部に設けた支持部によって互いに離間する方向へ開放可能に支持し、左右のサイドカバーを開放することによって切断装置が略露出するように構成した。
(【0011】以降は省略されています)
この特許をJ-PlatPat(特許庁公式サイト)で参照する
関連特許
株式会社日本キャリア工業
移載システム及び移載方法
7日前
株式会社日本キャリア工業
移載システム及び移載方法
7日前
個人
ハサミ
3か月前
個人
テープカッター
11か月前
個人
円弧状刃の包丁
6か月前
個人
理美容はさみ
2か月前
有限会社カルチエ
ナイフ
9か月前
株式会社サボテン
鋏
5か月前
個人
折り畳みナイフ
9か月前
個人
剃刀具
11か月前
個人
2wayコーナーパンチ
7か月前
コクヨ株式会社
ハサミ
9か月前
株式会社和田機械
栗切り機の刃物
1か月前
株式会社文創
切創抑制器具
9か月前
やおき工業株式会社
鋏
3か月前
個人
自動曲機とそれに使用する刃物
7日前
株式会社フタミ
表面処理装置
5か月前
トヨタ自動車株式会社
切断装置
8か月前
第一精工株式会社
ナイフ
11か月前
デュプロ精工株式会社
加工装置
2か月前
大創株式会社
打抜き部受支装置
10か月前
株式会社日本キャリア工業
食料切断装置
3か月前
株式会社日本キャリア工業
食料切断装置
4か月前
株式会社日本キャリア工業
食料切断装置
3か月前
株式会社日本キャリア工業
食料切断装置
3か月前
株式会社日本キャリア工業
食料切断装置
3か月前
船井電機株式会社
電動器具
2か月前
株式会社日本キャリア工業
食料切断装置
3か月前
独立行政法人 国立印刷局
打ち抜き装置
1か月前
株式会社日本キャリア工業
食料切断装置
8か月前
デュプロ精工株式会社
用紙積載装置
7か月前
鈴茂器工株式会社
棒状食材切断装置
7か月前
株式会社アストラ
果菜の分割裁断装置
11か月前
本田技研工業株式会社
切断装置
3日前
近畿刃物工業株式会社
切断加工用刃物
3か月前
近畿刃物工業株式会社
切断加工用刃物
4か月前
続きを見る
他の特許を見る