TOP
|
特許
|
意匠
|
商標
特許ウォッチ
Twitter
他の特許を見る
公開番号
2025126097
公報種別
公開特許公報(A)
公開日
2025-08-28
出願番号
2024034398
出願日
2024-02-16
発明の名称
栗切り機の刃物
出願人
株式会社和田機械
代理人
主分類
B26D
3/26 20060101AFI20250821BHJP(切断手工具;切断;切断機)
要約
【課題】 栗を鬼皮のまま半切する機械においては、厚さ2ミリ程度の平板で円盤状に形成され、かつ外周部をテーパー状に尖らせた丸刃と称される複数枚の刃物が所定間隔で並列に設けられていたが、栗表面の鬼皮が非常に硬く、丸刃が鬼皮に切込まれるとき横方向に変形することがあり、丸刃の両側に微小な隙間を保って設けられた栗受け部材に接触して、その部材を傷つけることや丸刃が損傷することがあった。
【解決手段】 円形の丸刃の中央部の厚さを従来よりも厚くし、その外側に従来と同じ厚さの外周部を設け、その外縁を尖らせることにより変形しにくい刃物とする。
【選択図】図1
特許請求の範囲
【請求項1】
薄い平板からなる円盤状の刃物であって、外周部をテーパー状に加工して外周縁に鋭利な刃先を形成する刃物において、
内周部の板厚を外周部の板厚よりも厚く形成したことを特徴とする栗切り機の刃物。
発明の詳細な説明
【技術分野】
【0001】
この発明は、栗を半切するために使用される栗切り機の刃物に関する。
続きを表示(約 1,900 文字)
【背景技術】
【0002】
従来、栗を連続的に半切する機械として、特許第5129765号がある(特許文献1参照)。この栗切り機は、垂直面内において連続回転する円盤状で、その外周面に半切前の栗を収容する凹状のポケットを複数有する栗受け回転盤を所定間隔で複数枚並べて配置し、そのポケットへ入り込む円形の刃物を高速回転するように設けたものである。栗受け回転盤にはポケットに通じる幅の狭い溝が設けられており、その溝に薄い円形の刃物が配置されている。通常この栗受け回転盤は軽量で軟質のアルミニウムで形成されている。
ポケットに栗が収容された栗受け回転盤が連続的に回転すると、その栗受け回転盤の外周面に設けられた溝に入り込んで回転する丸刃と称される刃物の鋭利な刃先により栗が半切されるようにしたものである。刃物で半切された栗は、栗受け回転盤が下方向へ回転するとともにポケットから自由落下し、栗受け回転盤の下方に設置されたコンベアによって次工程へ搬送されるように構成されている。
この機械に使用される円形の刃物21は一般に丸刃と称されるもので、図5及び図6に示すように厚さBが2ミリメートル程度の円形の平板からなり、直径Fで示される中央部の外側をテーパー状に尖らせた鋭利な刃先22が形成されているものである。
【先行技術文献】
【特許文献】
【0003】
特許第5129765号
【発明の概要】
【発明が解決しようとする課題】
【0004】
上記の栗切り機にあっては、栗の硬い鬼皮に刃物の刃先が切込まれるときに、栗の形状が曲面であるため刃先が当たった際に刃先に横方向の力が作用して変形し、刃先が欠損したり、栗受け回転盤に設けられた幅の狭い溝の内面に接触して刃先が損傷したり、溝の内面を傷つけることがあった。刃物よりも軟質の金属からなる栗受け回転盤の溝の内面に刃先が当ると刃先で削られて微小な金属片が剥がれ落ち、その金属片が半切された栗に付着して次工程へ搬送され、異物混入の問題を生じる恐れがあった。
【0005】
この発明は、従来の欠点を解決するためになされたものであり、その目的とするところは、薄い円形の刃物の変形を抑制して刃先の損傷を防ぐとともに、栗受け回転盤の溝内面の損傷を防ぎ、溝の内面が削られて発生する微小な金属片が剥がれ落ちることによる異物混入の問題を防止できる刃物を提供することにある。
【課題を解決するための手段】
【0006】
この発明に係る栗切り機における刃物は、前記目的を達成するために、次の構成とする。円形の刃物の中央部を厚くし、中央部より外側を薄くして外周部にテーパー状に鋭利な刃先を形成する。
請求項1に記載の発明は、
円形の薄い平板の外周部をテーパー状に形成して外周縁に鋭利な刃先を設けた刃物において、軸心に近い中央部の厚さを外周部の厚さよりも厚くした刃物とするものである。
【0007】
上記発明において、この刃物はその中央部が外周部よりも厚く形成されているので、栗を半切する際に刃先に横方向の力が作用しても変形することが少なくなり、溝内面との接触による刃先や溝内面の損傷が防止される。
【発明の効果】
【0008】
この発明によれば、変形による刃物の損傷が抑制されることにより刃物寿命が長くなり、栗受け回転盤の溝内面を傷つけることも防止される。
刃物寿命が長くなれば、刃物交換の手間も少なくなり、ランニングコストの削減につながる。
また、栗を収容する栗受け回転盤の溝の内面に接触して内面を傷つけると、その際発生した微小な金属片が半切された栗の実に付着したまま次工程へ搬送されて異物混入となるといった問題発生の恐れがあるが、本発明ではこの問題が解消される。
【図面の簡単な説明】
【0009】
この発明の実施の形態の正面図である。
この発明の実施の形態の一部を拡大した側面図である。
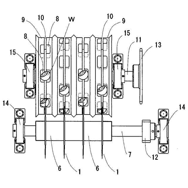
この発明の刃物が使用される機械の平面図である。
この発明の刃物が使用される機械の側面図である。
従来の刃物の正面図ある。
従来の刃物を一部拡大した側面図である。
【発明を実施するための形態】
【0010】
以下、この発明に係る栗切り機の刃物の形態を図面に基づいて説明する。
【実施例】
(【0011】以降は省略されています)
この特許をJ-PlatPat(特許庁公式サイト)で参照する
関連特許
株式会社和田機械
栗切り機の刃物
1か月前
株式会社和田機械
食品原料の裏ごし機
2日前
個人
曲線カッター
9日前
個人
ハサミ
3か月前
個人
テープカッター
12か月前
個人
円弧状刃の包丁
6か月前
個人
理美容はさみ
3か月前
有限会社カルチエ
ナイフ
9か月前
株式会社サボテン
鋏
5か月前
個人
折り畳みナイフ
9か月前
個人
2wayコーナーパンチ
8か月前
コクヨ株式会社
ハサミ
10か月前
株式会社和田機械
栗切り機の刃物
1か月前
株式会社文創
切創抑制器具
10か月前
個人
自動曲機とそれに使用する刃物
17日前
個人
自動曲機とそれに使用する刃物
2日前
やおき工業株式会社
鋏
3か月前
株式会社フタミ
表面処理装置
5か月前
トヨタ自動車株式会社
切断装置
9か月前
デュプロ精工株式会社
加工装置
2か月前
大創株式会社
打抜き部受支装置
10か月前
株式会社日本キャリア工業
食料切断装置
4か月前
船井電機株式会社
電動器具
2か月前
株式会社日本キャリア工業
食料切断装置
8か月前
独立行政法人 国立印刷局
打ち抜き装置
1か月前
株式会社日本キャリア工業
食料切断装置
3か月前
株式会社日本キャリア工業
食料切断装置
3か月前
株式会社日本キャリア工業
食料切断装置
4か月前
株式会社日本キャリア工業
食料切断装置
5か月前
株式会社日本キャリア工業
食料切断装置
4か月前
デュプロ精工株式会社
用紙積載装置
7か月前
鈴茂器工株式会社
棒状食材切断装置
7か月前
近畿刃物工業株式会社
切断加工用刃物
4か月前
近畿刃物工業株式会社
切断加工用刃物
4か月前
THESTANDBYME合同会社
鋏
3か月前
近畿刃物工業株式会社
切断加工用刃物
3か月前
続きを見る
他の特許を見る