TOP
|
特許
|
意匠
|
商標
特許ウォッチ
Twitter
他の特許を見る
公開番号
2025155448
公報種別
公開特許公報(A)
公開日
2025-10-14
出願番号
2024065793
出願日
2024-03-28
発明の名称
食品原料の裏ごし機
出願人
株式会社和田機械
代理人
主分類
A23L
19/00 20160101AFI20251002BHJP(食品または食料品;他のクラスに包含されないそれらの処理)
要約
【課題】 この発明は、蒸かした栗やサツマイモ等々の食品原料から実ペーストを裏ごしする際に、圧力のかかり過ぎによる実ペーストの品質低下を防ぐとともに、上質な実ペースト回収の効率を高めることのできる裏ごし機を提供することにある。
【解決手段】 実ペーストを裏ごしするために外周面に多数の透孔が設けられた裏ごしドラムに、形状の異なる第1スクリュー部と第2スクリュー部からなるスクリューを内装し、その裏ごしドラムの上流側を閉塞し、下流側となる他端を着脱可能又は開閉可能に閉塞し、裏ごしドラム内における移送の上流側に、螺旋状に形成された第1スクリュー部とこのスクリューに連続して下流側に螺旋状の第2スクリュー部を回転自在に設け、その第1スクリュー部における食品原料の移送流量を第2スクリュー部における食品原料の移送流量よりも多くなるようにし、かつ第2スクリューにおける移送流路の上流側の傾斜を緩くして食品原料を前記透孔から外側へ押し出して実ペースト化するようにしたものである。
【選択図】図1
特許請求の範囲
【請求項1】
貫通した多数の透孔を外周面に有する円筒形状の裏ごしドラムに、食品原料を上流から下流方向へ移送するための螺旋羽根を有するスクリューが回転可能に内装され、そのスクリューは上流側に配置されて食品原料を下流方向へ移送する第1スクリュー部と、下流側に配置されて第1スクリュー部で移送されてきた食品原料を裏ごしドラムの多数の透孔を通して外方へ押し出すための第2スクリュー部とからなり、それぞれのスクリュー部の外周面が裏ごしドラムの内周面と微小な隙間を保って内装され、
第1スクリュー部における食品原料の移送流量は、第2スクリュー部における移送流量よりも多くなるように形成され、
裏ごしドラムの上流側の端部は上流側端板で閉塞され、下流側の端部は皮排出孔が複数個所設けられた下流側端板で開閉可能に閉塞され、
スクリューの上流側の軸部は上流側端板で支承され、下流側の軸部は下流側端板で支承され、上流側の軸部は駆動源であるモータに連動して設けられ、
上流側端板は架台に固定され、裏ごしドラムの上流側の外周面が一部開口されて食品原料の投入口となるホッパーが第1スクリュー部の上方に設けられている食品原料の裏ごし機。
続きを表示(約 1,100 文字)
【請求項2】
第1スクリュー部の螺旋羽根で形成される螺旋状の移送流路は食品原料を下流方向へ移送する形状に形成され、第2スクリュー部の螺旋羽根で形成される螺旋状の移送流路は食品原料を外周方向へ押し出す形状に形成されている請求項1記載の食品原料の裏ごし機。
【請求項3】
第2スクリュー部の螺旋羽根で形成される螺旋状の移送流路は、断面がほぼV状に形成され、螺旋羽根の下流方向に面する側の傾斜面の傾斜角が裏ごしドラムの内面に対して15°から45°に形成されている請求項2記載の食品原料の裏ごし機。
【請求項4】
貫通した多数の透孔を外周面に有する円筒形状の裏ごしドラムに、内径を一致させたパイプが着脱可能に連結され、食品原料を上流から下流方向へ移送するための螺旋羽根を有するスクリューが裏ごしドラムとパイプに回転可能に内装され、そのスクリューは上流側に配置されて食品原料を下流方向へ移送する第1スクリュー部と、下流側に配置されて第1スクリュー部で移送されてきた食品原料を裏ごしドラムの多数の透孔を通して外方へ押し出すための第2スクリュー部とからなり、
第1スクリュー部がパイプの内部に配置され、第2スクリュー部が裏ごしドラムの内部に配置され、第1スクリュー部の外周面がパイプの内周面に微小な隙間を保って内装され、第2スクリュー部の外周面が裏ごしドラムの内周面に微小な隙間を保って内装され、
第1スクリュー部における食品原料の移送流量は、第2スクリュー部における移送流量よりも多くなるように形成され、
パイプの上流側の端部は上流側端板で閉塞され、裏ごしドラムの下流側の端部は皮排出孔が複数個所設けられた下流側端板で開閉可能に閉塞され、
スクリューの上流側へ突設された軸部は上流側端板で支承され、下流側へ突設された軸部は下流側端板で支承され、上流側の軸部は駆動源であるモータに連動して設けられ、
上流側端板は架台に固定され、裏ごしドラムの上流側の外周面が一部開口されて食品原料の投入口となるホッパーが第1スクリュー部の上方に設けられている食品原料の裏ごし機。
【請求項5】
第1スクリュー部の螺旋羽根で形成される螺旋状の移送流路は食品原料を下流方向へ移送する形状に形成され、第2スクリュー部の螺旋羽根で形成される螺旋状流路は食品原料を外周方向へ押し出す形状に形成されている請求項4記載の食品原料の裏ごし機。
【請求項6】
第2スクリュー部の螺旋羽根で形成される螺旋状の移送流路は、断面がほぼV状に形成され、螺旋羽根の下流方向に面する側の傾斜面の傾斜角が裏ごしドラムの内面に対して15°から45°に形成されている請求項5記載の食品原料の裏ごし機。
発明の詳細な説明
【技術分野】
【0001】
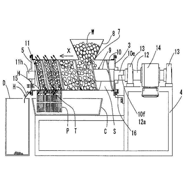
この発明は、蒸かした栗やさつまいも等々の食品原料に裏ごしを行って実ペーストを製造する食品原料の裏ごし機に関するものである。
続きを表示(約 3,100 文字)
【背景技術】
【0002】
栗やさつまいも等々の食品原料は、裏ごし機でペースト状に裏ごしされて和菓子や洋菓子、その他に広く利用されている。食品原料を裏ごしする機械と類似の機械として,特許4202410号公報に記載された「精製おからの製造装置」が知られている。
この公報に記載された「精製おからの製造装置」は、螺旋状のスクリュー9を内装した濾過筒体6の一端におからの投入口となる供給部10が設けられ、濾過筒体6の中を移送中にスクリュー9とスクレーパー20の作用で圧潰された微細なおから成分を濾過孔7から排出するようにしたものである。(特許文献1)
【0003】
特許文献1に記載された発明は、「おから」を濾過筒体6の中においてスクリュー9で移送する間に微細化し、濾過筒体6に形成された濾過孔7を通して排出する装置であり、そのスクリュー9における螺旋羽根の形状は一般的な構成であり、濾過孔7と摺擦しておから粒子の圧潰、微細化の働きを奏するとある。
【先行技術文献】
【特許文献】
【0004】
特許4202410号公報
【発明の概要】
【発明が解決しようとする課題】
【0005】
特許文献1に記載された「精製おからの製造方法及び精製おから」に記載された装置は 、図に示されるように供給部10に投入された未精製の「おから」がスクリュー9の螺旋羽根で圧送され濾過孔7から「精製おから」として排出される構造のものである。
未精製の「おから」は移送中に撹拌圧潰されると同時に切截作用を受け、微細化処理を受け、一種の揉み解しにより粒子の微小化が促進されるとある。図から明らかなとおり、濾過筒体6に内装されたスクリュー9は一般的な螺旋状の形状であり、スクリュー9に挟まれたスクレーパー20の外周面は濾過筒体6の内面に平行に形成されており、上流から下流へ「おから」を移送する効果は高くても、移送方向と直交または斜め方向へ濾過孔7から排出するための大きな作用効果は期待できない。
この装置で栗やさつまいもの裏ごしを行って実ペーストを得ようとすると、濾過孔7から排出される実ペーストの排出効果が低く、排出効果を高めようとすると上流から下流への移送中に圧力が高くなり過ぎ、濾過孔7からの排出よりも廃棄物通過孔24からの排出の方が多くなると思われる。圧力が高くなり過ぎる状態で撹拌圧潰されると、摩擦により熱が発生するとともに粘りが強くなり、食品の風味が低下する恐れがある。
【0006】
本発明は、上述の課題を解決するためになされたもので、裏ごしされる実ペーストの排出効果を高くするとともに、移送中の圧力の高まりを低減して摩擦による熱の発生を最小限に押えることにより食品の風味を保持することのできる機械を提供する。
【課題を解決するための手段】
【0007】
上記目的を達成するため本発明は、下記の構成とする。
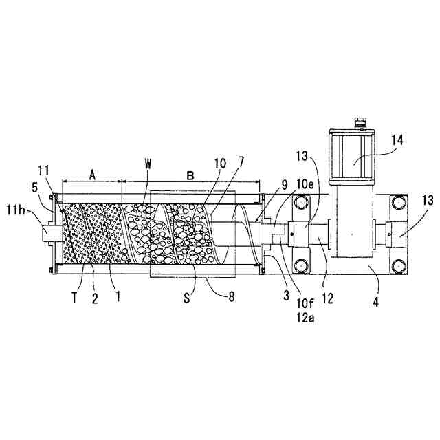
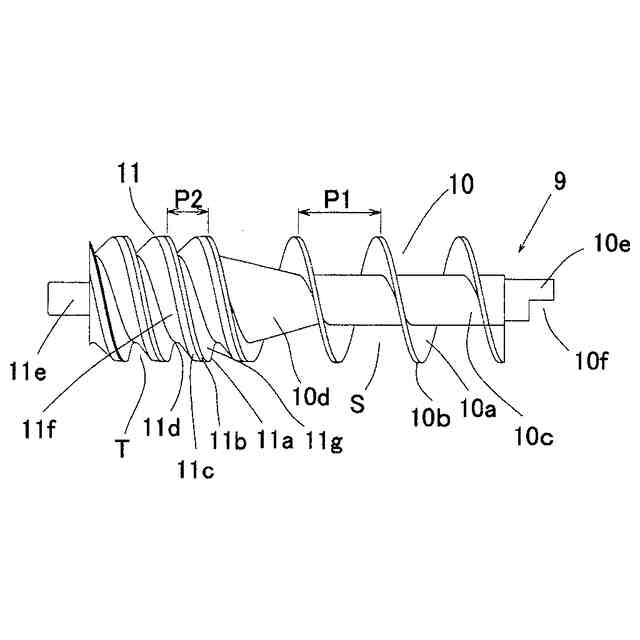
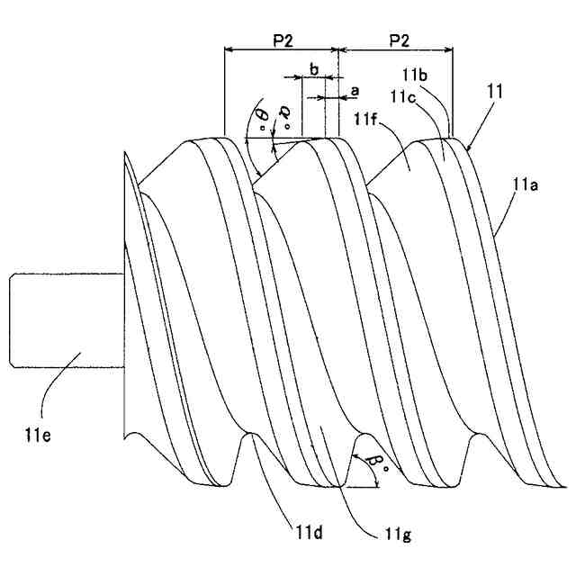
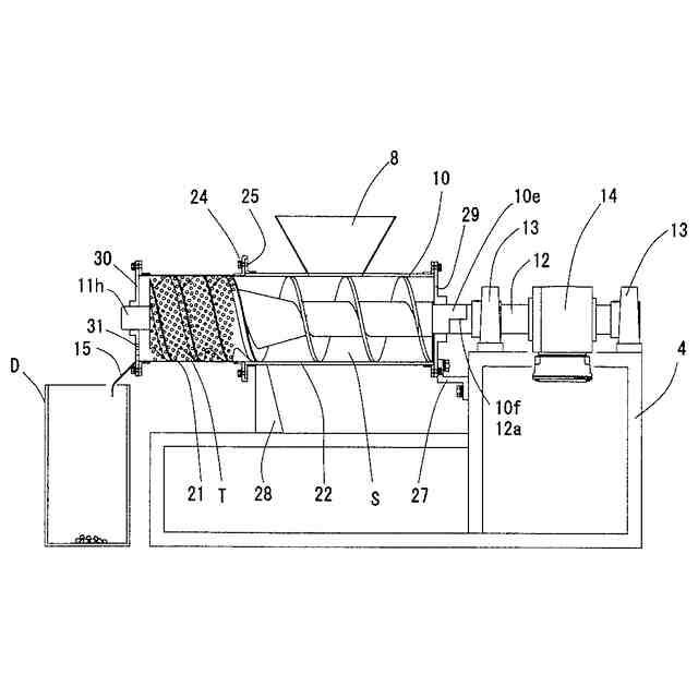
1.貫通した多数の透孔を外周面に有する円筒形状の裏ごしドラムに、食品原料を上流から下流方向へ移送するための螺旋羽根を有するスクリューが内装されている。このスクリューは食品原料を下流方向へ移送する第1スクリュー部と、その第1スクリュー部と螺旋羽根の形状を異にし、食品原料を透孔から外方へ押し出すための第2スクリュー部で構成されている。第1スクリュー部と第2スクリュー部はその螺旋羽根の外周面がそれぞれ裏ごしドラムの内周面と微小な隙間を保って内装されている。
2.第1スクリュー部が移送の上流側に配置され、その第1スクリュー部と螺旋羽根のねじれ方向を一致させた第2スクリュー部が移送の下流側に配置され、第1スクリュー部の移送流路(食品原料が移送される通路)と第2スクリュー部の移送流路(食品原料が移送される通路)は連続して繋がっており、各スクリュー部の端部にはそれぞれ軸部が突設されている。
第1スクリュー部における食品原料の移送流量は、第2スクリュー部における移送流量よりも数倍多くなるように移送流路の大きさが設定されている。
3.裏ごしドラムの上流側の端部は上流側端板で閉塞されるとともに、その上流側端板に第1スクリュー部に突設された軸部が支承され、さらにモータに連動する駆動軸に係脱自在に連結されている。裏ごしドラムの上流側端板は架台に係脱可能に固定されている。
4.裏ごしドラムの下流側の端部は皮排出口が複数設けられた下流側端板で開閉自在に閉塞されるとともに、第2スクリュー部の下流側へ突設された軸部が支承されている。
5.第1スクリュー部の移送流路は、食品原料を下流方向へ移送する形状に形成され、第2スクリュー部の移送流路は食品原料を透孔から外方へ押し出す形状に形成されている。
6.第2スクリュー部の螺旋羽根で形成される移送流路は断面がほぼV状に形成され、螺旋羽根の下流方向に面する側の傾斜面の傾斜角が裏ごしドラムの内面に対して15°から45°に形成されている。
7.裏ごしドラムの上流側に配置された第1スクリュー部の直上に設けられた食品原料の投入口にはホッパーが設けられ、そのホッパーへ投入された食品原料が投入口から裏ごしドラム内で回転する第1スクリュー部の螺旋羽根で形成される移送流路へ落下し、その第1スクリュー部の螺旋羽根によって下流方向の第2スクリュー部の移送流路へと順次移送される。
8.食品原料は下流方向へ移送されるに従って第2スクリュー部の螺旋羽根に形成された傾斜面によって斜め外周方向へ押し付けられ、裏ごしドラムの外周に設けられた多数の透孔を通して排出され、裏ごしドラムの下方に設置されたコンテナへと落下する。透孔は、裏ごしドラムの下流側において内装された第2スクリュー部に対応してほぼ全周に設けられているので、下部の透孔だけでなく上部の透孔からも排出される。
9.食品原料に混入している皮(残滓)は、裏ごしドラムの透孔よりもサイズが大きいので透孔から排出されることはなく、移送流路の終端まで移送されて下流側端板に設けられた皮排出孔から排出される。
【発明の効果】
【0008】
上記の構成とすることにより、実ペーストは第1スクリュー部の螺旋羽根で下流方向へ移送されて第2スクリュー部へ供給され、第2スクリュー部の螺旋羽根の回転に伴う下流方向への移送中に徐々に裏ごしドラムの透孔から押し出されて裏ごしされるのであり、実ペーストが固く締まることや、摩擦による熱の発生が少ないため品質が向上する。
実ペーストは、第2スクリュー部の螺旋羽根の下流側に形成された傾斜面の形状の作用によって下流方向に移送中に透孔から効率よく押し出されて裏ごしされるので、粘りが発生しにくく、ふんわり感に富んだ風味に優れた実ペーストが効率よく得られる。
【図面の簡単な説明】
【0009】
は本発明の実施例の軸線に平行な断面図である。
は図1の平面図である。
は図1の左側面図である。
は図1におけるスクリューの拡大した正面図である。
は第2スクリュー部の部分拡大図である。
は本発明の他の実施例の軸線に平行な断面図である。
【発明を実施するための形態】
【0010】
以下、この発明の実施例を図1ないし図5の図面に基づいて説明する。
【実施例】
(【0011】以降は省略されています)
この特許をJ-PlatPat(特許庁公式サイト)で参照する
関連特許
個人
古代食品塩梅醤
4か月前
個人
健康促進霊芝茶
27日前
ライソン株式会社
焙煎機
4か月前
不二製油株式会社
組成物
6日前
不二製油株式会社
グミ類
1か月前
個人
ジャム
4か月前
不二製油株式会社
油性食品
17日前
不二製油株式会社
加工食品
1か月前
個人
ヨーグルト等の発酵器
24日前
不二製油株式会社
油脂組成物
2か月前
株式会社ソディック
計量装置
4か月前
不二製油株式会社
油脂組成物
1か月前
不二製油株式会社
光照射油脂
6日前
株式会社ソディック
計量装置
4か月前
株式会社東洋新薬
経口組成物
1か月前
池田食研株式会社
風味改善剤
3か月前
株式会社東洋新薬
飲料
7日前
池田食研株式会社
微粉状食品
3か月前
株式会社東洋新薬
経口組成物
3か月前
不二製油株式会社
卵代替素材
5か月前
東ソー株式会社
食品品質保持剤
2か月前
アサヒ飲料株式会社
飲料
3か月前
奥野製薬工業株式会社
処理方法
9日前
不二製油株式会社
チーズ様食品
4か月前
不二製油株式会社
被覆用油性食品
8日前
日本メナード化粧品株式会社
飲料
27日前
個人
発酵あんこの製造方法
今日
株式会社エポック社
絞出具
9日前
SoPros株式会社
経口養毛剤
4か月前
東洋ライス株式会社
搗精米
1か月前
株式会社ソディック
食品搬送装置
2か月前
個人
天然マンゴー果汁色青汁
3か月前
池田食研株式会社
食品生地用組成物
2か月前
不二製油株式会社
カカオ含有飲食物
7日前
不二製油株式会社
冷凍霜付き抑制剤
13日前
株式会社寺田製作所
散茶装置
4か月前
続きを見る
他の特許を見る