TOP
|
特許
|
意匠
|
商標
特許ウォッチ
Twitter
他の特許を見る
10個以上の画像は省略されています。
公開番号
2025170913
公報種別
公開特許公報(A)
公開日
2025-11-20
出願番号
2024075773
出願日
2024-05-08
発明の名称
鋏
出願人
福善刃物工業株式会社
代理人
個人
主分類
B26B
13/20 20060101AFI20251113BHJP(切断手工具;切断;切断機)
要約
【課題】小さくまとめることができる鋏を提案する。
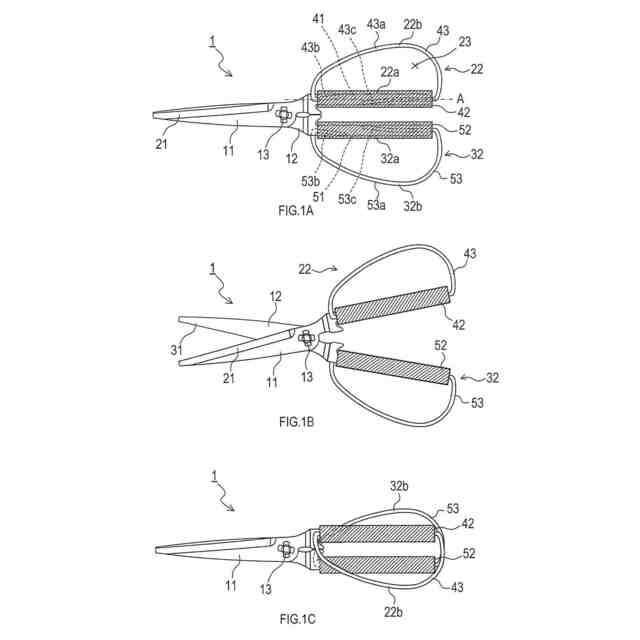
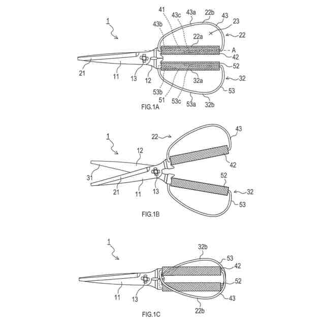
【解決手段】刃部と、把持部と、を備える第1鋏片及び第2鋏片を、連結部を中心として開閉可能に連結した鋏である。第1鋏片における把持部は、当該鋏の使用時に指を挿入可能な開口が形成されており、鋏を閉じる際に開口に挿入された指により力が加えられる内側縁部と、鋏を開く際に開口に挿入された指により力が加えられる外側縁部と、を有する。外側縁部は、第1鋏片の長さ方向に沿った回転軸回りに回転することにより、回転軸よりも第2鋏片の把持部の側に位置する収納位置へ変位する。
【選択図】図1
特許請求の範囲
【請求項1】
刃部と、把持部と、を備える第1鋏片及び第2鋏片を、連結部を中心として開閉可能に連結した鋏であって、
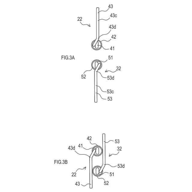
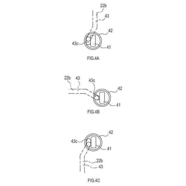
前記第1鋏片における前記把持部は、当該鋏の使用時に指を挿入可能な開口が形成されており、前記鋏を閉じる際に前記開口に挿入された指により力が加えられる内側縁部と、前記鋏を開く際に前記開口に挿入された指により力が加えられる外側縁部と、を有し、
前記外側縁部は、前記第1鋏片の長さ方向に沿った回転軸回りに回転することにより、前記回転軸よりも前記第2鋏片の前記把持部の側に位置する収納位置へ変位可能に構成されている、鋏。
続きを表示(約 400 文字)
【請求項2】
請求項1に記載の鋏であって、
前記収納位置にある前記外側縁部が当該収納位置から変位することを抑制する抑制機構を有する、鋏。
【請求項3】
請求項1に記載の鋏であって、
前記外側縁部が前記回転軸回りに回転して変位するときに、前記内側縁部は前記回転軸に対する位置が変化しないように構成されている、鋏。
【請求項4】
請求項1に記載の鋏であって、
前記鋏が閉じた状態で前記外側縁部が前記収納位置にあるとき、前記外側縁部は、前記第2鋏片の前記把持部に沿った位置となる、鋏。
【請求項5】
請求項1に記載の鋏であって、
前記外側縁部の回転変位に伴って変位する係止部であって、前記鋏が閉じた状態で、且つ、前記外側縁部が前記収納位置にあるときに、前記第2鋏片に係止して前記鋏が開くことを抑制する係止部を備える、鋏。
発明の詳細な説明
【技術分野】
【0001】
本開示は、刃部と、把持部と、を備える第1鋏片及び第2鋏片を、連結部を中心として開閉可能に連結した鋏に関する。
続きを表示(約 1,300 文字)
【背景技術】
【0002】
従来、環状又は略環状の把持部に指を掛けることで操作可能な鋏が用いられている。例えば特許文献1には、それぞれ刃部と把持部(持手部)を有する一対の鋏片を備える鋏であって、鋏片を連結するナットの頭部を一方の鋏片の溝にはめ込むことでゆるみの発生を抑制する鋏が開示されている。
【先行技術文献】
【特許文献】
【0003】
特開2011-125591号公報
【発明の概要】
【発明が解決しようとする課題】
【0004】
しかしながら、環状又は略環状の把持部を有する鋏は、把持部が外方に広がって設けられていることで、鋏全体の幅が大きくなってしまうため持ち運びにくく、また収納しにくいという問題があった。
【0005】
本開示の目的は、小さくまとめることができる鋏を提案することである。
【課題を解決するための手段】
【0006】
本開示の一態様は、刃部と、把持部と、を備える第1鋏片及び第2鋏片を、連結部を中心として開閉可能に連結した鋏である。この鋏において、前記第1鋏片における前記把持部は、当該鋏の使用時に指を挿入可能な開口が形成されており、前記鋏を閉じる際に前記開口に挿入された指により力が加えられる内側縁部と、前記鋏を開く際に前記開口に挿入された指により力が加えられる外側縁部と、を有する。前記外側縁部は、前記第1鋏片の長さ方向に沿った回転軸回りに回転することにより、前記回転軸よりも前記第2鋏片の前記把持部の側に位置する収納位置へ変位可能に構成されている。
【0007】
このような構成では、外側縁部を収納位置へ変位させると、鋏の外側に位置している外側縁部が回転軸よりも第2鋏片の把持部側に位置するため、鋏の幅が小さくなる。よって上記構成であれば、鋏を小さくまとめることができる。
【0008】
上述した鋏は、前記収納位置にある前記外側縁部が当該収納位置から変位することを抑制する抑制機構を有していてもよい。このような構成であれば、外側縁部が収納位置から意図せずに回転変位してしまうことを抑制できる。
【0009】
上述した鋏において、前記外側縁部が前記回転軸回りに回転して変位するときに、前記内側縁部は前記回転軸に対する位置が変化しないように構成されていてもよい。このような構成であれば、鋏を使用して鋏を閉じる(切る)ときに内側縁部に荷重を加えても、その荷重により外側縁部が収納位置へ移動してしまうことが生じにくい。そのため、使用中に外側縁部が移動してしまうことによって鋏の使用感が損なわれてしまうことを抑制できる。
【0010】
上述した鋏において、前記鋏が閉じた状態で前記外側縁部が前記収納位置にあるとき、前記外側縁部は、前記第2鋏片の前記把持部に沿った位置となるように構成されていてもよい。このような構成であれば、第1鋏片の外側縁部と第2鋏片の把持部とが隣接した状態となり、鋏をコンパクトにまとめることができる。
(【0011】以降は省略されています)
この特許をJ-PlatPat(特許庁公式サイト)で参照する
関連特許
福善刃物工業株式会社
鋏
4日前
個人
曲線カッター
1か月前
個人
ハサミ
4か月前
個人
円弧状刃の包丁
7か月前
有限会社カルチエ
ナイフ
11か月前
個人
理美容はさみ
4か月前
個人
折り畳みナイフ
10か月前
株式会社サボテン
鋏
6か月前
個人
2wayコーナーパンチ
9か月前
コクヨ株式会社
ハサミ
11か月前
福善刃物工業株式会社
鋏
4日前
株式会社和田機械
栗切り機の刃物
2か月前
株式会社文創
切創抑制器具
11か月前
個人
自動曲機とそれに使用する刃物
1か月前
個人
自動曲機とそれに使用する刃物
1か月前
やおき工業株式会社
鋏
4か月前
株式会社フタミ
表面処理装置
6か月前
個人
梳き鋏及び梳き鋏使用方法
1か月前
トヨタ自動車株式会社
切断装置
10か月前
大創株式会社
打抜き部受支装置
11か月前
デュプロ精工株式会社
加工装置
4か月前
株式会社日本キャリア工業
食料切断装置
5か月前
船井電機株式会社
電動器具
3か月前
株式会社日本キャリア工業
食料切断装置
5か月前
株式会社日本キャリア工業
食料切断装置
5か月前
株式会社日本キャリア工業
食料切断装置
5か月前
独立行政法人 国立印刷局
打ち抜き装置
2か月前
株式会社日本キャリア工業
食料切断装置
5か月前
株式会社日本キャリア工業
食料切断装置
9か月前
株式会社日本キャリア工業
食料切断装置
6か月前
鈴茂器工株式会社
棒状食材切断装置
8か月前
デュプロ精工株式会社
用紙積載装置
9か月前
近畿刃物工業株式会社
切断加工用刃物
5か月前
近畿刃物工業株式会社
切断加工用刃物
5か月前
本田技研工業株式会社
切断装置
1か月前
近畿刃物工業株式会社
切断加工用刃物
5か月前
続きを見る
他の特許を見る