TOP
|
特許
|
意匠
|
商標
特許ウォッチ
Twitter
他の特許を見る
10個以上の画像は省略されています。
公開番号
2025147251
公報種別
公開特許公報(A)
公開日
2025-10-07
出願番号
2024047433
出願日
2024-03-25
発明の名称
板状ワークの切断装置
出願人
有限会社 武藤設計
代理人
個人
主分類
B26D
1/16 20060101AFI20250930BHJP(切断手工具;切断;切断機)
要約
【課題】
増大された円板カッターの切断力により板状ワークを高能率で、しかも切粉の発生を皆無にして切断可能にすることである。
【解決手段】
円板カッターCは、円板の外周部に薄肉の鋭利な刃部が連続して形成されたものであり、第1アームA
1
に支持されたカッター軸の一端部に前記円板カッターCが取付けられ、揺動駆動軸S
3
の回転によりクランクロッドRを介して第1アームA
1
を中間伝動軸(回動支点軸)S
1
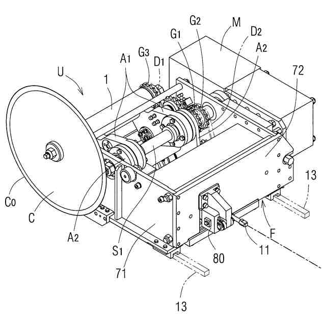
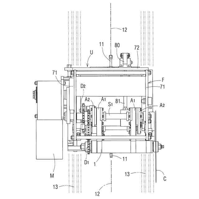
を中心にして往復円弧揺動運動させることで、前記円板カッターCの全体を、板状ワークWに対する当該円板カッターCの相対的な直線移動方向に対して直交又は概略直交する方向に往復円弧揺動運動させながら、連続回転する円板カッターCにより当該板状ワークWを切断する。
【選択図】 図9
特許請求の範囲
【請求項1】
連続回転する円板カッターと板状ワークとを相対的に直線移動させることで当該板状ワークを連続して切断する装置であって、
前記円板カッターは、外周部が薄肉の鋭利な刃部が連続して形成されたものであり、
揺動支点軸を中心に往復円弧揺動運動を行う第1アームに回転可能に支持されたカッター軸に前記円板カッターが回転可能に支持され、
第2アームには、揺動駆動軸が前記カッター軸に平行に支持され、当該揺動駆動軸に偏心状態で連結されたクランクロッドの先端部が前記第1アームに連結され、
前記第2アームの回動停止状態において、前記揺動駆動軸の回転により前記クランクロッドを介して前記第1アームを前記揺動支点軸を中心にして往復円弧揺動運動させることで、前記円板カッターの全体を、前記板状ワークに対する当該円板カッターの相対的な直線移動方向に対して直交又は概略直交する方向に往復円弧揺動運動させながら、連続回転する円板カッターにより当該板状ワークを切断することを特徴とする板状ワークの切断装置。
続きを表示(約 830 文字)
【請求項2】
フレームに固定配置されて、そのロッドが前記第2アームに連結された進退シリンダにより、前記クランクロッドを介して連結された前記第1及び第2の各アームを一体にして、前記揺動支点軸を中心にして後退回動させることで、前記円板カッターの全体が、切断可能位置に対して退避可能であることを特徴とする請求項1に記載の板状ワークの切断装置。
【請求項3】
前記揺動支点軸は、外部動力の伝達により回転される中間伝動軸を兼用していて、当該中間伝動軸の動力は、前記カッター軸及び前記揺動駆動軸に分岐して伝動される構成であることを特徴とする請求項1又は2に記載の板状ワークの切断装置。
【請求項4】
前記中間伝動軸から前記カッター軸及び前記揺動駆動軸への動力の伝動手段は、鎖歯車装置であることを特徴とする請求項3に記載の板状ワークの切断装置。
【請求項5】
連続回転する円板カッターと板状ワークとを相対的に直線移動させることで当該板状ワークを連続して切断する装置であって、
前記円板カッターは、外周部が薄肉の鋭利な刃部が連続して形成されたものであり、
揺動支点軸を中心に往復円弧揺動運動を行うアームに回転可能に支持されたカッター軸に前記円板カッターが回転可能に支持され、
前記カッター軸と平行となって揺動駆動軸がフレームに固定配置され、当該揺動駆動軸に偏心状態で連結されたクランクロッドの先端部が前記アームに連結され、
前記揺動駆動軸の回転により前記クランクロッドを介して前記アームを前記揺動支点軸を中心にして往復円弧揺動運動させることで、前記円板カッターの全体を、前記板状ワークに対する当該円板カッターの相対的な直線移動方向に対して直交又は概略直交する方向に往復円弧揺動運動させながら、連続回転する円板カッターにより当該板状ワークを切断することを特徴とする板状ワークの切断装置。
発明の詳細な説明
【技術分野】
【0001】
本発明は、円板カッターの連続回転により、切粉を発生させることなく板状ワークを切断可能な切断装置に関するものである。
続きを表示(約 2,300 文字)
【背景技術】
【0002】
木製又は発泡樹脂製の板状ワークを円板カッターにより連続切断するには、特許文献1に示されるように、円板カッターとして、円板の外周部にのこ刃が連続して形成された丸のこが使用され、当該丸のこの「のこ刃」により、切断部を切除して切断しているため、多量の切粉が不可避的に発生し、当該切粉は、丸のこの回転により周辺に飛散されるため、バキューム装置等を用いて、周囲に飛散した切粉を回収していた。よって、切粉の処理に多大な設備と労力が必要であった。また、丸のこによる切断のため、切断面に微小な凹凸が生じるため、切断面の高い切断精度の要求には耐えられなかった。
【0003】
また、本出願人は、特許文献2に示されるように、遊星歯車機構の工夫により、自転中の円板カッターの軸心を公転させることで、「なた作用」により切断力を増大させると共に、切粉が発生することなく、しかも発泡樹脂製の板状ワークの場合には、大きな板厚のワークの切断を可能にした切断装置の特許を取得している。
【0004】
本発明は、別の手段により、特許文献2に開示の特許発明と同一の課題を達成しようとしたものである。
【先行技術文献】
【特許文献】
【0005】
特開2022-172723号公報
特許第6850509号公報
【発明の概要】
【発明が解決しようとする課題】
【0006】
本発明は、増大された円板カッターの切断力により板状ワークを高能率で、しかも切粉の発生を皆無にして切断可能にすることを課題としている。
【課題を解決するための手段】
【0007】
上記課題を解決するための請求項1の発明は、
連続回転する円板カッターと板状ワークとを相対的に直線移動させることで当該板状ワークを連続して切断する装置であって、
前記円板カッターは、外周部に薄肉の鋭利な刃部が連続して形成されたものであり、
揺動支点軸を中心に往復円弧揺動運動を行う第1アームに回転可能に支持されたカッター軸に前記円板カッターが回転可能に支持され、
第2アームには、揺動駆動軸が前記カッター軸に平行に支持され、当該揺動駆動軸に偏心状態で連結されたクランクロッドの先端部が前記第1アームに連結され、
前記第2アームの回動停止状態において、前記揺動駆動軸の回転により前記クランクロッドを介して前記第1アームを前記揺動支点軸を中心にして往復円弧揺動運動させることで、前記円板カッターの全体を、前記板状ワークに対する当該円板カッターの相対的な直線移動方向に対して直交又は概略直交する方向に往復円弧揺動運動させながら、連続回転する円板カッターにより当該板状ワークを切断することを特徴としている。
【0008】
請求項1の発明によれば、前記第2アームの回動停止状態において、第2アームに支持された揺動駆動軸に偏心して一端部が連結されたクランクロッドの他端部が第1アームに連結されているため、当該揺動駆動軸の連続回転により、前記第1アームは、前記揺動支点軸を支点にして往復円弧揺動運動を行う。この結果、当該第1アームに支持されたカッター軸に支持された円板カッターは、前記第1アームと同様の往復円弧揺動運動を行いながら、板状ワークに対して相対的に直線移動して、当該板状ワークが切断される。
【0009】
ここで、円板カッターは、板状ワークに対する相対的な移動方向と直交又は概略直交する方向に沿って往復円弧揺動運動を行うので、当該円板カッターの回転中心の軌跡は、ジグザグ(zigzag) 屈曲直線状となって、板状ワークの板厚方向を基準にすると、当該円板カッターは、板状ワークの板厚方向に往復移動(往復円弧揺動運動)しながら、当該板状ワークが切断される。即ち、円板カッターは、自身の外周部の刃部の周方向への移動方向と同方向に微動しながら板状ワークを切断する「第1切断態様」と、自身の外周部の刃部の周方向への移動方向と逆方向に微動しながら板状ワークを切断する「第2切断態様」とを交互に繰り返しながら、当該板状ワークが切断されることで、円板カッターによる板状ワークの切断速度は、当該円板カッターの周速度が同一であるにもかかわらず、前記「第1切断態様」の被切断速度の方が前記「第2切断態様」の被切断速度より僅かに速くなって、周速度が一定の円板カッターにより、板状ワークの被切断速度が常時僅かに変化していると共に、板状ワークに対する円板カッターの切断部の配置姿勢が連続的に変化して、円板カッターの全体のうち板状ワークの切断に寄与する部分が連続的に僅かに変化している。
【0010】
この結果、従来の丸のこによる切断では、当該丸のこの移動軌跡は、直線であると共に、連続回転中の丸のこの特定部位のみで、しかも一定の切断速度で板状ワークが切断されるのに比較して、請求項1の発明では、上記したように、周速度と一定の円板カッターにより、板状ワークの被切断速度が常時僅かに変化していると共に、板状ワークに対する円板カッターの切断部の配置姿勢が連続的に変化していて、板状ワークの被切断速度及び円板カッターの切断部位の双方が連続的に変化しているので、円板カッターの切断力が増大されて、高能率の切断が実現されると共に、板厚の大きな板状ワークの切断が可能となる。
(【0011】以降は省略されています)
この特許をJ-PlatPat(特許庁公式サイト)で参照する
関連特許
有限会社 武藤設計
板状ワークの切断装置
2か月前
他の特許を見る