TOP
|
特許
|
意匠
|
商標
特許ウォッチ
Twitter
他の特許を見る
10個以上の画像は省略されています。
公開番号
2025171224
公報種別
公開特許公報(A)
公開日
2025-11-20
出願番号
2024076334
出願日
2024-05-09
発明の名称
サービス提供システム、サービス提供サーバー、印刷設定支援方法およい印刷設定支援プログラム
出願人
コニカミノルタ株式会社
代理人
個人
主分類
G06F
3/12 20060101AFI20251113BHJP(計算;計数)
要約
【課題】 印刷ジョブを実行させるための設定作業を支援すること。
【解決手段】 サービス提供システムは、第1の画像形成装置に関する装置の使用状態の特徴を示す状態情報と第1の画像形成装置で実行される予定の第1印刷ジョブに関する印刷ジョブの特徴を示すジョブ情報とを、それぞれ第1状態情報および第1ジョブ情報として取得するデータ取得部55と、複数の第2の画像形成装置それぞれの状態情報である第2状態情報および複数の第2の画像形成装置それぞれで実行された第2印刷ジョブに対応するョブ情報である第2ジョブ情報を機械学習させた学習モデルを用いて第1状態情報および第1ジョブ情報に基づいて決定される第1印刷ジョブを実行するための設定情報を出力する設定出力部59と、を備える。
【選択図】図5
特許請求の範囲
【請求項1】
第1の画像形成装置に関する装置の使用状態の特徴を示す状態情報と前記第1の画像形成装置で実行される予定の第1印刷ジョブに関する印刷ジョブの特徴を示すジョブ情報とを、それぞれ第1状態情報および第1ジョブ情報として取得するデータ取得部と、
複数の第2の画像形成装置それぞれの前記状態情報である第2状態情報および複数の前記第2の画像形成装置それぞれで実行された第2印刷ジョブに対応する前記ジョブ情報である第2ジョブ情報を機械学習させた学習モデルを用いて前記第1状態情報および前記第1ジョブ情報に基づいて決定される前記第1印刷ジョブを実行するための設定情報を出力する設定出力部と、を備えたサービス提供システム。
続きを表示(約 2,000 文字)
【請求項2】
前記第2状態情報と前記第2ジョブ情報とを複数の前記第2の画像形成装置それぞれから取得する情報取得部と、
複数の前記第2状態情報および複数の前記第2ジョブ情報を機械学習させた前記学習モデルを生成するモデル生成部と、をさらに備えた、請求項1に記載のサービス提供システム。
【請求項3】
前記学習モデルは、複数の前記第2状態情報それぞれを複数の第1クラスタのいずれかに分類する第1学習モデルと、
複数の前記第2ジョブ情報それぞれを複数の第2クラスタのいずれかに分類する第2学習モデルと、を含み、
複数の前記第1クラスタのうち前記第1学習モデルにより前記第1状態情報が分類される第1ジョブクラスタを決定するとともに複数の前記第2クラスタのうち前記第2学習モデルにより前記第1ジョブ情報が分類される第2ジョブクラスタを決定するクラスタ決定部と、
複数の前記第1クラスタの1つと複数の前記第2クラスタの1つとの組に前記設定情報を関連付けた関連情報を取得する関連情報取得部と、をさらに備え、
前記設定出力部は、前記第1ジョブクラスタおよび前記第2ジョブクラスタに前記関連情報により関連付けられた前記設定情報を決定する、請求項1に記載のサービス提供システム。
【請求項4】
前記第1の画像形成装置において、前記第1印刷ジョブを前記第1の画像形成装置が実行した際に設定された前記設定情報である第1実行設定情報を取得する実績取得部と、
前記第1実行設定情報に基づいて、前記関連情報を補正する補正部と、をさらに備えた請求項3に記載のサービス提供システム。
【請求項5】
前記学習モデルは、複数の前記第2状態情報それぞれを複数の第1クラスタのいずれかに分類する第1学習モデルと、
複数の前記第2ジョブ情報それぞれを複数の第2クラスタのいずれかに分類する第2学習モデルと、を含み、
複数の前記第1クラスタのうち前記第1学習モデルにより前記第1状態情報が分類される第1ジョブクラスタを決定するとともに複数の前記第2クラスタのうち前記第2学習モデルにより前記第1ジョブ情報が分類される第2ジョブクラスタを決定するクラスタ決定部と、
前記第1の画像形成装置において、過去に実行された実行済印刷ジョブに対して決定された前記第1ジョブクラスタおよび前記第2ジョブクラスタと、前記実行済印刷ジョブが実行された前記設定情報である設定履歴情報と、を関連付けた履歴情報を生成する履歴情報生成部と、をさらに備え、
前記設定出力部は、前記第1状態情報に対して決定された前記第1ジョブクラスタおよび前記第1ジョブ情報に対して決定された前記第2ジョブクラスタに前記履歴情報により関連付けられた前記設定履歴情報を前記設定情報に決定する、請求項1に記載のサービス提供システム。
【請求項6】
前記第2状態情報と前記第2ジョブ情報とを複数の前記第2の画像形成装置それぞれから取得する情報取得部と、
複数の前記第2の画像形成装置それぞれから前記第2状態情報、前記第2ジョブ情報および前記第2ジョブ情報に対応する印刷ジョブが実行された前記設定情報である第2実行設定情報を取得する情報取得部と、
前記第2状態情報および前記第2ジョブ情報を説明変数とし、前記第2実行設定情報を目的変数とした学習データを用いて機械学習させた前記学習モデルを生成するモデル生成部と、をさらに備えた、請求項1に記載のサービス提供システム。
【請求項7】
前記第1の画像形成装置に前記設定情報に従って前記第1印刷ジョブを実行させる実行制御部を、さらに備えた、請求項1~6のいずれかに記載のサービス提供システム。
【請求項8】
前記設定情報を前記第1ジョブ情報を設定したユーザーに通知する通知手段を、さらに備えた請求項1~6のいずれかに記載のサービス提供システム。
【請求項9】
前記状態情報は、構成部品の寿命を示すライフ情報、オプション部品の装着有無を示すオプション部品情報、装置が設置される環境の状態を示す環境情報、画像を形成した記録媒体の累積枚数を示す累積稼働回数、稼働した累積稼働時間の少なくとも1つを含む、請求項1~6のいずれかに記載のサービス提供システム。
【請求項10】
前記ジョブ情報は、記録媒体の面積に占める画像の割合を示すカバレッジ情報、画像に含まれるオブジェクトの種類を示すオブジェクト情報、画像がカラーモノクロの別を示す色種別情報、画像が形成される記録媒体の種類を示す媒体種別情報の少なくとも1つを含む、請求項1~6のいずれかに記載のサービス提供システム。
(【請求項11】以降は省略されています)
発明の詳細な説明
【技術分野】
【0001】
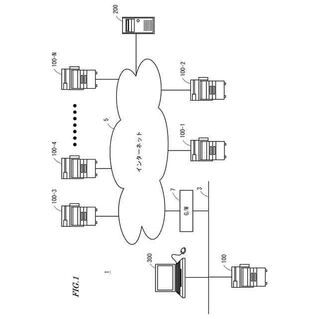
この発明は、サービス提供システム、サービス提供サーバー、印刷設定支援方法および印刷設定支援プログラムに関し、特に、画像形成装置に印刷ジョブを実行させるための設定を支援するサービス提供システム、サービス提供サーバー、そのサービス提供サーバーで実行される印刷設定支援方法、その印刷設定支援方法をコンピューターに実行させる印刷設定支援プログラム関する。
続きを表示(約 1,300 文字)
【0002】
画像形成装置に印刷ジョブを実行させる場合に、種々の設定項目に値を設定する作業が必要である。設定作業において、設定項目が複数であることから高画質で印刷するための設定に熟練を要する。特に、顧客から注文を受けた印刷物を製造するために画像形成装置を用いる場合には、より詳細な設定が必要な場合がある。
【0003】
例えば、特開2015-150792号公報には、印刷ジョブを解析し、前記解析の結果に基づいて仮の印刷設定を表示する表示手段と、前記仮の印刷設定に対する変更内容を受け付ける受付手段と、前記変更内容に基づいて統計情報を更新する更新手段と、を有し、前記表示手段は、前記統計情報に基づいて前記仮の印刷設定を表示することを特徴とする印刷設定制御装置が記載されている。
【0004】
一方、画像形成装置の状態の違いによって設定内容が異なる場合がある。例えば、感光体ドラムが寿命に近づいている場合と、交換して間もない場合とで、画質が異なってくる。このため、特開2015-150792号公報に記載の印刷設定制御装置によれば、画像形成装置の状態が異なる場合に最適な印刷設定を表示するとは限らないといった問題がある。
【先行技術文献】
【特許文献】
【0005】
特開2015-150792号公報
【発明の概要】
【発明が解決しようとする課題】
【0006】
この発明は上述した問題点を解決するためになされたもので、この発明の目的の一つは、印刷ジョブを実行させるための設定作業を支援することが可能なサービス提供システムを提供することである。
【0007】
この発明の他の目的は、印刷ジョブを実行させるための設定作業を支援することが可能なサービス提供サーバーを提供することである。
【0008】
この発明のさらに他の目的は、印刷ジョブを実行させるための設定作業を支援することが可能な印刷設定支援方法を提供することである。
【0009】
この発明のさらに他の目的は、印刷ジョブを実行させるための設定作業を支援することが可能な印刷設定支援プログラムを提供することである。
【課題を解決するための手段】
【0010】
上述した目的を達成するためにこの発明のある局面によれば、サービス提供システムは、第1の画像形成装置に関する装置の使用状態の特徴を示す状態情報と第1の画像形成装置で実行される予定の第1印刷ジョブに関する印刷ジョブの特徴を示すジョブ情報とを、それぞれ第1状態情報および第1ジョブ情報として取得するデータ取得部と、複数の第2の画像形成装置それぞれの状態情報である第2状態情報および複数の第2の画像形成装置それぞれで実行された第2印刷ジョブに対応するジョブ情報である第2ジョブ情報を機械学習させた学習モデルを用いて第1状態情報および第1ジョブ情報に基づいて決定される第1印刷ジョブを実行するための設定情報を出力する設定出力部と、を備える。
(【0011】以降は省略されています)
この特許をJ-PlatPat(特許庁公式サイト)で参照する
関連特許
コニカミノルタ株式会社
緩衝材
16日前
コニカミノルタ株式会社
パレット
24日前
コニカミノルタ株式会社
光計測装置
3日前
コニカミノルタ株式会社
画像形成装置
19日前
コニカミノルタ株式会社
画像形成装置
17日前
コニカミノルタ株式会社
情報処理装置
19日前
コニカミノルタ株式会社
液滴吐出装置
11日前
コニカミノルタ株式会社
画像形成方法
26日前
コニカミノルタ株式会社
画像形成装置
9日前
コニカミノルタ株式会社
超音波診断装置
17日前
コニカミノルタ株式会社
画像形成システム
18日前
コニカミノルタ株式会社
放射線撮影システム
9日前
コニカミノルタ株式会社
放射線撮影システム
9日前
コニカミノルタ株式会社
画像形成装置、画像形成方法
24日前
コニカミノルタ株式会社
画像読取装置及び画像形成システム
3日前
コニカミノルタ株式会社
用紙加湿装置及び画像形成システム
27日前
コニカミノルタ株式会社
トナー収容容器および画像形成装置
3日前
コニカミノルタ株式会社
用紙搬送装置及び画像形成システム
18日前
コニカミノルタ株式会社
抗菌剤塗布装置および画像形成装置
16日前
コニカミノルタ株式会社
開発システムおよび学習管理システム
16日前
コニカミノルタ株式会社
画像形成装置、補正方法及びプログラム
24日前
コニカミノルタ株式会社
医療用検査装置、および医療用検査方法
16日前
コニカミノルタ株式会社
定着部材、定着装置および画像形成装置
25日前
コニカミノルタ株式会社
仲介システム、仲介方法及びプログラム
16日前
コニカミノルタ株式会社
定着部材、定着装置および画像形成装置
17日前
コニカミノルタ株式会社
画像形成装置、制御方法及びプログラム
3日前
コニカミノルタ株式会社
インクジェット記録装置及びプログラム
11日前
コニカミノルタ株式会社
抽出装置、抽出方法および抽出プログラム
24日前
コニカミノルタ株式会社
動態画像解析装置、方法、及びプログラム。
9日前
コニカミノルタ株式会社
動態画像解析装置、方法、及びプログラム。
9日前
コニカミノルタ株式会社
ブラシ、ブラシの製造方法および画像形成装置
17日前
コニカミノルタ株式会社
ブラシ、ブラシの製造方法および画像形成装置
17日前
コニカミノルタ株式会社
画像形成装置、キャリア排出方法及びプログラム
19日前
コニカミノルタ株式会社
プログラム、情報処理システム及び情報処理方法
9日前
コニカミノルタ株式会社
情報処理装置、情報表示システム及びプログラム
3日前
コニカミノルタ株式会社
情報処理装置、情報処理方法、及び、プログラム
24日前
続きを見る
他の特許を見る