TOP
|
特許
|
意匠
|
商標
特許ウォッチ
Twitter
他の特許を見る
10個以上の画像は省略されています。
公開番号
2025169789
公報種別
公開特許公報(A)
公開日
2025-11-14
出願番号
2024074905
出願日
2024-05-02
発明の名称
中綴じ処理機構および中綴じ処理機構を備えた画像形成装置
出願人
コニカミノルタ株式会社
代理人
弁理士法人磯野国際特許商標事務所
主分類
B42C
19/02 20060101AFI20251107BHJP(製本;アルバム;ファイル;特殊印刷物)
要約
【課題】少枚数の冊子でも糊付け接着が可能な中綴じ処理機構および中綴じ処理機構を備えた画像形成装置が提供される。
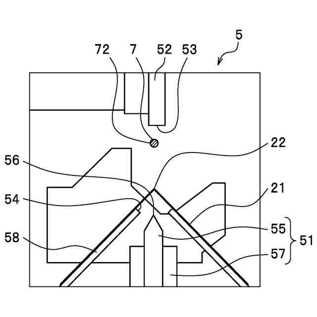
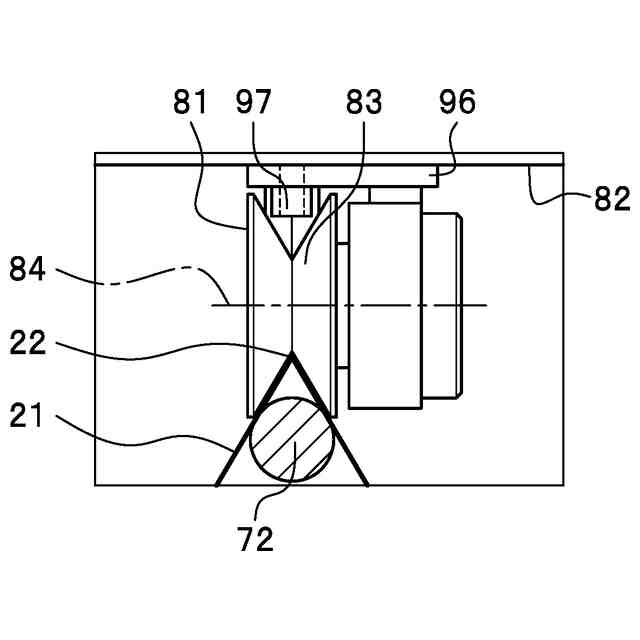
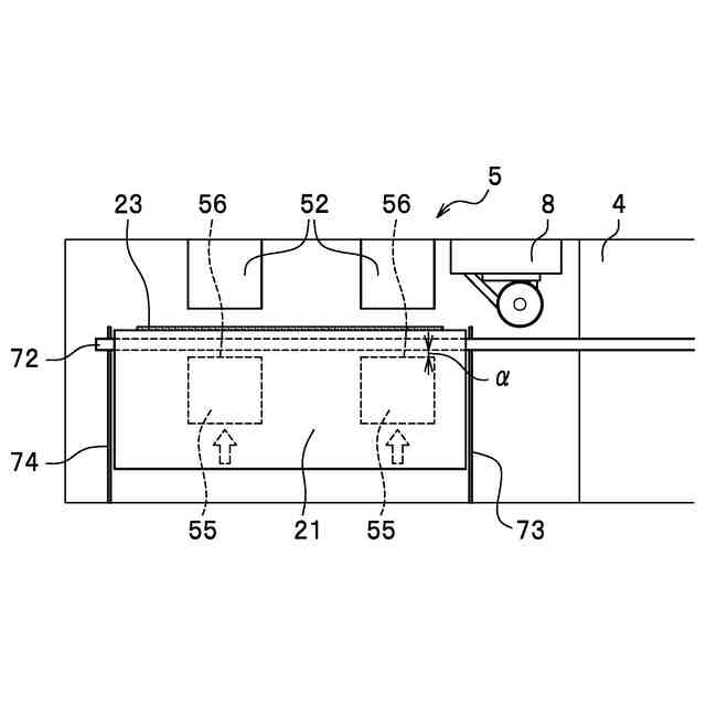
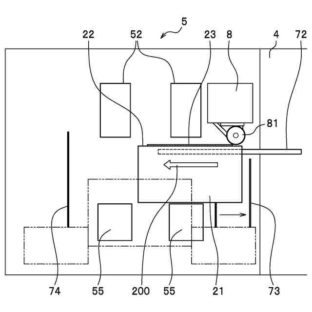
【解決手段】画像形成装置1の中綴じ処理機構を設けた製本ユニット3は、用紙21を二つ折りして山部22を形成する中折部4を備える。製本ユニット3は、搬送部7を備える。搬送部7は、山部22を下方から支持して搬送する支持部材72を有している。中綴じ処理機構は、搬送中の用紙21のうち山部22に糊23を塗布する糊付部8と、搬送された複数の用紙21を重ねて綴じる中綴部5と、を備える。中綴部5は、山部22を下方から持ち上げて、それぞれの用紙21の山部22を一致させるリフト部材51を有する。中綴部5は、リフト部材51との間で山部22を押圧する押圧部材52を有する。
【選択図】図1
特許請求の範囲
【請求項1】
媒体を二つ折りして山部を形成する中折部と、
前記媒体の山部を下方から支持して搬送する支持部材を有する搬送部と、
搬送中の前記媒体のうち前記山部に糊を塗布する糊付部と、
搬送された複数の前記媒体を重ねて綴じる中綴部と、を備え、
前記中綴部は、前記山部を下方から持ち上げて、それぞれの前記媒体の山部を一致させるリフト部材と、前記リフト部材との間で前記山部を押圧する押圧部材と、を有する中綴じ処理機構。
続きを表示(約 730 文字)
【請求項2】
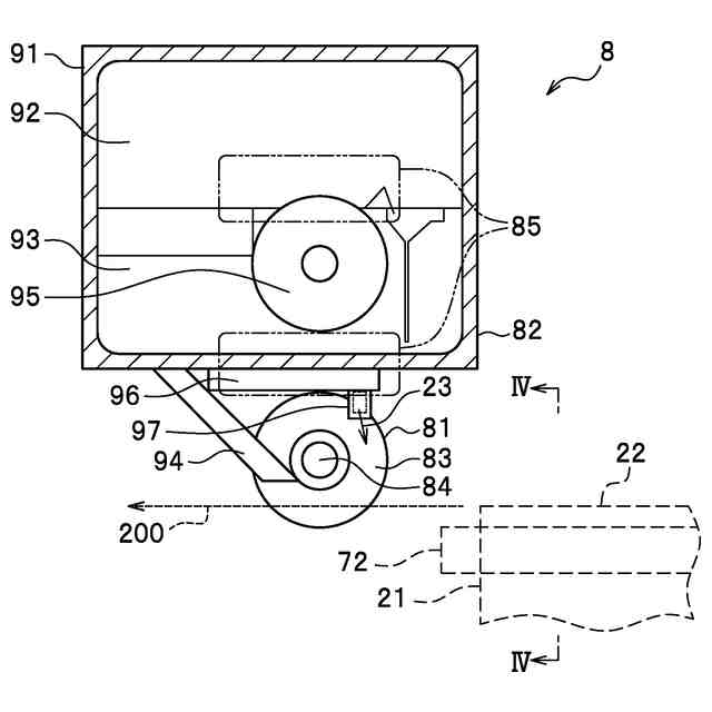
前記糊付部は、前記媒体の前記山部に係合する溝部を外周面に形成した糊付けローラと、
前記溝部に糊を供給する糊供給部と、を有し、
前記糊付けローラは、前記支持部材が支持する前記山部に、前記溝部の糊を回転しながら付着させる、請求項1記載の中綴じ処理機構。
【請求項3】
前記糊付部は、前記糊付けローラに固着した糊を溶融させる加熱装置を有する、請求項2記載の中綴じ処理機構。
【請求項4】
前記糊付部は、前記糊付けローラに供給された糊を、均等に前記山部に付着させるように調整する供給スクレーパを有する、請求項2記載の中綴じ処理機構。
【請求項5】
前記糊付部は、前記糊付けローラに残存した糊を、掻き取る掻取スクレーパを有する、請求項2記載の中綴じ処理機構。
【請求項6】
前記糊付部は、前記掻取スクレーパで掻き取った糊を回収する回収ボックスを有する、請求項5記載の中綴じ処理機構。
【請求項7】
前記リフト部材は、前記支持部材との間隔を変更可能な高さ調整部を有する、請求項1記載の中綴じ処理機構。
【請求項8】
前記押圧部材には、複数の媒体を重ねた状態で止める針を突出させるステプラ機構が設けられている、請求項1記載の中綴じ処理機構。
【請求項9】
複数の前記媒体を重ねた状態で小口を裁断するカッターを有する小口裁断部を備える、
請求項1記載の中綴じ処理機構。
【請求項10】
前記中折部は、前記媒体を不均等に二つ折り可能とする、請求項1記載の中綴じ処理機構。
(【請求項11】以降は省略されています)
発明の詳細な説明
【技術分野】
【0001】
本発明は、中綴じ処理機構および中綴じ処理機構を備えた画像形成装置に関する。
続きを表示(約 1,500 文字)
【背景技術】
【0002】
従来、画像形成装置で印刷された用紙を製本する中綴じ処理機構が知られている。中綴じ処理機構は、画像形成後の用紙をローラ対で二つ折りにする中折り機構と二つ折り用紙を束ねた冊子の山部を綴じる中綴じ機構とを有している(特許文献1,2参照)。
【先行技術文献】
【特許文献】
【0003】
特許6089675号公報
特許4277937号公報
【発明の概要】
【発明が解決しようとする課題】
【0004】
一般に、針を用いて山部を綴じて製本された中綴じ冊子の場合、シュレッダ処分する前に針を除去する必要がある。この際、外れた針や中身が散乱しないように注意が必要である。特に小数枚の冊子で配布されることが多い公共機関のチラシや学校の頒布物などは、中綴じ冊子を利用することが多いが、中身が散乱し易いという問題がある。
【0005】
このため、針を使わない糊付けによる製本が望まれている。しかしながら、現状の糊付けする糊付け無線綴じ(くるみ製本)装置は、少枚数(たとえば十枚以下)の用紙に糊付けが出来ない。また、無線綴じ製本では、重ねた用紙を包む表紙が必要になる。
さらに、特許文献1,2に記載されたものでは、用紙の枚数や製本の形状が限定され、製本効率を向上させるためには、さらなる改良が求められている。
現状の中綴じ機構で上部に針を入れるマガジンを交換可能な糊付け機構に代えて、下部の針を曲げるクリンチャ機構を糊付け押圧の支持台として使う装置が考えられる。しかし、1枚ずつの糊付けと押圧の工程が必要となり、生産性が従来技術より落ちるという課題がある。
【0006】
本発明は、このような背景を鑑みてなされたものである。すなわち、少枚数の冊子でも糊付け接着が可能な中綴じ処理機構および中綴じ処理機構を備えた画像形成装置を提供することを課題とする。
【課題を解決するための手段】
【0007】
本発明の上記課題は、下記の構成により解決される。
(1)画像形成装置の中綴じ処理機構は、媒体を二つ折りして山部を形成する中折部と、前記山部を下方から支持して搬送する支持部材を有する搬送部と、を備える。中綴じ処理機構は、搬送中の前記媒体のうち前記山部に糊を塗布する糊付部と、搬送された複数の前記用紙を重ねて綴じる中綴部と、を備える。前記中綴部は、前記山部を下方から持ち上げて、それぞれの前記媒体の山部を一致させるリフト部材と、前記リフト部材との間で前記山部を押圧する押圧部材と、を有する。
【0008】
(2)前記糊付部は、前記媒体の前記山部に係合する溝部を外周面に形成した糊付けローラと、前記溝部に糊を供給する糊供給部と、を有する。前記糊付けローラは、前記支持部材が支持する前記山部に、前記溝部の糊を回転しながら付着させる、(1)記載の中綴じ処理機構。
【0009】
(3)前記糊付部は、前記糊付けローラに固着した糊を溶融させる加熱装置を有する、(2)記載の中綴じ処理機構。
(4)前記糊付部は、前記糊付けローラに供給された糊を、均等に前記山部に付着させるように調整する供給スクレーパを有する、(2)記載の中綴じ処理機構。
【0010】
(5)前記糊付部は、前記糊付けローラに残存した糊を、掻き取る掻取スクレーパを有する、(2)記載の中綴じ処理機構。
(6)前記糊付部は、前記掻取スクレーパで掻き取った糊を回収する回収ボックスを有する、(5)記載の中綴じ処理機構。
(【0011】以降は省略されています)
この特許をJ-PlatPat(特許庁公式サイト)で参照する
関連特許
コニカミノルタ株式会社
緩衝材
16日前
コニカミノルタ株式会社
パレット
24日前
コニカミノルタ株式会社
光計測装置
3日前
コニカミノルタ株式会社
情報処理装置
19日前
コニカミノルタ株式会社
画像形成装置
19日前
コニカミノルタ株式会社
画像形成装置
17日前
コニカミノルタ株式会社
画像形成方法
26日前
コニカミノルタ株式会社
画像形成装置
9日前
コニカミノルタ株式会社
液滴吐出装置
11日前
コニカミノルタ株式会社
画像形成装置
1か月前
コニカミノルタ株式会社
画像形成装置
1か月前
コニカミノルタ株式会社
超音波診断装置
17日前
コニカミノルタ株式会社
画像形成システム
18日前
コニカミノルタ株式会社
サンプル測定装置
1か月前
コニカミノルタ株式会社
放射線画像撮影装置
1か月前
コニカミノルタ株式会社
放射線撮影システム
9日前
コニカミノルタ株式会社
放射線撮影システム
9日前
コニカミノルタ株式会社
放射線画像撮影装置
1か月前
コニカミノルタ株式会社
放射線画像撮影装置
1か月前
コニカミノルタ株式会社
放射線画像撮影装置
1か月前
コニカミノルタ株式会社
画像形成装置、画像形成方法
24日前
コニカミノルタ株式会社
用紙加湿装置及び画像形成システム
27日前
コニカミノルタ株式会社
用紙搬送装置及び画像形成システム
18日前
コニカミノルタ株式会社
画像読取装置及び画像形成システム
3日前
コニカミノルタ株式会社
画像形成装置及び用紙物性検知方法
1か月前
コニカミノルタ株式会社
抗菌剤塗布装置および画像形成装置
16日前
コニカミノルタ株式会社
トナー収容容器および画像形成装置
3日前
コニカミノルタ株式会社
開発システムおよび学習管理システム
16日前
コニカミノルタ株式会社
医療用検査装置、および医療用検査方法
16日前
コニカミノルタ株式会社
仲介システム、仲介方法及びプログラム
16日前
コニカミノルタ株式会社
定着部材、定着装置および画像形成装置
17日前
コニカミノルタ株式会社
画像形成装置、制御方法及びプログラム
3日前
コニカミノルタ株式会社
インクジェット記録装置及びプログラム
11日前
コニカミノルタ株式会社
画像形成装置、補正方法及びプログラム
24日前
コニカミノルタ株式会社
定着部材、定着装置および画像形成装置
25日前
コニカミノルタ株式会社
抽出装置、抽出方法および抽出プログラム
24日前
続きを見る
他の特許を見る