TOP
|
特許
|
意匠
|
商標
特許ウォッチ
Twitter
他の特許を見る
10個以上の画像は省略されています。
公開番号
2025169688
公報種別
公開特許公報(A)
公開日
2025-11-14
出願番号
2024074653
出願日
2024-05-02
発明の名称
色調整システム、色調整装置、色調整方法及びプログラム
出願人
コニカミノルタ株式会社
代理人
弁理士法人光陽国際特許事務所
主分類
H04N
1/60 20060101AFI20251107BHJP(電気通信技術)
要約
【課題】白色以外の用紙に対する印刷においても、指定色に対する色調整のスキルレス化を図る。
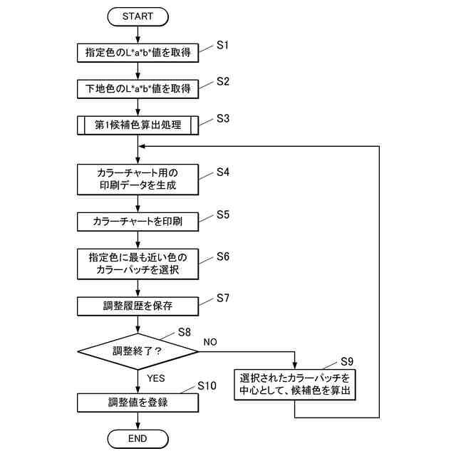
【解決手段】色調整装置は、指定色に対して、印刷装置における各色成分の値を変化させた複数のカラーパッチを含むカラーチャートを、印刷装置に印刷させる(ステップS5)。ここで、色調整装置は、カラーチャートが印刷される用紙の下地色の分だけ、指定色の色をずらした印刷用指定色を求め、当該印刷用指定色及びその近傍色を表現するように、複数のカラーパッチのそれぞれに対応する各色成分の値を算出しておく(ステップS3)。色調整装置は、印刷されたカラーチャートに含まれる複数のカラーパッチの中から、指定色に最も近い色のカラーパッチを選択する(ステップS6)。色調整装置は、選択されたカラーパッチに対応する各色成分の値に基づいて、印刷装置により印刷される指定色の色調整を行う(ステップS10)。
【選択図】図6
特許請求の範囲
【請求項1】
指定色に対して、印刷装置における各色成分の値を変化させた複数のカラーパッチを含むカラーチャートを前記印刷装置に印刷させるチャート作成手段と、
前記印刷されたカラーチャートに含まれる前記複数のカラーパッチの中から、前記指定色に最も近い色のカラーパッチを選択する選択手段と、
前記選択されたカラーパッチに対応する各色成分の値に基づいて、前記印刷装置により印刷される前記指定色の色調整を行う色調整手段と、
を備える色調整システムであって、
前記チャート作成手段は、前記カラーチャートが印刷される用紙の下地色の分だけ、前記指定色の色をずらした印刷用指定色を求め、当該印刷用指定色及びその近傍色を表現するように、前記複数のカラーパッチのそれぞれに対応する各色成分の値を算出する色調整システム。
続きを表示(約 2,300 文字)
【請求項2】
前記指定色の絶対的な色値及び前記下地色の絶対的な色値を記憶する記憶手段を備え、
前記記憶手段に記憶される前記指定色の絶対的な色値及び前記下地色の絶対的な色値は、前記指定色及び前記下地色のそれぞれを測色して得られたデータ、又は、予め登録されているデータであり、
前記チャート作成手段は、前記指定色の絶対的な色値及び前記下地色の絶対的な色値に基づいて、前記複数のカラーパッチのそれぞれに対応する各色成分の値を算出する、
請求項1に記載の色調整システム。
【請求項3】
前記チャート作成手段は、前記指定色及び前記下地色に基づいて、前記複数のカラーパッチにおける各色成分の間隔を自動的に決定する、
請求項1に記載の色調整システム。
【請求項4】
前記チャート作成手段は、
前記印刷用指定色が前記印刷装置の色域内であるか、色域外であるかを判定し、
前記印刷用指定色が前記印刷装置の色域外であると判定した場合に、明度を維持するように、彩度を維持するように、又は、変換前後の色差が最小となるように、前記印刷用指定色を前記印刷装置の色域内の色に変換する、
請求項1に記載の色調整システム。
【請求項5】
前記カラーチャートの印刷と、前記指定色に最も近い色のカラーパッチの選択と、を繰り返し行うものであり、
前記チャート作成手段は、一つ前の段階で印刷されたカラーチャートに含まれる前記複数のカラーパッチの中から、前記選択手段により選択されたカラーパッチに基づいて、次に印刷されるカラーチャートに含まれる前記複数のカラーパッチにおける各色成分の間隔を自動的に決定する、
請求項1に記載の色調整システム。
【請求項6】
前記選択手段により選択されたカラーパッチ、及び、当該カラーパッチが含まれるカラーチャートの履歴を保存する履歴保存手段を備え、
前記チャート作成手段は、前記履歴保存手段に保存されているカラーチャートの中から指定されたカラーチャートを前記印刷装置に再度印刷させ、
前記選択手段は、前記再度印刷されたカラーチャートに含まれる前記複数のカラーパッチの中から、前記指定色に最も近い色のカラーパッチを再度選択する、
請求項5に記載の色調整システム。
【請求項7】
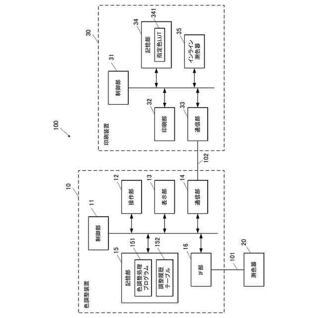
前記印刷されたカラーチャートに含まれる前記複数のカラーパッチを測色する測色器を備え、
前記選択手段は、前記測色器により得られた前記複数のカラーパッチのそれぞれに対応する測色値に基づいて、前記指定色との色差が最小のカラーパッチを選択する、
請求項1に記載の色調整システム。
【請求項8】
前記印刷されたカラーチャートに含まれる前記複数のカラーパッチを測色する測色器と、
前記選択手段として、前記測色器により得られた前記複数のカラーパッチのそれぞれに対応する測色値に基づいて、前記指定色との色差が最小のカラーパッチを選択する第1選択手段、又は、作業者が目視により判断した結果を受け付けることで、前記指定色に最も近い色のカラーパッチを選択する第2選択手段を設定する設定手段と、
を備える、
請求項1に記載の色調整システム。
【請求項9】
前記印刷されたカラーチャートに含まれる前記複数のカラーパッチを測色する測色器と、
第1モード、又は、第2モードを設定する設定手段と、
を備え、
前記第1モードでは、
前記チャート作成手段は、前記複数のカラーパッチにおける各色成分の間隔を自動的に決定し、
前記チャート作成手段は、前記印刷用指定色が前記印刷装置の色域外であると判定した場合に、予め定められた基準に従って、前記印刷用指定色を前記印刷装置の色域内の色に自動的に変換し、
前記選択手段は、前記測色器により得られた前記複数のカラーパッチのそれぞれに対応する測色値に基づいて、前記指定色との色差が最小のカラーパッチを自動的に選択し、
前記第2モードでは、
前記チャート作成手段は、作業者による手動指示に基づいて、前記複数のカラーパッチにおける各色成分の間隔を決定し、
前記チャート作成手段は、前記印刷用指定色が前記印刷装置の色域外であると判定した場合に、作業者により手動設定された基準に従って、前記印刷用指定色を前記印刷装置の色域内の色に変換し、
前記選択手段は、作業者が目視により判断した結果を受け付けることで、前記指定色に最も近い色のカラーパッチを選択する、
請求項1に記載の色調整システム。
【請求項10】
指定色に対して、印刷装置における各色成分の値を変化させた複数のカラーパッチを含むカラーチャートを前記印刷装置に印刷させるチャート作成手段と、
前記印刷されたカラーチャートに含まれる前記複数のカラーパッチの中から、前記指定色に最も近い色のカラーパッチを選択する選択手段と、
前記選択されたカラーパッチに対応する各色成分の値に基づいて、前記印刷装置により印刷される前記指定色の色調整を行う色調整手段と、
を備える色調整装置であって、
前記チャート作成手段は、前記カラーチャートが印刷される用紙の下地色の分だけ、前記指定色の色をずらした印刷用指定色を求め、当該印刷用指定色及びその近傍色を表現するように、前記複数のカラーパッチのそれぞれに対応する各色成分の値を算出する色調整装置。
(【請求項11】以降は省略されています)
発明の詳細な説明
【技術分野】
【0001】
本発明は、色調整システム、色調整装置、色調整方法及びプログラムに関する。
続きを表示(約 1,600 文字)
【背景技術】
【0002】
特色は、コーポレートカラー等の印刷に用いられる。特色の色材(特色トナー、特色インク等)を用いずに特色を表現する場合、シアン、マゼンタ、イエロー及びブラックの色材を混合して、特色に近い色を疑似的に再現する必要がある。この色調整には、高度なスキルが求められるため、作業者は熟練者等に限られる。
【0003】
そこで、特色等の指定色の色調整について、見本の色(指定色)に近い複数のカラーパッチを配置したカラーチャートを印刷する工程と、印刷された複数のカラーパッチの中から、見本の色に最も近い色のカラーパッチを選択する工程と、を繰り返す方法がある。
【0004】
例えば、カラーチャートの印刷前に、指定色の入力方法の種類に基づいて印刷色の変動範囲を予測し、変動範囲に基づいてカラーパッチの個数又は色間隔を決定する技術が提案されている(特許文献1参照)。これにより、色見本と比較するカラーパッチの個数、及び、カラーチャートの印刷回数が減少し、色調整の作業効率が向上する。
【先行技術文献】
【特許文献】
【0005】
特開2011-114717号公報
【発明の概要】
【発明が解決しようとする課題】
【0006】
しかしながら、複数のカラーパッチ(候補色)を印刷し、指定色に最も近いカラーパッチを選択する色調整方法は、用紙の下地色が白色であることが前提であった。つまり、カラーチャートが印刷される用紙が白色以外の色である場合には、上記の方法で色調整を行うことは困難であった。
【0007】
白色以外の用紙に複数のカラーパッチ(候補色)を印刷する場合、各カラーパッチの色は指定色から遠い色になってしまう。そのため、作業者がカラーチャート内から、指定色に最も近い色のカラーパッチを選択することは難しい。その場合、指定色に近い色がカラーチャートに出現するまで、カラーチャートの印刷を繰り返したり、別途調整作業を行ったりする必要がある。つまり、作業者の手間又はスキルが要求される。
【0008】
本発明は、上記の従来技術における問題に鑑みてなされたものであって、白色以外の用紙に対する印刷においても、指定色に対する色調整のスキルレス化を図ることを課題とする。
【課題を解決するための手段】
【0009】
上記課題を解決するために、請求項1に記載の発明は、指定色に対して、印刷装置における各色成分の値を変化させた複数のカラーパッチを含むカラーチャートを前記印刷装置に印刷させるチャート作成手段と、前記印刷されたカラーチャートに含まれる前記複数のカラーパッチの中から、前記指定色に最も近い色のカラーパッチを選択する選択手段と、前記選択されたカラーパッチに対応する各色成分の値に基づいて、前記印刷装置により印刷される前記指定色の色調整を行う色調整手段と、を備える色調整システムであって、前記チャート作成手段は、前記カラーチャートが印刷される用紙の下地色の分だけ、前記指定色の色をずらした印刷用指定色を求め、当該印刷用指定色及びその近傍色を表現するように、前記複数のカラーパッチのそれぞれに対応する各色成分の値を算出する。
【0010】
請求項2に記載の発明は、請求項1に記載の色調整システムにおいて、前記指定色の絶対的な色値及び前記下地色の絶対的な色値を記憶する記憶手段を備え、前記記憶手段に記憶される前記指定色の絶対的な色値及び前記下地色の絶対的な色値は、前記指定色及び前記下地色のそれぞれを測色して得られたデータ、又は、予め登録されているデータであり、前記チャート作成手段は、前記指定色の絶対的な色値及び前記下地色の絶対的な色値に基づいて、前記複数のカラーパッチのそれぞれに対応する各色成分の値を算出する。
(【0011】以降は省略されています)
この特許をJ-PlatPat(特許庁公式サイト)で参照する
関連特許
コニカミノルタ株式会社
緩衝材
16日前
コニカミノルタ株式会社
パレット
24日前
コニカミノルタ株式会社
光計測装置
3日前
コニカミノルタ株式会社
情報処理装置
19日前
コニカミノルタ株式会社
画像形成装置
19日前
コニカミノルタ株式会社
画像形成装置
17日前
コニカミノルタ株式会社
画像形成方法
26日前
コニカミノルタ株式会社
画像形成装置
9日前
コニカミノルタ株式会社
液滴吐出装置
11日前
コニカミノルタ株式会社
画像形成装置
1か月前
コニカミノルタ株式会社
画像形成装置
1か月前
コニカミノルタ株式会社
超音波診断装置
17日前
コニカミノルタ株式会社
画像形成システム
18日前
コニカミノルタ株式会社
サンプル測定装置
1か月前
コニカミノルタ株式会社
放射線画像撮影装置
1か月前
コニカミノルタ株式会社
放射線撮影システム
9日前
コニカミノルタ株式会社
放射線撮影システム
9日前
コニカミノルタ株式会社
放射線画像撮影装置
1か月前
コニカミノルタ株式会社
放射線画像撮影装置
1か月前
コニカミノルタ株式会社
放射線画像撮影装置
1か月前
コニカミノルタ株式会社
画像形成装置、画像形成方法
24日前
コニカミノルタ株式会社
用紙加湿装置及び画像形成システム
27日前
コニカミノルタ株式会社
用紙搬送装置及び画像形成システム
18日前
コニカミノルタ株式会社
画像読取装置及び画像形成システム
3日前
コニカミノルタ株式会社
画像形成装置及び用紙物性検知方法
1か月前
コニカミノルタ株式会社
抗菌剤塗布装置および画像形成装置
16日前
コニカミノルタ株式会社
トナー収容容器および画像形成装置
3日前
コニカミノルタ株式会社
開発システムおよび学習管理システム
16日前
コニカミノルタ株式会社
医療用検査装置、および医療用検査方法
16日前
コニカミノルタ株式会社
仲介システム、仲介方法及びプログラム
16日前
コニカミノルタ株式会社
定着部材、定着装置および画像形成装置
17日前
コニカミノルタ株式会社
画像形成装置、制御方法及びプログラム
3日前
コニカミノルタ株式会社
インクジェット記録装置及びプログラム
11日前
コニカミノルタ株式会社
画像形成装置、補正方法及びプログラム
24日前
コニカミノルタ株式会社
定着部材、定着装置および画像形成装置
25日前
コニカミノルタ株式会社
抽出装置、抽出方法および抽出プログラム
24日前
続きを見る
他の特許を見る