TOP
|
特許
|
意匠
|
商標
特許ウォッチ
Twitter
他の特許を見る
10個以上の画像は省略されています。
公開番号
2025170610
公報種別
公開特許公報(A)
公開日
2025-11-19
出願番号
2024075339
出願日
2024-05-07
発明の名称
画像形成方法、インクジェット捺染用インクセット及びインクジェット捺染装置
出願人
コニカミノルタ株式会社
代理人
弁理士法人鷲田国際特許事務所
主分類
D06P
5/30 20060101AFI20251112BHJP(繊維または類似のものの処理;洗濯;他に分類されない可とう性材料)
要約
【課題】ベルトクリーニング性と、画像の摩擦堅牢性とを両立することができる画像形成方法、インクジェット捺染用インクセット及びインクジェット捺染装置を提供する。
【解決手段】カチオン性樹脂を含む第1処理液を記録媒体に付与する第1処理液付与工程と、第1処理液が付与された記録媒体上に、顔料と、アニオン性ブロック共重合体と、アニオン性樹脂分散体Aと、を含む顔料インクをウェットオンウェットで付与する顔料インク付与工程と、第1処理液調整工程と、を含み、顔料インクが付与された記録媒体上に、アニオン性樹脂分散体Bを含む第2処理液をウェットオンウェットで付与する第2処理液付与工程と、第2処理液調整工程と、を含んでもよく、前記第1処理液調整工程や第2処理液調整工程は、所定の条件でベタ画像を形成するときには、所定の関係式を満たすように第1処理液や第2処理液の付量を調整する。
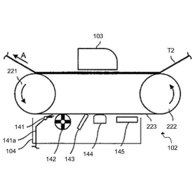
【選択図】図1
特許請求の範囲
【請求項1】
少なくとも第1処理液と、顔料インクと、を含むインクジェット捺染用インクセットの各液をインクジェットヘッドから吐出して、記録媒体に付与する工程を含む、画像形成方法であって、
前記第1処理液を前記記録媒体に付与する第1処理液付与工程と、
前記第1処理液が付与された記録媒体上に、前記顔料インクをウェットオンウェットで付与する顔料インク付与工程と、
前記第1処理液の付量を調整する第1処理液調整工程と、を含み、
前記顔料インクが付与された記録媒体上に、ガラス転移温度0℃以下のアニオン性樹脂分散体Bを含む第2処理液をウェットオンウェットで付与する第2処理液付与工程と、
前記第2処理液の付量を調整する第2処理液調整工程と、を含んでもよく、
前記第1処理液は、カチオン性樹脂を含み、
前記顔料インクは、顔料と、アニオン性ブロック共重合体と、ガラス転移温度0℃以下のアニオン性樹脂分散体Aと、を含み、
前記画像形成方法が第2処理液付与工程を含まない場合、前記第1処理液調整工程では、顔料インクの付量15g/m
2
の条件でベタ画像を形成するときには、下記式(1)を満たすよう調整し、
前記画像形成方法が第2処理液付与工程を含む場合、前記第1処理液調整工程及び前記第2処理液調整工程では、顔料インクの付量15g/m
2
の条件でベタ画像を形成するときには、下記式(1)を満たすよう調整する、
画像形成方法。
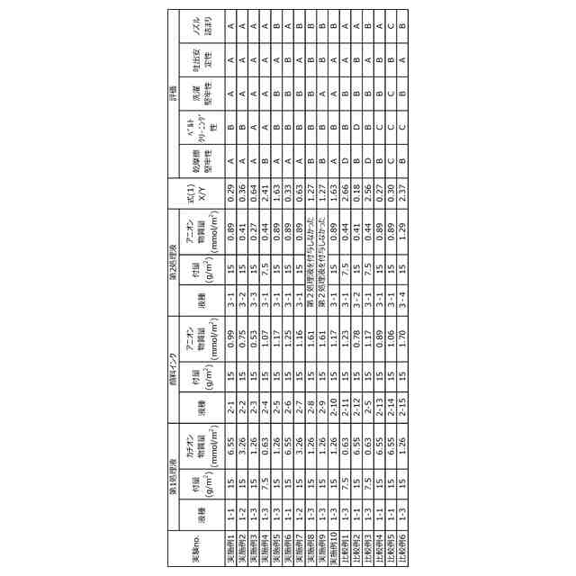
式(1) 0.29≦(X/Y)≦2.41
(式中、
X(mmol/m
2
):
前記画像形成方法が前記第2処理液付与工程を含まない場合、前記記録媒体の単位面積(m
2
)あたりの、前記アニオン性ブロック共重合体のアニオン物質量と、前記アニオン性樹脂分散体Aのアニオン物質量と、の合計物質量を示し、
前記画像形成方法が前記第2処理液付与工程を含む場合、前記記録媒体の単位面積(m
2
)あたりの、前記アニオン性ブロック共重合体のアニオン物質量と、前記アニオン性樹脂分散体Aのアニオン物質量と、前記アニオン性樹脂分散体Bのアニオン物質量との合計物質量を示し、
Y(mmol/m
2
):
前記記録媒体の単位面積(m
2
)あたりの、前記カチオン性樹脂のカチオン物質量
を示す。)
続きを表示(約 1,800 文字)
【請求項2】
前記カチオン性樹脂のカチオン価が、1.2mmol/g~6.2mmol/gである、
請求項1に記載の画像形成方法。
【請求項3】
前記アニオン性ブロック共重合体の酸価が、75mgKOH/g~125mgKOH/gである、
請求項1に記載の画像形成方法。
【請求項4】
前記アニオン性ブロック共重合体は、その分子両末端に配置され、前記カチオン性樹脂と相互作用又は反応する2つの親水性ブロックAと、前記2つの親水性ブロックの間に配置された疎水性ブロックBとを含む、ABA型アニオン性ブロック共重合体である、
請求項1に記載の画像形成方法。
【請求項5】
前記アニオン性樹脂分散体Aと、前記アニオン性樹脂分散体Bとが共に、(メタ)アクリル樹脂分散体及びウレタン樹脂分散体からなる群から選択されるアニオン性樹脂分散体である、
請求項1に記載の画像形成方法。
【請求項6】
前記顔料インクと、前記第2処理液とが共に、シリコーンアクリル樹脂を含む、
請求項1に記載の画像形成方法。
【請求項7】
前記顔料インク及び/又は前記第2処理液が、架橋剤を含む、
請求項1に記載の画像形成方法。
【請求項8】
請求項1~7のいずれか一項に記載の画像形成方法で用いられる、少なくとも第1処理液と、顔料インクと、を含むインクジェット捺染用インクセットであって、
前記インクジェット捺染用インクセットは、ガラス転移温度0℃以下のアニオン性樹脂分散体Bを含む第2処理液を含んでもよく、
前記第1処理液は、カチオン性樹脂を含み、
前記顔料インクは、顔料と、アニオン性ブロック共重合体と、ガラス転移温度0℃以下のアニオン性樹脂分散体Aと、を含む、
インクジェット捺染用インクセット。
【請求項9】
少なくとも第1処理液と、顔料インクと、を含むインクジェット捺染用インクセットの各液をインクジェットヘッドから吐出して、記録媒体に付与するインクジェット捺染装置であって、
前記第1処理液を前記記録媒体に付与する第1処理液用吐出ヘッドと、
前記第1処理液が付与された記録媒体上に、前記顔料インクをウェットオンウェットで付与するインクジェットヘッドと、
前記第1処理液の付量を調整する第1処理液調整部を含み、
前記顔料インクが付与された記録媒体上に、ガラス転移温度0℃以下のアニオン性樹脂分散体Bを含む第2処理液をウェットオンウェットで付与する第2処理液用吐出ヘッドと、
前記第2処理液の付量を調整する第2処理液調整部と、を含んでもよく、
前記第1処理液は、カチオン性樹脂を含み、
前記顔料インクは、顔料と、アニオン性ブロック共重合体と、ガラス転移温度0℃以下のアニオン性樹脂分散体Aと、を含み、
前記第2処理液を付与しない場合、前記第1処理液調整部では、顔料インクの付量15g/m
2
の条件でベタ画像を形成するときには、下記式(1)を満たすよう調整し、
前記第2処理液を付与する場合、前記第1処理液調整部及び前記第2処理液調整部では、顔料インクの付量15g/m
2
の条件でベタ画像を形成するときには、下記式(1)を満たすよう調整する、
インクジェット捺染装置。
式(1) 0.29≦(X/Y)≦2.41
(式中、
X(mmol/m
2
):
前記第2処理液を付与しない場合、前記記録媒体の単位面積(m
2
)あたりの、前記アニオン性ブロック共重合体のアニオン物質量と、前記アニオン性樹脂分散体Aのアニオン物質量と、の合計物質量を示し、
前記第2処理液を付与する場合、前記記録媒体の単位面積(m
2
)あたりの、前記アニオン性ブロック共重合体のアニオン物質量と、前記アニオン性樹脂分散体Aのアニオン物質量と、前記アニオン性樹脂分散体Bのアニオン物質量との合計物質量を示し、
Y(mmol/m
2
):
前記記録媒体の単位面積(m
2
)あたりの、前記カチオン性樹脂のカチオン物質量
を示す。)
発明の詳細な説明
【技術分野】
【0001】
本発明は、画像形成方法、インクジェット捺染用インクセット及びインクジェット捺染装置に関する。
続きを表示(約 1,300 文字)
【背景技術】
【0002】
捺染方法として、近年では、短時間で染色でき、生産効率が高いこと等から、インクジェット方式により布帛への画像形成を行う、インクジェット捺染が広く行われている。
【0003】
インクジェット捺染に使用される顔料系インクとしては、顔料と、顔料分散剤とを含むインクや、自己分散性顔料を含むインクが知られている。そして、顔料系インクに含まれる顔料を凝集させやすくして、顔料系インクの滲みを抑制したり、定着性を高めたりする観点などから、布帛に、顔料分散体を凝集させるための凝集剤を付与する前処理や後処理を行うことが検討されている。
【0004】
例えば、特許文献1では、インクジェット印刷ステップに先立って、少なくとも1種の顔料凝集剤を含むプライマー組成物をコーティング基材に塗布し、所定の条件で前記コーティング基材に印刷される印刷方法、が開示されている。特許文献1に記載の発明によれば、コーティング基材、特に吸収が遅いコーティング基材にインクジェット印刷を使用する、良好な画質が得られる印刷方法を提供できる、とされている。
【0005】
また、特許文献2では、カーボンブラック顔料が、特定の構造を有するAブロックとBブロックとを含むブロックコポリマーであるポリマー分散剤により第1の水性ビヒクル中で分散液に対して安定化されている、ブラックインクジェットインクが開示されている。特許文献2に記載の発明によれば、より良い印刷品質及び噴射信頼性を有するインク及び方法を提供できる、とされている。
【先行技術文献】
【特許文献】
【0006】
特表2022-546944号公報
特表2010-513672号公報
【発明の概要】
【発明が解決しようとする課題】
【0007】
例えば、前処理を行う場合、布帛上にインクジェット方式により前処理液を付与した後、乾燥させて、更にインクを付与する(ウェットオンドライ)方式が知られている。また、例えば、布帛上にインクジェット方式により前処理液を付与し、乾燥させず、連続的にインクを付与する(ウェットオンウェット)方式が知られている。これらの付与方式のうち、装置の小型化や高速化の観点で、ウェットオンウェット方式が検討されている。
【0008】
しかしながら、本発明者らの知見によると、ウェットオンウェット方式で、特許文献1、2に記載のインクセットを付与すると、搬送ベルト上に付着物が生じ、ベルトを洗浄しづらく(ベルトクリーニング性が悪い)なったり、乾摩擦堅牢性が十分でなかったりする、という問題があった。
【0009】
本発明は、上記事情に鑑みてなされたものであり、ベルトクリーニング性と、画像の摩擦堅牢性とを両立することができる画像形成方法、インクジェット捺染用インクセット及びインクジェット捺染装置を提供することを目的とする。
【課題を解決するための手段】
【0010】
上記課題を解決するための本発明の一態様は、下記[1]~[7]に記載の画像形成方法に関する。
(【0011】以降は省略されています)
この特許をJ-PlatPat(特許庁公式サイト)で参照する
関連特許
コニカミノルタ株式会社
緩衝材
16日前
コニカミノルタ株式会社
パレット
24日前
コニカミノルタ株式会社
光計測装置
3日前
コニカミノルタ株式会社
画像形成装置
19日前
コニカミノルタ株式会社
画像形成装置
9日前
コニカミノルタ株式会社
情報処理装置
19日前
コニカミノルタ株式会社
画像形成装置
17日前
コニカミノルタ株式会社
画像形成方法
26日前
コニカミノルタ株式会社
液滴吐出装置
11日前
コニカミノルタ株式会社
超音波診断装置
17日前
コニカミノルタ株式会社
画像形成システム
18日前
コニカミノルタ株式会社
放射線画像撮影装置
1か月前
コニカミノルタ株式会社
放射線画像撮影装置
1か月前
コニカミノルタ株式会社
放射線撮影システム
9日前
コニカミノルタ株式会社
放射線撮影システム
9日前
コニカミノルタ株式会社
放射線画像撮影装置
1か月前
コニカミノルタ株式会社
画像形成装置、画像形成方法
24日前
コニカミノルタ株式会社
用紙加湿装置及び画像形成システム
27日前
コニカミノルタ株式会社
用紙搬送装置及び画像形成システム
18日前
コニカミノルタ株式会社
トナー収容容器および画像形成装置
3日前
コニカミノルタ株式会社
抗菌剤塗布装置および画像形成装置
16日前
コニカミノルタ株式会社
画像読取装置及び画像形成システム
3日前
コニカミノルタ株式会社
開発システムおよび学習管理システム
16日前
コニカミノルタ株式会社
仲介システム、仲介方法及びプログラム
16日前
コニカミノルタ株式会社
画像形成装置、補正方法及びプログラム
24日前
コニカミノルタ株式会社
定着部材、定着装置および画像形成装置
17日前
コニカミノルタ株式会社
医療用検査装置、および医療用検査方法
16日前
コニカミノルタ株式会社
インクジェット記録装置及びプログラム
11日前
コニカミノルタ株式会社
定着部材、定着装置および画像形成装置
25日前
コニカミノルタ株式会社
画像形成装置、制御方法及びプログラム
3日前
コニカミノルタ株式会社
抽出装置、抽出方法および抽出プログラム
24日前
コニカミノルタ株式会社
動態画像解析装置、方法、及びプログラム。
9日前
コニカミノルタ株式会社
動態画像解析装置、方法、及びプログラム。
9日前
コニカミノルタ株式会社
インクジェット記録装置及びノズル面清掃方法
1か月前
コニカミノルタ株式会社
ブラシ、ブラシの製造方法および画像形成装置
17日前
コニカミノルタ株式会社
ブラシ、ブラシの製造方法および画像形成装置
17日前
続きを見る
他の特許を見る