TOP
|
特許
|
意匠
|
商標
特許ウォッチ
Twitter
他の特許を見る
公開番号
2025168464
公報種別
公開特許公報(A)
公開日
2025-11-07
出願番号
2025145588,2024059207
出願日
2025-09-02,2016-01-28
発明の名称
画像形成装置
出願人
コニカミノルタ株式会社
代理人
弁理士法人信友国際特許事務所
主分類
G03G
21/00 20060101AFI20251030BHJP(写真;映画;光波以外の波を使用する類似技術;電子写真;ホログラフイ)
要約
【課題】カラーパッチなどを用いずに色調を適切に監視する。
【解決手段】画像形成部を備え、補正用画像データを用いて画像形成部の色補正を行う画像形成装置を、画像形成部により補正用画像データとは異なる画像形成用画像データに基づいて形成された用紙上の画像を読み取る読取部と、画像が形成された1枚目の用紙の読み取り画像データに基づく値と画像が形成されたn枚目の用紙の読み取り画像データに基づく値とを比較し、監視対象に基づいて色調差を監視する第1監視処理と、一定期間において、画像が形成された複数の用紙の読み取り画像データに基づく値を比較し、監視対象に基づいて色調差を監視する第2監視処理とを行う色調監視部と、を備え、色調差と所定の閾値とを比較した比較結果に基づいて色補正を行う第1色補正と、一定の期間または一定の画像形成枚数ごとに色補正を行う第2色補正を行う構成とする。
【選択図】図1
特許請求の範囲
【請求項1】
画像形成部を備え、補正用画像データを用いて前記画像形成部の色補正を実行する画像形成装置において、
前記画像形成部により前記補正用画像データとは異なる画像形成用画像データに基づいて形成された用紙上の画像を読み取る読取部と、
前記画像形成用画像データに基づく画像が形成された1枚目の用紙の読み取り画像データに基づく値と前記画像形成用画像データに基づく画像が形成されたn枚目の用紙の読み取り画像データに基づく値とを比較し、色調差を監視するための監視対象に基づいて色調差を監視する第1監視処理と、一定期間において、前記画像形成用画像データに基づいて画像が形成された複数の用紙の読み取り画像データに基づく値を比較し、色調差を監視するための監視対象に基づいて色調差を監視する第2監視処理とを行う色調監視部と、を備え、
前記色調差と所定の閾値とを比較した比較結果に基づいて前記画像形成部の色補正を行う第1色補正と、一定の期間または一定の画像形成枚数ごとに前記画像形成部の色補正を行う第2色補正を行う
ことを特徴とする画像形成装置。
発明の詳細な説明
【技術分野】
【0001】
本発明は、画像形成の際の色調を監視する画像形成装置に関する。
続きを表示(約 1,500 文字)
【背景技術】
【0002】
用紙に画像を形成する画像形成部の下流側にインラインセンサ等で構成される読取部を接続し、画像形成された用紙上の画像を読み取る画像形成装置が存在している。また、用紙に画像を形成する画像形成装置の後段に読取装置(出力物読取装置)を接続し、画像形成された用紙上の画像を読取装置で読み取る画像形成システムが存在している。
【0003】
このような画像形成装置や画像形成システムでは、定期的に、あらかじめ定められたパッチ画像(補正用画像)を用紙上に形成し、用紙上のパッチ画像を読み取ることで、画像形成装置の色変動(色調差)を検知して修正する(キャリブレーションする)ことが可能になる。
【0004】
ただし、このパッチ画像を用紙に形成する関係で、パッチ画像を形成するための用紙の消費、パッチ画像を形成した用紙の出力による通常の画像形成の生産性の低下、といった問題が発生する。
そこで、このような用紙無駄や生産性低下を抑えるべく、通常の画像形成の際に、画像形成用画像データと出力物読み取り画像データとを、画素単位で比較する手法が提案されている。この手法によると、用紙上へのパッチ画像の形成が発生しないため、用紙無駄の削減、生産性低下の抑制が可能になると期待されている。
【0005】
この種の技術としては、以下の特許文献に各種の関連提案がなされている。
【先行技術文献】
【特許文献】
【0006】
特開2014-182353号公報
【発明の概要】
【発明が解決しようとする課題】
【0007】
本発明は、カラーパッチなどを用いずに色調を適切に監視することが可能な画像形成装置を実現することを目的とする。
【課題を解決するための手段】
【0008】
本発明の一側面が反映された画像形成装置は、画像形成部を備え、補正用画像データを用いて画像形成部の色補正を実行する画像形成装置であり、画像形成部により補正用画像データとは異なる画像形成用画像データに基づいて形成された用紙上の画像を読み取る読取部と、画像形成用画像データに基づく画像が形成された1枚目の用紙の読み取り画像データに基づく値と画像形成用画像データに基づく画像が形成されたn枚目の用紙の読み取り画像データに基づく値とを比較し、色調差を監視するための監視対象に基づいて色調差を監視する第1監視処理と、一定期間において、画像形成用画像データに基づいて画像が形成された複数の用紙の読み取り画像データに基づく値を比較し、色調差を監視するための監視対象に基づいて色調差を監視する第2監視処理とを行う色調監視部と、を備え、色調差と所定の閾値とを比較した比較結果に基づいて画像形成部の色補正を行う第1色補正と、一定の期間または一定の画像形成枚数ごとに画像形成部の色補正を行う第2色補正を行う。
【発明の効果】
【0009】
本発明によれば、カラーパッチなどを用いずに色調を適切に監視することが可能となる。
【図面の簡単な説明】
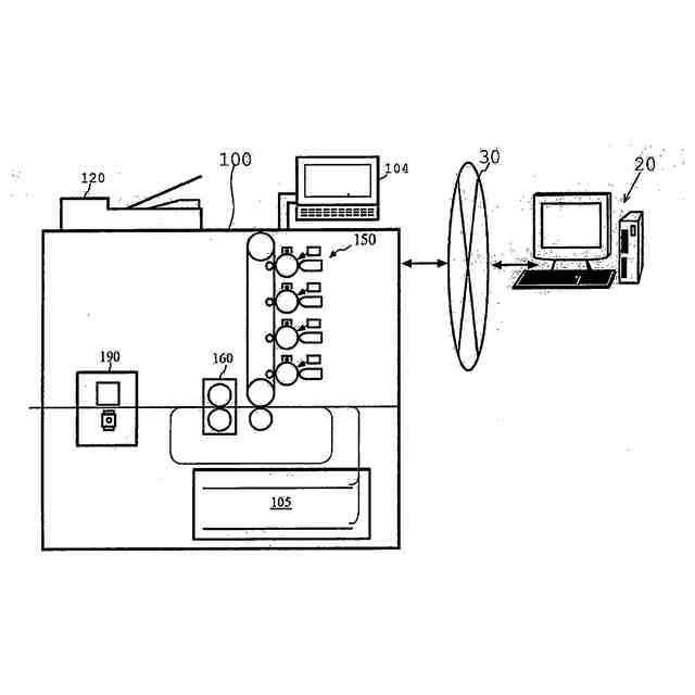
【0010】
本発明の実施形態の構成を示す構成図である。
本発明の実施形態の構成を示す構成図である。
本発明の実施形態の処理ブロックを示す説明図である。
本発明の実施形態の動作を示すフローチャートである。
本発明の実施形態の処理の様子を示す説明図である。
本発明の実施形態の処理の様子を示す説明図である。
本発明の実施形態の処理の様子を示す説明図である。
【発明を実施するための形態】
(【0011】以降は省略されています)
この特許をJ-PlatPat(特許庁公式サイト)で参照する
関連特許
コニカミノルタ株式会社
緩衝材
16日前
コニカミノルタ株式会社
パレット
24日前
コニカミノルタ株式会社
光計測装置
3日前
コニカミノルタ株式会社
画像形成装置
17日前
コニカミノルタ株式会社
画像形成方法
26日前
コニカミノルタ株式会社
画像形成装置
9日前
コニカミノルタ株式会社
画像形成装置
1か月前
コニカミノルタ株式会社
画像形成装置
1か月前
コニカミノルタ株式会社
画像形成装置
19日前
コニカミノルタ株式会社
液滴吐出装置
11日前
コニカミノルタ株式会社
情報処理装置
19日前
コニカミノルタ株式会社
超音波診断装置
17日前
コニカミノルタ株式会社
サンプル測定装置
1か月前
コニカミノルタ株式会社
画像形成システム
18日前
コニカミノルタ株式会社
放射線画像撮影装置
1か月前
コニカミノルタ株式会社
放射線撮影システム
9日前
コニカミノルタ株式会社
放射線撮影システム
9日前
コニカミノルタ株式会社
放射線画像撮影装置
1か月前
コニカミノルタ株式会社
放射線画像撮影装置
1か月前
コニカミノルタ株式会社
放射線画像撮影装置
1か月前
コニカミノルタ株式会社
画像形成装置、画像形成方法
24日前
コニカミノルタ株式会社
用紙搬送装置及び画像形成システム
18日前
コニカミノルタ株式会社
用紙加湿装置及び画像形成システム
27日前
コニカミノルタ株式会社
抗菌剤塗布装置および画像形成装置
16日前
コニカミノルタ株式会社
画像読取装置及び画像形成システム
3日前
コニカミノルタ株式会社
トナー収容容器および画像形成装置
3日前
コニカミノルタ株式会社
開発システムおよび学習管理システム
16日前
コニカミノルタ株式会社
仲介システム、仲介方法及びプログラム
16日前
コニカミノルタ株式会社
医療用検査装置、および医療用検査方法
16日前
コニカミノルタ株式会社
定着部材、定着装置および画像形成装置
25日前
コニカミノルタ株式会社
インクジェット記録装置及びプログラム
11日前
コニカミノルタ株式会社
画像形成装置、制御方法及びプログラム
3日前
コニカミノルタ株式会社
画像形成装置、補正方法及びプログラム
24日前
コニカミノルタ株式会社
定着部材、定着装置および画像形成装置
17日前
コニカミノルタ株式会社
抽出装置、抽出方法および抽出プログラム
24日前
コニカミノルタ株式会社
動態画像解析装置、方法、及びプログラム。
9日前
続きを見る
他の特許を見る