TOP
|
特許
|
意匠
|
商標
特許ウォッチ
Twitter
他の特許を見る
公開番号
2025168435
公報種別
公開特許公報(A)
公開日
2025-11-07
出願番号
2025140360,2022560830
出願日
2025-08-26,2021-11-05
発明の名称
波長測定装置及び波長測定方法
出願人
コニカミノルタ株式会社
代理人
個人
主分類
G01M
11/00 20060101AFI20251030BHJP(測定;試験)
要約
【課題】多数のLEDチップの代表波長を効率的にかつ高い精度で測定することができる波長測定装置及び波長測定方法を提供する。
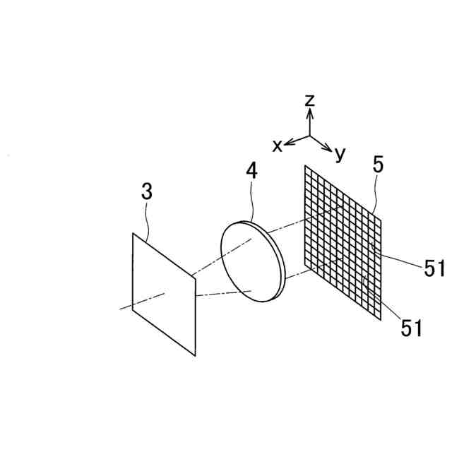
【解決手段】複数の発光素子チップ101が励起されて発光した光を分光する手段3、各発光素子チップの各発光面から発光され分光された光を、複数の領域に分けて受光する複数の画素51を有する手段5、受光結果を基に、測定対象物の表面の画素に対応する大きさの領域毎に、波長毎の測定データを取得する手段6、複数の発光素子チップの測定データが包含される領域の画素群のデータの内、第1の所定の波長において、各画素を明るさでレベル分けし、所定の明るさレベルを閾値として画像処理を行うことで、測定データを発光素子チップ毎に分離する手段6、分離された発光素子チップ101毎に、発光面内の複数の領域についての波長毎の測定データから代表波長を演算する手段6を備える。
【選択図】図5
特許請求の範囲
【請求項1】
測定対象物に含まれる複数の発光素子チップが励起されて発光した光を分光する分光手段と、
前記複数の発光素子チップの各発光面から発光され前記分光手段によって分光された光を受光する複数の画素を有する受光手段と、
前記受光手段による受光結果に基づいて、複数の前記発光面を含む測定対象物の表面における前記画素に対応する大きさの領域毎に、波長毎の測定データを取得する取得手段と、
複数の発光素子チップの測定データが包含される領域の画素群のデータの内、第1の所定の波長において、各画素を明るさでレベル分けし、所定の明るさレベルを閾値として画像処理を行うことで、前記取得手段で取得された測定データを、前記発光素子チップ毎に分離する分離手段と、
前記分離手段により分離された発光素子チップ毎に、発光面内の複数の領域についての波長毎の測定データから代表波長を演算する演算手段と、
を備えた波長測定装置。
続きを表示(約 970 文字)
【請求項2】
前記演算手段は、前記発光面内の測定データのうち第2の所定の波長について最大値を得た領域と、その領域に隣接する1つまたは複数の領域の測定データを平均化するとともに、平均化された波長毎の測定データから代表波長を演算する請求項1に記載の波長測定装置。
【請求項3】
前記第1および第2の所定の波長の少なくとも何れかは、複数の発光素子チップの測定データが包含される適当な領域の画素群のデータの内、最大の明るさを有する波長、1つの発光素子チップについてのデータ領域の測定データの内、最大の明るさを有する波長、または発光素子チップの設計波長、のうちのいずれかである請求項2に記載の波長測定装置。
【請求項4】
前記受光手段はエリアセンサであり、
前記エリアセンサの一方の画素列の各画素は、前記測定対象物の一次元方向の複数の領域に対応し、前記一方の画素列に直交する他方の画素列の各画素は、前記一次元方向の複数の領域から発光されかつ分光された光を受光する請求項1~3のいずれかに記載の波長測定装置。
【請求項5】
前記測定対象物または波長測定装置の少なくともいずれかを、前記他方の画素列の方向に相対的に移動させる移動手段を備え、
前記移動手段により前記測定対象物または波長測定装置の少なくともいずれかを移動させながら測定を行うことにより、前記エリアセンサに、前記測定対象物の二次元方向の各領域からの分光された光を受光させる請求項4に記載の波長測定装置。
【請求項6】
前記代表波長は発光ピーク波長である請求項1~5のいずれかに記載の波長測定装置。
【請求項7】
前記代表波長は重心波長である請求項1~5のいずれかに記載の波長測定装置。
【請求項8】
前記代表波長は中心波長である請求項1~5のいずれかに記載の波長測定装置。
【請求項9】
前記発光素子チップはLEDチップである請求項1~8のいずれかに記載の波長測定装置。
【請求項10】
前記複数の発光素子チップを励起して発光させる光源部を備えている請求項1~9のいずれかに記載の波長測定装置。
(【請求項11】以降は省略されています)
発明の詳細な説明
【技術分野】
【0001】
この発明は、測定対象物に含まれる例えば複数のLEDチップ等の発光素子チップの各代表波長を測定する波長測定装置及び波長測定方法に関する。
続きを表示(約 3,800 文字)
【背景技術】
【0002】
例えば、テレビ等のディスプレイに使用されるバックライト用LEDは、色味のばらつきがディスプレイの色むら等の画質低下の原因となることから、発光色を厳密に管理される。このため、各LEDチップの波長を測定して色毎に分類する、いわゆるビニングという工程が従来より行われている。
【0003】
このようなビニングにおいて行われるLEDチップの波長測定方法として、非特許文献1には、スポット分光計を用いてLEDチップを1個ずつ個別に測定することが開示されている。
【先行技術文献】
【特許文献】
【0004】
大塚電子株式会社 ホームページ 活用例「LED製造工程 LEDの色分類(LE series)」URL:https://www.otsukael.jp/appcase/detail/caseid/116
【発明の概要】
【発明が解決しようとする課題】
【0005】
しかし非特許文献1に記載の技術のように、スポット分光計を用いてLEDチップの代表波長を1個ずつ個別に測定する方法では次のような課題があった。
【0006】
すなわち、例えば一辺100μm以下のマイクロLEDチップのように、LEDチップの大きさが小さくなればなるほど、膨大な数のLEDチップの測定が必要となり、これをチップ1個ずつ行うのは時間がかかり効率的ではなかった。
【0007】
しかも、ウェハー上で測定を行う場合、LEDチップの大きさが小さくなると、スポット分光計の測定領域内に複数のLEDチップが含まれてしまい、精度の高い測定を行うことができない、という問題もあった。
【0008】
この発明は、このような技術的背景に鑑みてなされたものであって、多数のLEDチップの代表波長を効率的にかつ高い精度で測定することができる波長測定装置及び波長測定方法の提供を目的とする。
【課題を解決するための手段】
【0009】
上記目的は、以下の手段によって達成される。
(1)測定対象物に含まれる複数の発光素子チップが励起されて発光した光を分光する分光手段と、
前記複数の発光素子チップの各発光面から発光され前記分光手段によって分光された光を受光する複数の画素を有する受光手段と、
前記受光手段による受光結果に基づいて、複数の前記発光面を含む測定対象物の表面における前記画素に対応する大きさの領域毎に、波長毎の測定データを取得する取得手段と、
複数の発光素子チップの測定データが包含される領域の画素群のデータの内、第1の所定の波長において、各画素を明るさでレベル分けし、所定の明るさレベルを閾値として画像処理を行うことで、前記取得手段で取得された測定データを、前記発光素子チップ毎に分離する分離手段と、
前記分離手段により分離された発光素子チップ毎に、発光面内の複数の領域についての波長毎の測定データから代表波長を演算する演算手段と、
を備えた波長測定装置。
(2)前記演算手段は、前記発光面内の測定データのうち第2の所定の波長について最大値を得た領域と、その領域に隣接する1つまたは複数の領域の測定データを平均化するとともに、平均化された波長毎の測定データから代表波長を演算する前項(1)に記載の波長測定装置。
(3)前記第1および第2の所定の波長の少なくとも何れかは、複数の発光素子チップの測定データが包含される適当な領域の画素群のデータの内、最大の明るさを有する波長、1つの発光素子チップについてのデータ領域の測定データの内、最大の明るさを有する波長、または発光素子チップの設計波長、のうちのいずれかである前項(2)に記載の波長測定装置。
(4)前記受光手段はエリアセンサであり、
前記エリアセンサの一方の画素列の各画素は、前記測定対象物の一次元方向の複数の領域に対応し、前記一方の画素列に直交する他方の画素列の各画素は、前記一次元方向の複数の領域から発光されかつ分光された光を受光する前項(1)~(3)のいずれかに記載の波長測定装置。
(5)前記測定対象物または波長測定装置の少なくともいずれかを、前記他方の画素列の方向に相対的に移動させる移動手段を備え、
前記移動手段により前記測定対象物または波長測定装置の少なくともいずれかを移動させながら測定を行うことにより、前記エリアセンサに、前記測定対象物の二次元方向の各領域からの分光された光を受光させる前項(4)に記載の波長測定装置。
(6)前記代表波長は発光ピーク波長である前項(1)~(5)のいずれかに記載の波長測定装置。
(7)前記代表波長は重心波長である前項(1)~(5)のいずれかに記載の波長測定装置。
(8)前記代表波長は中心波長である前項(1)~(5)のいずれかに記載の波長測定装置。
(9)前記発光素子チップはLEDチップである前項(1)~(8)のいずれかに記載の波長測定装置。
(10)前記複数の発光素子チップを励起して発光させる光源部を備えている前項(1)~(9)のいずれかに記載の波長測定装置。
(11)測定対象物に含まれる複数の発光素子チップが励起されて発光した光を分光手段で分光する分光ステップと、
前記複数の発光素子チップの各発光面から発光され前記分光ステップによって分光された光を受光する受光ステップと、
前記受光ステップによる受光結果に基づいて、複数の前記発光面を含む測定対象物の表面における前記画素に対応する大きさの領域毎に、波長毎の測定データを取得する取得ステップと、
複数の発光素子チップの測定データが包含される領域の画素群のデータの内、第1の所定の波長において、各画素を明るさでレベル分けし、所定の明るさレベルを閾値として画像処理を行うことで、前記取得ステップで取得された測定データを、前記発光素子チップ毎に分離する分離ステップと、
前記分離ステップにより分離された発光素子チップ毎に、発光面内の複数の領域についての波長毎の測定データから代表波長を演算する演算ステップと、
を備えた波長測定方法。
(12)前記演算ステップでは、前記発光面内の測定データのうち第2の所定の波長について最大値を得た領域と、その領域に隣接する1つまたは複数の領域の測定データを平均化するとともに、平均化された波長毎の測定データから代表波長を演算する前項(11)に記載の波長測定方法。
(13)前記第1および第2の所定の波長の少なくとも何れかは、複数の発光素子チップの測定データが包含される適当な領域の画素群のデータの内、最大の明るさを有する波長、1つの発光素子チップについてのデータ領域の測定データの内、最大の明るさを有する波長、または発光素子チップの設計波長、のうちのいずれかである前項(12)に記載の波長測定方法。
(14)前記受光手段はエリアセンサであり、
前記エリアセンサの一方の画素列は、前記測定対象物の一次元方向の各領域からの光を受光し、前記一方の画素列に直交する他方の画素列は、前記一次元方向の各領域に対応する分光された光を受光する前項(11)~(13)のいずれかに記載の波長測定方法。
(15)前記エリアセンサまたは測定対象物の少なくともいずれかを、前記他方の画素列の方向に相対的に移動させる移動ステップを備え、
前記移動ステップによる前記エリアセンサまたは測定対象物の少なくともいずれかの移動により、前記エリアセンサに、前記測定対象物の二次元方向の各領域からの光を受光させる前項(14)に記載の波長測定方法。
(16)前記代表波長は発光ピーク波長である前項(11)~(15)のいずれかに記載の波長測定方法。
(17)前記代表波長は重心波長である前項(11)~(15)のいずれかに記載の波長測定方法。
(18)前記代表波長は中心波長である前項(11)~(15)のいずれかに記載の波長測定方法。
(19)前記発光素子チップはLEDチップである前項(11)~(18)のいずれかに記載の波長測定方法。
【発明の効果】
【0010】
前項(1)及び(11)に記載の発明によれば、測定対象物に含まれる複数の発光素子チップが励起されて発光し、各発光素子チップの発光面から発光され分光手段によって分光された光が、受光手段の複数の画素により受光される。受光結果に基づいて、複数の発光面を含む測定対象物の表面における前記画素に対応する大きさの領域毎に、波長毎の測定データが取得される。複数の発光素子チップの測定データが包含される領域の画素群のデータの内、第1の所定の波長において、各画素が明るさでレベル分けされ、所定の明るさレベルを閾値として画像処理が行われることで、取得された測定データは、発光素子チップ毎に分離されるとともに、分離された発光素子チップ毎に、発光面内の複数の領域についての波長毎の測定データから代表波長が演算される。
(【0011】以降は省略されています)
この特許をJ-PlatPat(特許庁公式サイト)で参照する
関連特許
コニカミノルタ株式会社
緩衝材
16日前
コニカミノルタ株式会社
パレット
24日前
コニカミノルタ株式会社
光計測装置
3日前
コニカミノルタ株式会社
画像形成装置
19日前
コニカミノルタ株式会社
画像形成装置
17日前
コニカミノルタ株式会社
情報処理装置
19日前
コニカミノルタ株式会社
液滴吐出装置
11日前
コニカミノルタ株式会社
画像形成方法
26日前
コニカミノルタ株式会社
画像形成装置
9日前
コニカミノルタ株式会社
超音波診断装置
17日前
コニカミノルタ株式会社
画像形成システム
18日前
コニカミノルタ株式会社
放射線撮影システム
9日前
コニカミノルタ株式会社
放射線撮影システム
9日前
コニカミノルタ株式会社
画像形成装置、画像形成方法
24日前
コニカミノルタ株式会社
画像読取装置及び画像形成システム
3日前
コニカミノルタ株式会社
用紙加湿装置及び画像形成システム
27日前
コニカミノルタ株式会社
トナー収容容器および画像形成装置
3日前
コニカミノルタ株式会社
用紙搬送装置及び画像形成システム
18日前
コニカミノルタ株式会社
抗菌剤塗布装置および画像形成装置
16日前
コニカミノルタ株式会社
開発システムおよび学習管理システム
16日前
コニカミノルタ株式会社
画像形成装置、補正方法及びプログラム
24日前
コニカミノルタ株式会社
医療用検査装置、および医療用検査方法
16日前
コニカミノルタ株式会社
定着部材、定着装置および画像形成装置
25日前
コニカミノルタ株式会社
仲介システム、仲介方法及びプログラム
16日前
コニカミノルタ株式会社
定着部材、定着装置および画像形成装置
17日前
コニカミノルタ株式会社
画像形成装置、制御方法及びプログラム
3日前
コニカミノルタ株式会社
インクジェット記録装置及びプログラム
11日前
コニカミノルタ株式会社
抽出装置、抽出方法および抽出プログラム
24日前
コニカミノルタ株式会社
動態画像解析装置、方法、及びプログラム。
9日前
コニカミノルタ株式会社
動態画像解析装置、方法、及びプログラム。
9日前
コニカミノルタ株式会社
ブラシ、ブラシの製造方法および画像形成装置
17日前
コニカミノルタ株式会社
ブラシ、ブラシの製造方法および画像形成装置
17日前
コニカミノルタ株式会社
画像形成装置、キャリア排出方法及びプログラム
19日前
コニカミノルタ株式会社
プログラム、情報処理システム及び情報処理方法
9日前
コニカミノルタ株式会社
情報処理装置、情報表示システム及びプログラム
3日前
コニカミノルタ株式会社
情報処理装置、情報処理方法、及び、プログラム
24日前
続きを見る
他の特許を見る