TOP
|
特許
|
意匠
|
商標
特許ウォッチ
Twitter
他の特許を見る
10個以上の画像は省略されています。
公開番号
2025168602
公報種別
公開特許公報(A)
公開日
2025-11-10
出願番号
2024073281
出願日
2024-04-28
発明の名称
計量具、計量機能付き容器、及び計量機能付き容器の組み立て方法
出願人
個人
代理人
個人
主分類
G01F
11/26 20060101AFI20251031BHJP(測定;試験)
要約
【課題】実用的な計量機能付き容器を提供すること。
【解決手段】計量具は、容器に取り付けられ、容器の底部を重力方向下側にして水平面に載置された載置姿勢から容器を特定方向に傾けた計量姿勢において、前記容器の貯蔵室内に貯蔵されている流体又は粒体の内容物を貯蔵室内で計量する。計量具は、貯蔵室内の内容物を排出口から容器外に排出する排出路を区画する排出路区画部と、排出路区画部の排出口とは反対側に設けられ、貯蔵室と排出路とにそれぞれ流入孔と流出孔とを介して連通し、貯蔵室内の内容物を計量する計量室を、区画する計量室区画部と、を備える。流入孔は、計量姿勢において流出孔よりも重力方向上側に位置するように、流出孔から離間して計量室区画部に設けられている。
【選択図】図1
特許請求の範囲
【請求項1】
容器に取り付けられ、前記容器の底部を重力方向下側にして水平面に載置された載置姿勢から前記容器を特定方向に傾けた計量姿勢において、前記容器の貯蔵室内に貯蔵されている流体又は粒体の内容物を、前記貯蔵室内で計量する計量具であって、
前記容器の内外を連通させる連通孔を介して、前記貯蔵室内の内容物を排出口から前記容器外に排出する排出路を区画する排出路区画部と、
前記排出路区画部の前記排出口とは反対側に設けられ、前記貯蔵室と前記排出路とにそれぞれ流入孔と流出孔とを介して連通し、前記貯蔵室内の内容物を計量する計量室を、区画する計量室区画部と、
を備え、
前記流入孔は、前記計量姿勢において前記流出孔よりも重力方向上側に位置するように、前記流出孔から離間して前記計量室区画部に設けられている、
ことを特徴とする計量具。
続きを表示(約 620 文字)
【請求項2】
前記計量室区画部は、弾性材料又は形状記憶材料により、前記連通孔を通過する形状に変形可能に構成されている、請求項1に記載の計量具。
【請求項3】
前記容器の前記連通孔を閉鎖する蓋部を備え、
前記排出路区画部は、前記蓋部に形成された貫通孔を貫通している、請求項1に記載の計量具。
【請求項4】
前記請求項1から3のいずれか一項に記載の計量具を備える計量機能付き容器であって、
前記計量具は、前記排出路区画部の前記排出口が前記容器外に位置し、前記計量室区画部の前記貯蔵室内の前記底部側に位置するように、前記排出路区画部が前記容器の前記連通孔を貫通し、前記計量姿勢において前記流入孔が前記流出孔よりも重力方向上側に位置するように、前記容器に取り付けられ、
前記載置姿勢において前記計量室外の前記内容物が前記計量室内に流入し、前記計量姿勢において前記計量室内の前記内容物が前記計量室外の前記内容物と分離されるように、構成されている、
ことを特徴とする計量機能付き容器。
【請求項5】
請求項2に記載の前記計量具の前記計量室区画部を、前記連通孔を通過可能な形状に変形させる変形工程と、
前記変形工程で変形させた前記計量室区画部を、前記連通孔を通過させて、前記容器内に収容する収容工程と、
を含むことを特徴する計量機能付き容器の組み立て方法。
発明の詳細な説明
【技術分野】
【0001】
本開示は、計量具、計量機能付き容器、及び計量機能付き容器の組み立て方法に関する。
続きを表示(約 1,900 文字)
【背景技術】
【0002】
従来から、容器内の貯蔵室に貯蔵されている流体の内容物を貯蔵室内で計量し、計量された内容物を容器外に排出する計量機能付き容器が知られている。特許文献1に係る計量機能付き容器では、内容物を計量する計量室と内容物を容器外に排出する排出路とが容器本体で区画されている。その結果、容器の構造が複雑なものになっている。
【先行技術文献】
【特許文献】
【0003】
特開2000-346692号公報
【発明の概要】
【発明が解決しようとする課題】
【0004】
本発明は、実用的な計量機能付き容器を提供することを課題とする。
【課題を解決するための手段】
【0005】
本発明に係る計量具は、容器に取り付けられ、前記容器の底部を重力方向下側にして水平面に載置された載置姿勢から前記容器を特定方向に傾けた計量姿勢において、前記容器の貯蔵室内に貯蔵されている流体又は粒体の内容物を、前記貯蔵室内で計量するものであって、前記容器の内外を連通させる連通孔を介して、前記貯蔵室内の内容物を排出口から前記容器外に排出する排出路を区画する排出路区画部と、前記排出路区画部の前記排出口とは反対側に設けられ、前記貯蔵室と前記排出路とにそれぞれ流入孔と流出孔とを介して連通し、前記貯蔵室内の内容物を計量する計量室を、区画する計量室区画部と、を備え、前記流入孔は、前記計量姿勢において前記流出孔よりも重力方向上側に位置するように、前記流出孔から離間して前記計量室区画部に設けられている。
【発明の効果】
【0006】
本発明に係る計量具によれば、計量具の排出路区画部により排出路が区画され、計量具の計量室区画部により計量室が区画されるため、排出路及び計量室を容器で区画する必要がない。そのため、容器の構造を簡素化することができ、ひいては計量機能付き容器を実用的なものにすることができる。
【図面の簡単な説明】
【0007】
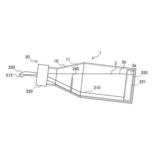
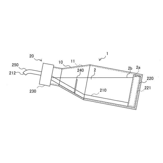
計量機能付き容器の模式図である。
容器の模式図である。
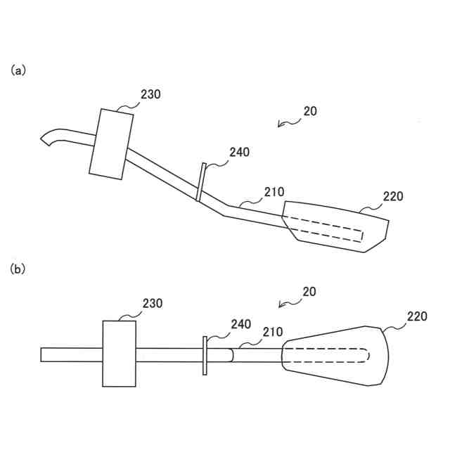
計量具の模式図である。
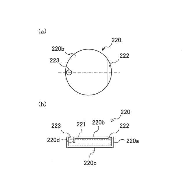
計量室区画部の模式図である。
計量機能付き容器の計量姿勢を示す模式図である。
計量機能付き容器の排出姿勢を示す模式図である。
容器に内容物を注入する方法を示す模式図である。
計量室区画部を変形させる方法の一例を示す模式図である。
計量室区画部を変形させる方法の一例を示す模式図である。
計量機能付き容器の組み立て方法を示す模式図である。
容器の交換方法を示す模式図である。
容器の交換方法を示す模式図である。
【発明を実施するための形態】
【0008】
<計量機能付き容器の構成>
図1は、計量機能付き容器1の模式図である。計量機能付き容器1は、容器10と計量具20とを備えている。計量機能付き容器1は、計量具20により容器10内に貯蔵されている内容物2を容器10内で計量する計量機能を有している。
内容物2は流体や粒体である。流体の内容物2としては、水やジュース等の飲料や、ソースや酢等の調味料や、液体の洗剤や薬品が考えられる。粒体の内容物2としては、砂糖や塩等の調味料や、粒体の洗剤や薬品が考えられる。
【0009】
<容器>
図2は容器10の模式図である。容器10は貯蔵室11を区画する。貯蔵室11は内容物2を貯蔵する空間である。
容器10の載置姿勢における上方には連通孔12が設けられている。ここで載置姿勢とは、容器10の底部10aを重力方向下側にして、容器10を水平面に載置させた姿勢である。連通孔12は、計量具20を容器10内に取り付けるための孔である。連通孔12は、容器10の内外を連通させる。
本実施形態では、容器10はペットボトルであるものとする。この場合、連通孔12は内容物2の注入口としても、飲み口としても機能する。そのため、連通孔12の開口面積は、容器10の載置姿勢における貯蔵室11の水平断面積よりも小さい。また、容器10は透明又は半透明である。
【0010】
<計量具>
図3は計量具20の模式図である。計量具20は、排出路区画部210と計量室区画部220と蓋部230と注入上限表示部240と計量姿勢誘導部250とを有している。
(【0011】以降は省略されています)
この特許をJ-PlatPat(特許庁公式サイト)で参照する
関連特許
個人
メジャー文具
1か月前
個人
採尿及び採便具
11日前
日本精機株式会社
検出装置
5日前
個人
計量機能付き容器
今日
個人
アクセサリー型テスター
27日前
個人
高精度同時多点測定装置
26日前
ユニパルス株式会社
ロードセル
1か月前
株式会社ミツトヨ
測定器
17日前
甲神電機株式会社
電流検出装置
5日前
アズビル株式会社
電磁流量計
20日前
ダイキン工業株式会社
監視装置
1か月前
株式会社ヨコオ
ソケット
1か月前
エイブリック株式会社
磁気センサ回路
1か月前
株式会社ヨコオ
ソケット
1か月前
大成建設株式会社
風洞実験装置
今日
株式会社チノー
放射光測温装置
1か月前
トヨタ自動車株式会社
監視装置
1か月前
愛知電機株式会社
軸部材の外観検査装置
14日前
TDK株式会社
ガスセンサ
1か月前
TDK株式会社
磁気センサ
1か月前
個人
システム、装置及び実験方法
20日前
TDK株式会社
ガスセンサ
1か月前
大和製衡株式会社
組合せ計量装置
14日前
大和製衡株式会社
組合せ計量装置
14日前
長崎県
形状計測方法
27日前
個人
計量具及び計量機能付き容器
今日
双庸電子株式会社
誤配線検査装置
6日前
個人
非接触による電磁パルスの測定方法
3日前
日本信号株式会社
距離画像センサ
3日前
ローム株式会社
半導体装置
25日前
株式会社東芝
重量測定装置
1か月前
愛知時計電機株式会社
ガスメータ
17日前
ローム株式会社
半導体装置
25日前
日本特殊陶業株式会社
センサ
1か月前
株式会社不二越
X線測定装置
3日前
中国電力株式会社
電柱管理システム
1か月前
続きを見る
他の特許を見る