TOP
|
特許
|
意匠
|
商標
特許ウォッチ
Twitter
他の特許を見る
10個以上の画像は省略されています。
公開番号
2025167140
公報種別
公開特許公報(A)
公開日
2025-11-07
出願番号
2024071484
出願日
2024-04-25
発明の名称
プログラム、映像処理装置および映像処理方法
出願人
株式会社東芝
代理人
弁理士法人酒井国際特許事務所
主分類
H04N
5/92 20060101AFI20251030BHJP(電気通信技術)
要約
【課題】ユーザからの要求に応じて、ユーザの意図したとおりの映像処理を可能にする。
【解決手段】実施形態のプログラムは、入力された第1の映像データに含まれるシーンを表すテキストデータを受け付けるコンピュータを、解釈部と検索部として機能させる。解釈部は、前記テキストデータを解釈し、前記第1の映像データの映像要素の検索に使用されるクエリ情報を生成する。検索部は、前記クエリ情報を使用して、前記第1の映像データの映像要素を検索し、検索結果に基づいて前記第1の映像データのメタデータを生成し、前記メタデータを記憶部に記憶する。
【選択図】図2
特許請求の範囲
【請求項1】
入力された第1の映像データに含まれるシーンを表すテキストデータを受け付けるコンピュータを、
前記テキストデータを解釈し、前記第1の映像データの映像要素の検索に使用されるクエリ情報を生成する解釈部と、
前記クエリ情報を使用して、前記第1の映像データの映像要素を検索し、検索結果に基づいて前記第1の映像データのメタデータを生成し、前記メタデータを記憶部に記憶する検索部、
として機能させるためのプログラム。
続きを表示(約 1,400 文字)
【請求項2】
前記クエリ情報は、前記映像要素を検索する検索クエリと、前記検索クエリの重要度を示すクエリ重要度と、を含み、
前記解釈部は、前記テキストデータと前記検索クエリとの関連性が大きいほど、前記クエリ重要度を大きくする、
請求項1に記載のプログラム。
【請求項3】
前記メタデータは、検索された映像区間を示す時刻情報と、前記映像区間の重要度を示す映像重要度とを含み、
前記検索部は、前記検索結果の信頼度と、前記クエリ重要度とに基づいて、前記映像重要度を算出する、
請求項2に記載のプログラム。
【請求項4】
前記検索部は、前記検索クエリを含む質問文を用いたVQA(Visual Question Answering)またはAQA(Audio Question Answering)によって、前記映像要素を検索し、前記質問文によって表された検索条件に合致した映像区間ほど、前記検索結果の信頼度を大きく決定する、
請求項3に記載のプログラム。
【請求項5】
前記コンピュータを、
前記映像重要度に基づいて前記第1の映像データを編集することによって、前記第1の映像データよりも短い第2の映像データを生成する生成部、
として更に機能させる請求項3に記載のプログラム。
【請求項6】
前記コンピュータを、
前記第1の映像データを解析することによって、前記第1の映像データを複数のシーンに分割する分割部、として更に機能させ、
前記メタデータは、前記複数のシーンの境界を示す境界時刻を更に含み、
前記生成部は、前記映像重要度が、より大きい映像区間を含むシーンを、前記境界時刻の早い順に、所定の映像長に基づいて選択して連結することによって、前記第2の映像データを生成する、
請求項5に記載のプログラム。
【請求項7】
前記コンピュータを、
ユーザからの操作入力に応じて、前記クエリ情報を編集する編集部、
として更に機能させる請求項1乃至6のいずれか1項に記載のプログラム。
【請求項8】
前記映像要素は、画像、音および字幕のうち、少なくとも1つを含む、
請求項1乃至6のいずれか1項に記載のプログラム。
【請求項9】
入力された第1の映像データに含まれるシーンを表すテキストデータを受け付ける映像処理装置であって、
前記テキストデータを解釈し、前記第1の映像データの映像要素の検索に使用されるクエリ情報を生成する解釈部と、
前記クエリ情報を使用して、前記第1の映像データの映像要素を検索し、検索結果に基づいて前記第1の映像データのメタデータを生成し、前記メタデータを記憶部に記憶する検索部と、
を備える映像処理装置。
【請求項10】
入力された第1の映像データに含まれるシーンを表すテキストデータを受け付ける映像処理装置の映像処理方法であって、
前記映像処理装置が、前記テキストデータを解釈し、前記第1の映像データの映像要素の検索に使用されるクエリ情報を生成するステップと、
前記映像処理装置が、前記クエリ情報を使用して、前記第1の映像データの映像要素を検索し、検索結果に基づいて前記第1の映像データのメタデータを生成し、前記メタデータを記憶部に記憶するステップと、
を含む映像処理方法。
発明の詳細な説明
【技術分野】
【0001】
本発明の実施形態はプログラム、映像処理装置および映像処理方法に関する。
続きを表示(約 1,900 文字)
【背景技術】
【0002】
映像データに、映像の内容を表すメタデータを付与し、当該メタデータを映像の編集に活用する技術が利用されている。例えば、映像管理装置が、映像中の映像要素を認識してテキスト化することでメタデータを生成し、ユーザの要求に応じたメタデータに対応する映像を編集し、編集された映像を出力する技術が従来から知られている。
【先行技術文献】
【特許文献】
【0003】
特許第7121378号公報
【発明の概要】
【発明が解決しようとする課題】
【0004】
しかしながら従来の技術では、ユーザからの要求に応じて、ユーザの意図したとおりの映像処理を可能にすることが難しかった。
【課題を解決するための手段】
【0005】
実施形態のプログラムは、入力された第1の映像データに含まれるシーンを表すテキストデータを受け付けるコンピュータを、解釈部と検索部として機能させる。解釈部は、前記テキストデータを解釈し、前記第1の映像データの映像要素の検索に使用されるクエリ情報を生成する。検索部は、前記クエリ情報を使用して、前記第1の映像データの映像要素を検索し、検索結果に基づいて前記第1の映像データのメタデータを生成し、前記メタデータを記憶部に記憶する。
【図面の簡単な説明】
【0006】
第1実施形態の映像処理装置のハードウェア構成の一例を示す図。
第1実施形態の映像処理装置の機能構成の一例を示す図。
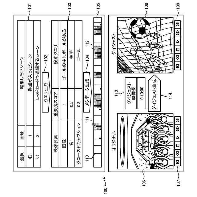
第1実施形態の映像処理装置の操作画面の一例を示す図。
第1実施形態の検索部による検索結果情報の一例を示す図。
第1実施形態の解釈部の機能構成の一例を示す図。
第1実施形態の画像クエリテーブルの一例を示す図。
第1実施形態の応答部による回答文の例1を示す図。
第1実施形態の音クエリテーブルの一例を示す図。
第1実施形態の応答部による回答文の例2を示す図。
第1実施形態のクローズドキャプションクエリテーブルの一例を示す図。
第1実施形態に応答部による回答文の例3を示す図。
第1実施形態のクエリ情報の一例を示す図。
第1実施形態のクエリ重要度調整後のクエリ情報の例を示す図。
第1実施形態の検索部の機能構成の一例を示す図。
第1実施形態の映像処理方法の一例を示すフローチャート。
第2実施形態の映像処理装置の機能構成の一例を示す図。
第2実施形態の解釈部の機能構成の一例を示す図。
第2実施形態の顔クエリテーブルの一例を示す図。
第2実施形態の文字クエリテーブルの一例を示す図。
第2実施形態の映像属性データの一例を示す図。
第2実施形態の応答部による回答文の一例を示す図。
第2実施形態の音声クエリテーブルの一例を示す図。
第2実施形態の応答部による回答文の一例を示す図。
第2実施形態の検索部の機能構成の一例を示す図。
第1実施形態の映像処理方法の一例を示すフローチャート。
【発明を実施するための形態】
【0007】
以下に添付図面を参照して、プログラム、映像処理装置および映像処理方法の実施形態を詳細に説明する。
【0008】
(第1実施形態)
はじめに、第1実施形態の映像処理装置200のハードウェア構成の例について説明する。
【0009】
[ハードウェア構成の例]
図1は第1実施形態の映像処理装置200のハードウェア構成の一例を示す図である。図1の例は、第1実施形態の映像処理装置200が、PC(Personal Computer)などの計算機に実装される場合を示している。
【0010】
第1実施形態の映像処理装置200は、CPU(Central Processing Unit)301と、RAM(Random Access Memory)302と、ROM(Read Only Memory)303と、操作入力装置304と、表示装置305と、記憶装置306と、通信装置307とを備える。そして、CPU301と、RAM302と、ROM303と、操作入力装置304と、表示装置305と、記憶装置306と、通信装置307とは、バス308により接続される。
(【0011】以降は省略されています)
この特許をJ-PlatPat(特許庁公式サイト)で参照する
関連特許
株式会社東芝
端子台
29日前
株式会社東芝
除去装置
22日前
株式会社東芝
電子装置
1か月前
株式会社東芝
電子回路
1か月前
株式会社東芝
半導体装置
1か月前
株式会社東芝
半導体装置
1か月前
株式会社東芝
半導体装置
1か月前
株式会社東芝
半導体装置
1か月前
株式会社東芝
真空バルブ
1か月前
株式会社東芝
半導体装置
1か月前
株式会社東芝
半導体装置
1か月前
株式会社東芝
半導体装置
1か月前
株式会社東芝
半導体装置
1か月前
株式会社東芝
半導体装置
1か月前
株式会社東芝
半導体装置
8日前
株式会社東芝
半導体装置
1か月前
株式会社東芝
真空バルブ
1か月前
株式会社東芝
半導体装置
1か月前
株式会社東芝
半導体装置
1か月前
株式会社東芝
半導体装置
1か月前
株式会社東芝
高周波回路
1か月前
株式会社東芝
半導体装置
1か月前
株式会社東芝
半導体装置
今日
株式会社東芝
半導体装置
1か月前
株式会社東芝
超電導コイル
1か月前
株式会社東芝
コントローラ
1か月前
株式会社東芝
ディスク装置
21日前
株式会社東芝
補修システム
1か月前
株式会社東芝
電気車制御装置
24日前
株式会社東芝
半導体集積回路
1か月前
株式会社東芝
半導体スイッチ
1か月前
株式会社東芝
地熱発電システム
今日
株式会社東芝
磁気ディスク装置
1か月前
株式会社東芝
パワーモジュール
14日前
株式会社東芝
パワーモジュール
14日前
株式会社東芝
真空ダクト及び加速器
1か月前
続きを見る
他の特許を見る