TOP
|
特許
|
意匠
|
商標
特許ウォッチ
Twitter
他の特許を見る
公開番号
2025155390
公報種別
公開特許公報(A)
公開日
2025-10-14
出願番号
2024059201
出願日
2024-04-01
発明の名称
真空ダクト及び加速器
出願人
株式会社東芝
,
東芝エネルギーシステムズ株式会社
代理人
弁理士法人東京国際特許事務所
主分類
H05H
7/14 20060101AFI20251006BHJP(他に分類されない電気技術)
要約
【課題】真空度の異なる複数のダクトを立体交差させることなく、互いに交わる方向に荷電粒子を通過させることができる真空ダクト及び加速器を提供する。
【解決手段】真空ダクト10は、荷電粒子の第1ビーム軌道11を形成する第1ダクト21と、第1ダクト21の直線部分の途中を分断して設けられる真空容器15と、第1ビーム軌道11と真空容器15の内部で交差する第2ビーム軌道12を形成する第2ダクト22と、を備えている。
【選択図】図1
特許請求の範囲
【請求項1】
荷電粒子の第1ビーム軌道を形成する第1ダクトと、
前記第1ダクトの直線部分の途中を分断して設けられる真空容器と、
前記第1ビーム軌道と前記真空容器の内部で交差する第2ビーム軌道を形成する第2ダクトと、を備える真空ダクト。
続きを表示(約 770 文字)
【請求項2】
請求項1に記載の真空ダクトにおいて、
前記第2ダクトは、前記真空容器に貫通し、前記第1ビーム軌道を通過させる開口が設けられている真空ダクト。
【請求項3】
請求項2に記載の真空ダクトにおいて、
前記第1ダクトには、前記真空容器を挟む両側の位置に、前記荷電粒子のビームを集束させるレンズ要素が設けられている真空ダクト。
【請求項4】
請求項1に記載の真空ダクトにおいて、
前記第2ダクトは、直線部分の途中を分断して前記真空容器の外周面に接合されている真空ダクト。
【請求項5】
請求項1から請求項4のいずれか1項に記載の真空ダクトにおいて、
前記真空容器に真空ポンプが設けられている真空ダクト。
【請求項6】
請求項1から請求項4のいずれか1項に記載の真空ダクトにおいて、
前記第1ダクトと前記第2ダクトとは互いに真空度が異なる真空ダクト。
【請求項7】
請求項1から請求項4のいずれか1項に記載の真空ダクトにおいて、
前記第1ダクトには、前記真空容器を挟む両側の位置に開閉バルブが設けられている真空ダクト。
【請求項8】
請求項1から請求項4のいずれか1項に記載の真空ダクトにおいて、
ダクト本数N(N≧3)を設定し、3~Nの範囲の全ての自然数nについて、
第n-1ダクトの直線部分の途中を分断して設けられる第n-1真空容器と、
第n-1ビーム軌道と前記第n-1真空容器の内部で交差する第nビーム軌道を形成する第nダクトと、を備える真空ダクト。
【請求項9】
請求項1から請求項4のいずれか1項に記載の真空ダクトを備える加速器。
発明の詳細な説明
【技術分野】
【0001】
本発明の実施形態は、荷電粒子を通過させる真空ダクト及び加速器に関する。
続きを表示(約 1,400 文字)
【背景技術】
【0002】
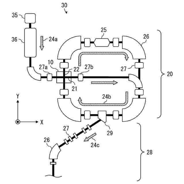
荷電粒子(イオン)を加速器に供給し加速して高エネルギー状態にした荷電粒子ビームを、工学や医学等の幅広い分野で応用する研究が進められている。現在、広く運用されている加速器システムは、大まかにイオン源と線形加速器と円形加速器とで構成され、この順番で荷電粒子を段階的に加速する。そして、円形加速器を周回する荷電粒子が所定のエネルギーに到達したところで、出射制御装置を作動させ、周回軌道から進行方向を変更させた荷電粒子ビームをビーム輸送系に取り出す。
【0003】
円形加速器における荷電粒子の通過領域に気体分子が存在すると、相互作用による散乱や電荷変化により、加速した荷電粒子が消失してしまう。このため円形加速器における荷電粒子の通過領域は、超高真空度に設定した真空ダクトの内部に形成されている。
【0004】
その一方で、イオン源から円形加速器を結ぶビーム輸送系は、円形加速器と対比して高真空度を求められていない。これは、円形加速器では荷電粒子が繰り返し通過するのに対し、ビーム輸送系では荷電粒子が一度しか通過しないことに加えその通過速度が低速であることによる。
【先行技術文献】
【特許文献】
【0005】
特開2021-012776号公報
【発明の概要】
【発明が解決しようとする課題】
【0006】
近年、円形加速器の小型化がすすみ、従来では円形加速器の内側に配置していたイオン源及び線形加速器を、その外側に配置せざるを得なくなってきた。このため機器配置の都合上、円形加速器とビーム輸送系を立体交差させる必要性が生じる場合がある。そうすると、ビーム輸送系を通過する荷電粒子のビーム軌道を曲げるため、追加の偏向電磁石を真空ダクトに設けることが必須となってしまう。
【0007】
本発明の実施形態はこのような事情を考慮してなされたもので、真空度の異なる複数のダクトを立体交差させることなく、互いに交わる方向に荷電粒子を通過させる真空ダクト及び加速器の提供を目的とする。
【課題を解決するための手段】
【0008】
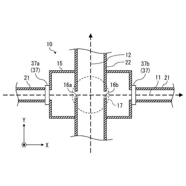
実施形態に係る真空ダクトにおいて、荷電粒子の第1ビーム軌道を形成する第1ダクトと、前記第1ダクトの直線部分の途中を分断して設けられる真空容器と、前記第1ビーム軌道と前記真空容器の内部で交差する第2ビーム軌道を形成する第2ダクトと、を備えることを特徴とする。
【発明の効果】
【0009】
本発明の実施形態により、真空度の異なる複数のダクトを立体交差させることなく、互いに交わる方向に荷電粒子を通過させる真空ダクト及び加速器が提供される。
【図面の簡単な説明】
【0010】
本発明の実施形態に係る真空ダクトを装備した加速器のシステム上面図。
(A)第1実施形態に係る真空ダクトの水平断面図、(B)その縦断面図。
各実施形態において、荷電粒子ビームの集束レンズ要素を設けた真空ダクトの水平断面図。
各実施形態において、荷電粒子ビームの開閉バルブを設けた真空ダクトの水平断面図。
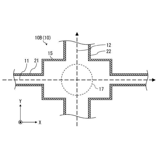
第2実施形態に係る真空ダクトの水平断面図。
第3実施形態に係る真空ダクトの水平断面図。
【発明を実施するための形態】
(【0011】以降は省略されています)
この特許をJ-PlatPat(特許庁公式サイト)で参照する
関連特許
株式会社東芝
モータ
18日前
株式会社東芝
センサ
1か月前
株式会社東芝
センサ
23日前
株式会社東芝
センサ
23日前
株式会社東芝
センサ
2か月前
株式会社東芝
固定子
1か月前
株式会社東芝
金型構造
23日前
株式会社東芝
回路素子
2か月前
株式会社東芝
ドア構造
2か月前
株式会社東芝
吸音装置
18日前
株式会社東芝
電子装置
2日前
株式会社東芝
電子装置
17日前
株式会社東芝
半導体装置
1か月前
株式会社東芝
電動送風機
1か月前
株式会社東芝
半導体装置
20日前
株式会社東芝
半導体装置
20日前
株式会社東芝
粒子加速器
17日前
株式会社東芝
半導体装置
20日前
株式会社東芝
半導体装置
4日前
株式会社東芝
半導体装置
20日前
株式会社東芝
半導体装置
20日前
株式会社東芝
X線厚み計
2か月前
株式会社東芝
半導体装置
5日前
株式会社東芝
ラック装置
1か月前
株式会社東芝
真空バルブ
3日前
株式会社東芝
半導体装置
2日前
株式会社東芝
半導体装置
2日前
株式会社東芝
半導体装置
2日前
株式会社東芝
半導体装置
20日前
株式会社東芝
半導体装置
1か月前
株式会社東芝
半導体装置
3日前
株式会社東芝
半導体装置
20日前
株式会社東芝
半導体装置
4日前
株式会社東芝
半導体装置
4日前
株式会社東芝
半導体装置
4日前
株式会社東芝
半導体装置
4日前
続きを見る
他の特許を見る