TOP
|
特許
|
意匠
|
商標
特許ウォッチ
Twitter
他の特許を見る
10個以上の画像は省略されています。
公開番号
2025159127
公報種別
公開特許公報(A)
公開日
2025-10-17
出願番号
2025134861,2021124408
出願日
2025-08-13,2021-07-29
発明の名称
充電制御装置、充電ステーション
出願人
i Labo株式会社
代理人
弁理士法人白坂
主分類
H02J
7/00 20060101AFI20251009BHJP(電力の発電,変換,配電)
要約
【課題】変動需要に対応でき環境負荷を考慮した電力供給を行う。
【解決手段】充電制御装置は、水素内燃機関の動力で駆動される複数の発電機の出力および組合せのうち少なくとも一方を決定する決定手段と、決定された出力または組合せで、前記発電機を駆動させる駆動制御手段と、前記発電機によって発電された電力を充電対象のバッテリーに供給させる供給制御手段と、を有する。
【選択図】図6
特許請求の範囲
【請求項1】
水素内燃機関の動力で駆動される複数の発電機の出力および組合せのうち少なくとも一方を決定する決定手段と、
決定された出力または組合せで、前記発電機を駆動させる駆動制御手段と、
前記発電機によって発電された電力を充電対象のバッテリーに供給させる供給制御手段と、
を有する充電制御装置。
続きを表示(約 850 文字)
【請求項2】
前記決定手段は、変動負荷、または電力需要に基づいて、前記発電機の出力または組合せを決定する、
請求項1に記載の充電制御装置。
【請求項3】
複数の前記発電機は、定格出力の異なる複数の発電機を有し、
前記決定手段は、定格出力の異なる複数の前記発電機の組合せを決定する、
請求項1または2に記載の充電制御装置。
【請求項4】
前記決定手段は、前記充電対象のバッテリーにおける充電容量に基づいて、前記発電機の組合せを決定する、
請求項1から3のいずれか一項に記載の充電制御装置。
【請求項5】
前記決定手段は、前記充電対象のバッテリーにおける要求充電時間に基づいて、前記発電機の組合せを決定する、
請求項1から4のいずれか一項に記載の充電制御装置。
【請求項6】
前記供給制御手段は、前記発電された電力を電力系統に供給させる、
請求項1から5のいずれか一項に記載の充電制御装置。
【請求項7】
請求項1から6のいずれか一項に記載の充電制御装置と、
水素内燃機関の動力で駆動される複数の発電機と、
を備える充電ステーション。
【請求項8】
水素内燃機関の動力で駆動される発電機、または水素と酸素との化学反応によって発電する発電機のうち少なくとも何れか一方の発電機と、
前記発電機によって発電された電力をバッテリーに供給する供給装置と、
を備える充電ステーション。
【請求項9】
水素内燃機関の動力で駆動される発電機と、
前記発電機の出力を決定する決定手段と、
決定された出力で、前記発電機を駆動させる駆動制御手段と、
前記発電機によって発電された電力をバッテリーに供給させる供給制御手段と、
を有する充電制御装置と、
を備える充電ステーション。
発明の詳細な説明
【技術分野】
【0001】
本発明は、充電制御装置、充電ステーションに関する。
続きを表示(約 1,500 文字)
【背景技術】
【0002】
EVの需要増加により急速充電ステーションへの供給インフラの確立が急務となっている。下記特許文献1においては、化石燃料を用いた内燃機関および急速充電器を組み合わせることにより、急速充電可能なチャージステーションについて提案されている。
【先行技術文献】
【特許文献】
【0003】
実用新案登録第3221529号公報
【発明の概要】
【発明が解決しようとする課題】
【0004】
しかしながら、急峻な給電と停止を繰り返すEVチャージステーションへの送電は、変動負荷用発電が化石燃料由来であったり、遠隔地への送電線の建設などの環境的、経済的負荷が大きい事から、特に大電流を必要とするトラックなどの大型のバッテリーを搭載したに高出力の充電を行う必要がある場合などは変動需要に対応出来る環境負荷を考慮したチャージステーションを設置することは難しかった。
【0005】
本発明は、このような状況を鑑みてなされたものであり、変動需要に対応でき環境負荷を考慮した電力供給を行うことができる技術を提供することを目的とする。
【課題を解決するための手段】
【0006】
上記目的を達成するため、本発明の一態様は、
水素内燃機関の動力で駆動される複数の発電機の出力および組合せのうち少なくとも一方を決定する決定手段と、
決定された出力または組合せで、前記発電機を駆動させる駆動制御手段と、前記発電機によって発電された電力を充電対象のバッテリーに供給させる供給制御手段と、を有する充電制御装置である。
【発明の効果】
【0007】
本発明によれば、変動需要に対応でき環境負荷を考慮した電力供給を行うことができる。
【図面の簡単な説明】
【0008】
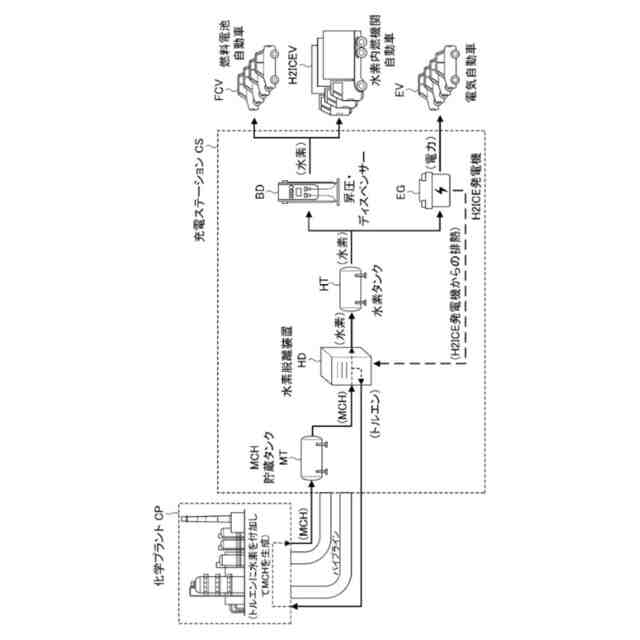
充電ステーションの一例を示す図である。
充電ステーションの一例を示す図である。
充電ステーションの一例を示す図である。
充電制御システムの構成の概略を示す図である。
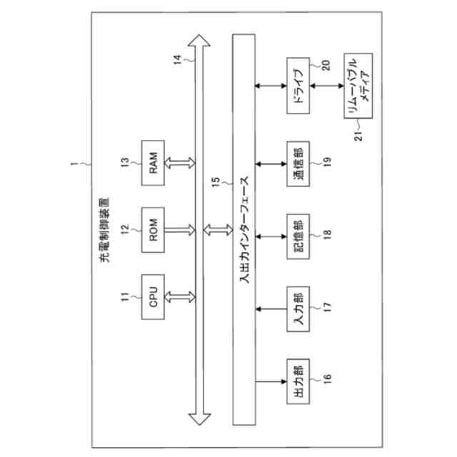
充電制御装置のハードウェア構成を示すブロック図である。
充電制御装置の機能的構成の一例を示す機能ブロック図である。
出力に対する熱効率を示す図である。
H2ICE発電機の種類を示す図である。
充電制御処理の動作を示すフローチャートである。
H2ICE発電機の組合せの一例を示す図である。
【発明を実施するための形態】
【0009】
(実施形態)
<概要>
現在、国内における自動車保有台数は約7500万台(乗用車が約6000万台、トラック等が約1500万台)であって、これらのうち電気自動車が占める割合が1%未満である。今後、電気自動車の占める割合が高くなると、電力系統(グリッド)からの電力供給量では足りなくなることが予想される。ここで、電力系統とは、電力を受電設備に供給するための、発電・変電・送電・配電を統合した既存のシステムである。
【0010】
また、電気自動車に搭載されるバッテリーの高容量化、C(Capacity)レートの大幅な改善によって、トラック用のバッテリー(例えば、1MWh)を、例えば、15分で80%程度まで充電する需要が生じた場合、電力系統に対する瞬間的な負荷が許容域を上回ることが予想される。これに対して、蓄電池を設けて瞬間的な負荷に対応することも考えられるが、蓄電池を設けるための高いコストがかかるという問題もある。
(【0011】以降は省略されています)
この特許をJ-PlatPat(特許庁公式サイト)で参照する
関連特許
個人
単極モータ
15日前
株式会社アイシン
ロータ
19日前
株式会社アイシン
ロータ
15日前
日星電気株式会社
ケーブル組立体
7日前
トヨタ自動車株式会社
固定子
20日前
株式会社デンソー
回転機
13日前
トヨタ自動車株式会社
製造装置
20日前
株式会社アイシン
ステータ
19日前
株式会社ダイヘン
充電装置
19日前
株式会社アイシン
ステータ
19日前
株式会社アイシン
ステータ
19日前
株式会社アイシン
ステータ
19日前
株式会社ダイヘン
充電装置
19日前
株式会社ダイヘン
充電装置
19日前
株式会社ダイヘン
充電装置
19日前
個人
二次電池繰返パルス放電器用印刷基板
5日前
トヨタ自動車株式会社
被膜形成装置
20日前
株式会社kaisei
発電システム
15日前
株式会社デンソー
電力変換装置
6日前
株式会社ミツバ
回転電機
19日前
株式会社デンソー
電力変換装置
14日前
株式会社ミツバ
回転電機
12日前
キヤノン株式会社
無線電力伝送システム
20日前
シャープ株式会社
表示装置
20日前
株式会社デンソー
非接触受電装置
8日前
株式会社アイシン
駆動装置
20日前
株式会社ダイヘン
インバータ装置
14日前
トヨタ自動車株式会社
固定子の加熱装置
2日前
矢崎総業株式会社
ワイヤーハーネス
15日前
山洋電気株式会社
モータ
5日前
株式会社デンソー
ステータ及びモータ
15日前
本田技研工業株式会社
電気機器
20日前
本田技研工業株式会社
電気機器
20日前
トヨタ自動車株式会社
スロット紙の成形装置
20日前
株式会社明治ゴム化成
ワイヤレス給電用部品
1日前
株式会社TMEIC
電力変換装置
12日前
続きを見る
他の特許を見る