TOP
|
特許
|
意匠
|
商標
特許ウォッチ
Twitter
他の特許を見る
公開番号
2025151478
公報種別
公開特許公報(A)
公開日
2025-10-09
出願番号
2024052924
出願日
2024-03-28
発明の名称
スロット紙の成形装置
出願人
トヨタ自動車株式会社
代理人
個人
主分類
H02K
15/10 20250101AFI20251002BHJP(電力の発電,変換,配電)
要約
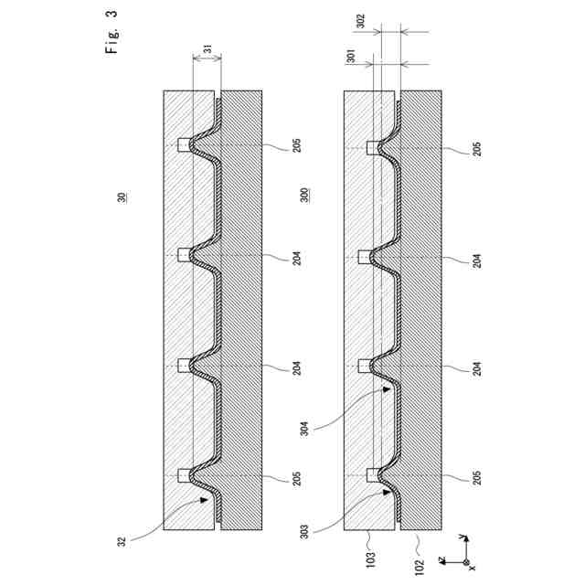
【課題】筋目ごとの成形性を確保しつつ、蛇行補正性を向上できるスロット紙の成形装置を提供すること。
【解決手段】スロット紙の成形装置は、円筒形状の表面に回転方向に一周する凸形状を4つ備える第1筋目ローラ102と、円筒形状の表面に、第1筋目ローラの凸形状に対応する位置に凹形状を4つ備える第2筋目ローラ103と、を備え、第1筋目ローラ102は4つの凸部の内、両端の筋目凸部205の突起がそれ以外の筋目凸部204の突起より低い、または両端の筋目凹部の裾野303の曲率半径がそれ以外の筋目凹部の裾野304の曲率半径より大きい。
【選択図】図3
特許請求の範囲
【請求項1】
円筒形状の表面に回転方向に一周する凸形状を4つ備える第1筋目ローラと、
円筒形状の表面に、前記第1筋目ローラの凸形状に対応する位置に凹形状を4つ備える第2筋目ローラと、を備え、
前記第1筋目ローラは4つの凸部の内、両端の筋目凸部の突起がそれ以外の筋目凸部の突起より低い、または両端の筋目凹部の裾野の曲率半径がそれ以外の筋目凹部の裾野の曲率半径より大きい、スロット紙の成形装置。
発明の詳細な説明
【技術分野】
【0001】
本発明はスロット紙の成形装置に関し、例えば、ステータコアのスロットに挿入するスロット紙の成形装置に関する。
続きを表示(約 1,100 文字)
【背景技術】
【0002】
特許文献1には、端部に原紙の一方の面に向かって突出する凸部を含み、原紙の一方の面を押圧する押圧部を有するローラと、凸部に対応する形状を有する凹部を有し、原紙の他方の面を押圧する型とを備え、型は、押圧部よりもローラの軸方向に突出して形成される、ステータコアのスロットに挿入するスロット紙の成形装置が記載されている。
【先行技術文献】
【特許文献】
【0003】
特開2021-93837号公報
【発明の概要】
【発明が解決しようとする課題】
【0004】
しかしながら、突起の抵抗やミスアライメントの影響によりスロット紙をまっすぐ搬送する事を阻害する力がかかり、筋目をつける位置が安定しなくなる問題があった。
【課題を解決するための手段】
【0005】
一実施形態のスロット紙の成形装置は、筋目ローラは4つの凸部の内、両端の筋目凸部の突起がそれ以外の筋目凸部の突起より高く、または、両端の筋目凸部の突起の曲率半径が、それ以外の筋目凸部の曲率半径より大きくした。
【発明の効果】
【0006】
本開示のスロット紙の成形装置によれば、筋目ごとの成形性を確保しつつ、蛇行補正性を向上できる。
【図面の簡単な説明】
【0007】
実施の形態1にかかるスロット紙の成形装置の一例を示す斜視図である。
実施の形態1にかかるスロット紙の斜視図及び展開図である。
実施の形態1にかかるスロット紙の成形装置の筋目ローラの一例を示す断面図である。
【発明を実施するための形態】
【0008】
実施の形態1
以下、図面を参照して本発明の実施の形態について説明する。図1は、実施の形態1にかかるスロット紙の成形装置の一例を示す斜視図である。スロット紙の成形装置100は、蛇行修正装置101と、第1筋目ローラ102と、第2筋目ローラ103とを備える。
【0009】
センタピボット式の蛇行修正装置101は、2本のガイドロール111、112の傾斜運動により、図1のY軸方向の蛇行修正を行う。
【0010】
第1筋目ローラ102は円筒形状の表面に回転方向に一周する凸形状を4つ備える。また、第2筋目ローラ103は、第1筋目ローラ102の凸形状に対応する位置に凹形状を4つ備える。そして、第1筋目ローラ102と第2筋目ローラ103の間に送り込まれた原紙104を送り方向に送り出しながら、筋目をつける。第1筋目ローラ102及び第2筋目ローラ103の詳細は後述する。
(【0011】以降は省略されています)
この特許をJ-PlatPat(特許庁公式サイト)で参照する
関連特許
トヨタ自動車株式会社
方法
今日
トヨタ自動車株式会社
椅子
今日
トヨタ自動車株式会社
電池
7日前
トヨタ自動車株式会社
電池
6日前
トヨタ自動車株式会社
車両
4日前
トヨタ自動車株式会社
車両
5日前
トヨタ自動車株式会社
方法
今日
トヨタ自動車株式会社
固定子
5日前
トヨタ自動車株式会社
電動車
今日
トヨタ自動車株式会社
ケース
6日前
トヨタ自動車株式会社
加熱器
4日前
トヨタ自動車株式会社
電磁弁
今日
トヨタ自動車株式会社
路側装置
6日前
トヨタ自動車株式会社
ロボット
7日前
トヨタ自動車株式会社
蓄電装置
4日前
トヨタ自動車株式会社
製造装置
5日前
トヨタ自動車株式会社
制御装置
6日前
トヨタ自動車株式会社
車両構造
4日前
トヨタ自動車株式会社
制御装置
4日前
トヨタ自動車株式会社
車載装置
4日前
トヨタ自動車株式会社
通話装置
4日前
トヨタ自動車株式会社
監視装置
5日前
トヨタ自動車株式会社
蓄電装置
6日前
トヨタ自動車株式会社
判定装置
今日
トヨタ自動車株式会社
塗工装置
5日前
トヨタ自動車株式会社
バッテリ
5日前
トヨタ自動車株式会社
バッテリ
5日前
トヨタ自動車株式会社
二次電池
5日前
トヨタ自動車株式会社
ガスタンク
4日前
トヨタ自動車株式会社
三角表示板
4日前
トヨタ自動車株式会社
制御システム
4日前
トヨタ自動車株式会社
電池交換装置
5日前
トヨタ自動車株式会社
電池システム
4日前
トヨタ自動車株式会社
電池交換装置
6日前
トヨタ自動車株式会社
情報処理装置
5日前
トヨタ自動車株式会社
情報提供装置
5日前
続きを見る
他の特許を見る