TOP
|
特許
|
意匠
|
商標
特許ウォッチ
Twitter
他の特許を見る
公開番号
2025158602
公報種別
公開特許公報(A)
公開日
2025-10-17
出願番号
2024061306
出願日
2024-04-05
発明の名称
乗客支援装置
出願人
トヨタ自動車株式会社
代理人
個人
,
個人
,
個人
,
個人
主分類
B61L
23/00 20060101AFI20251009BHJP(鉄道)
要約
【課題】大がかりな設備敷設を不要としつつ、乗客の駆け込み乗車を抑制することができる乗客支援装置を提供する。
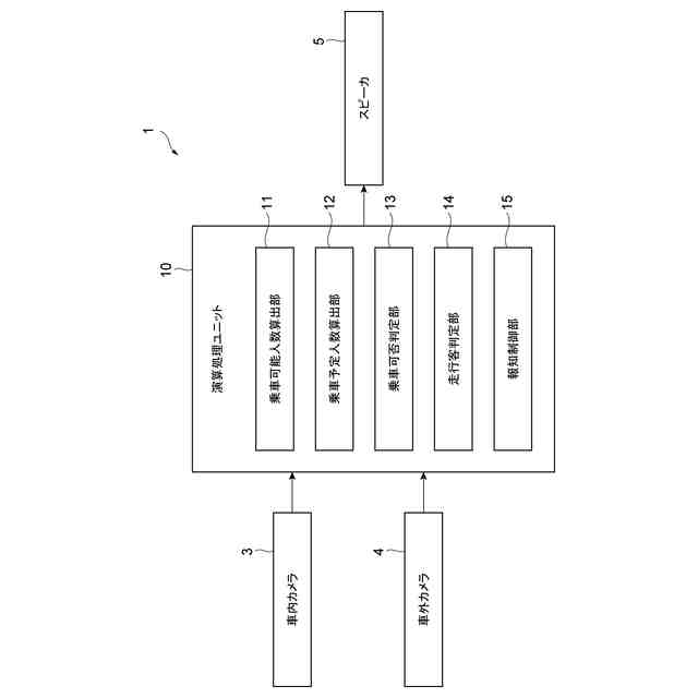
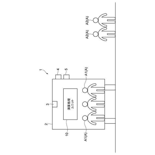
【解決手段】乗客支援装置1は、バス2に乗車している乗車済み乗客A1を検知する車内カメラ3と、バス2に乗車する意思がある乗車予定乗客A2を検知する車外カメラ4と、車内カメラ3による乗車済み乗客A1の検知結果と車外カメラ4による乗車予定乗客A2の検知結果とを用いて、乗車予定乗客A2がバス2に乗車可能であるか否かを判定する乗車可否判定部13と、車外カメラ4による乗車予定乗客A2の検知結果に基づいて、バス2に乗車するために走る走行客が存在するか否かを判定する走行客判定部14と、走行客判定部14により走行客が存在すると判定されたときに、乗車可否判定部13による判定結果に応じて、走行客に対して走らないように報知を行う報知制御部15及びスピーカ5とを備える。
【選択図】図2
特許請求の範囲
【請求項1】
乗客輸送用の車両が指定の停車位置で停車した際に、前記車両に乗車する乗客に対して支援を行う乗客支援装置であって、
前記車両に乗車している乗車済み乗客を検知する車内乗客検知部と、
前記車両に乗車する意思がある乗車予定乗客を検知する車外乗客検知部と、
前記車内乗客検知部による前記乗車済み乗客の検知結果と前記車外乗客検知部による前記乗車予定乗客の検知結果とを用いて、前記乗車予定乗客が前記車両に乗車可能であるか否かを判定する乗車可否判定部と、
前記車外乗客検知部による前記乗車予定乗客の検知結果に基づいて、前記車両に乗車するために走る走行客が存在するか否かを判定する走行客判定部と、
前記走行客判定部により前記走行客が存在すると判定されたときに、前記乗車可否判定部による判定結果に応じて、前記走行客に対して走らないように報知を行う報知部とを備える乗客支援装置。
続きを表示(約 580 文字)
【請求項2】
前記報知部は、前記走行客判定部により前記走行客が存在すると判定されたときに、前記乗車可否判定部による判定結果に応じて、前記走行客が前記車両に乗車可能であるか否かの旨を伝えるメッセージを前記走行客が走らないように促すメッセージと共に前記走行客に対して報知する請求項1記載の乗客支援装置。
【請求項3】
前記車内乗客検知部により検知された前記乗車済み乗客に基づいて、前記車両に乗車可能な乗客の人数を算出する乗車可能人数算出部と、
前記車外乗客検知部により検知された前記乗車予定乗客の人数を算出する乗車予定人数算出部とを更に備え、
前記乗車可否判定部は、前記乗車可能人数算出部により算出された前記車両に乗車可能な乗客の人数と前記乗車予定人数算出部により算出された前記乗車予定乗客の人数とを比較して、前記乗車予定乗客が前記車両に乗車可能であるか否かを判定する請求項1記載の乗客支援装置。
【請求項4】
前記乗車可否判定部は、前記車両に乗車可能な乗客の人数が前記乗車予定乗客の人数以上であるときは、前記乗車予定乗客が前記車両に乗車可能であると判定し、前記車両に乗車可能な乗客の人数が前記乗車予定乗客の人数よりも少ないときは、前記乗車予定乗客が前記車両に乗車不可であると判定する請求項3記載の乗客支援装置。
発明の詳細な説明
【技術分野】
【0001】
本発明は、乗客支援装置に関する。
続きを表示(約 1,400 文字)
【背景技術】
【0002】
例えば特許文献1には、透明ガラス板を組み込んだ安全隔壁とホームドアとを設けたプラットホームについて、停止中の列車を透視できないように安全隔壁及びホームドアを可逆的に不透明にして、乗客の駆け込み乗車を抑制する技術が記載されている。
【先行技術文献】
【特許文献】
【0003】
特開2000-255418号公報
【発明の概要】
【発明が解決しようとする課題】
【0004】
しかしながら、上記従来技術においては、乗車意思がある乗客から対象車両を見えないようにするために、安全隔壁及びホームドアのインフラ敷設を行うため、大がかりな設備敷設が必要となる。
【0005】
本発明の目的は、大がかりな設備敷設を不要としつつ、乗客の駆け込み乗車を抑制することができる乗客支援装置を提供することである。
【課題を解決するための手段】
【0006】
(1)本発明の一態様は、乗客輸送用の車両が指定の停車位置で停車した際に、車両に乗車する乗客に対して支援を行う乗客支援装置であって、車両に乗車している乗車済み乗客を検知する車内乗客検知部と、車両に乗車する意思がある乗車予定乗客を検知する車外乗客検知部と、車内乗客検知部による乗車済み乗客の検知結果と車外乗客検知部による乗車予定乗客の検知結果とを用いて、乗車予定乗客が車両に乗車可能であるか否かを判定する乗車可否判定部と、車外乗客検知部による乗車予定乗客の検知結果に基づいて、車両に乗車するために走る走行客が存在するか否かを判定する走行客判定部と、走行客判定部により走行客が存在すると判定されたときに、乗車可否判定部による判定結果に応じて、走行客に対して走らないように報知を行う報知部とを備える。
【0007】
(2)上記の(1)において、報知部は、走行客判定部により走行客が存在すると判定されたときに、乗車可否判定部による判定結果に応じて、走行客が車両に乗車可能であるか否かの旨を伝えるメッセージを走行客が走らないように促すメッセージと共に走行客に対して報知してもよい。
【0008】
(3)上記の(1)または(2)において、乗客支援装置は、車内乗客検知部により検知された乗車済み乗客に基づいて、車両に乗車可能な乗客の人数を算出する乗車可能人数算出部と、車外乗客検知部により検知された乗車予定乗客の人数を算出する乗車予定人数算出部とを更に備え、乗車可否判定部は、乗車可能人数算出部により算出された車両に乗車可能な乗客の人数と乗車予定人数算出部により算出された乗車予定乗客の人数とを比較して、乗車予定乗客が車両に乗車可能であるか否かを判定してもよい。
【0009】
(4)上記の(3)において、乗車可否判定部は、車両に乗車可能な乗客の人数が乗車予定乗客の人数以上であるときは、乗車予定乗客が車両に乗車可能であると判定し、車両に乗車可能な乗客の人数が乗車予定乗客の人数よりも少ないときは、乗車予定乗客が車両に乗車不可であると判定してもよい。
【発明の効果】
【0010】
本発明によれば、大がかりな設備敷設を不要としつつ、乗客の駆け込み乗車を抑制することができる。
【図面の簡単な説明】
(【0011】以降は省略されています)
この特許をJ-PlatPat(特許庁公式サイト)で参照する
関連特許
トヨタ自動車株式会社
電池
2日前
トヨタ自動車株式会社
車両
2日前
トヨタ自動車株式会社
電池
8日前
トヨタ自動車株式会社
配管
3日前
トヨタ自動車株式会社
車両
3日前
トヨタ自動車株式会社
電動車
3日前
トヨタ自動車株式会社
電動車
2日前
トヨタ自動車株式会社
ロータ
3日前
トヨタ自動車株式会社
モータ
15日前
トヨタ自動車株式会社
制御装置
3日前
トヨタ自動車株式会社
学習装置
2日前
トヨタ自動車株式会社
制御装置
3日前
トヨタ自動車株式会社
蓄電装置
2日前
トヨタ自動車株式会社
制御装置
3日前
トヨタ自動車株式会社
エンジン
3日前
トヨタ自動車株式会社
製造設備
8日前
トヨタ自動車株式会社
監視装置
8日前
トヨタ自動車株式会社
エンジン
2日前
トヨタ自動車株式会社
コネクタ
2日前
トヨタ自動車株式会社
制御装置
2日前
トヨタ自動車株式会社
蓄電セル
10日前
トヨタ自動車株式会社
鋳造装置
15日前
トヨタ自動車株式会社
蓄電装置
2日前
トヨタ自動車株式会社
判定装置
2日前
トヨタ自動車株式会社
推定装置
15日前
トヨタ自動車株式会社
路側装置
15日前
トヨタ自動車株式会社
制御装置
2日前
トヨタ自動車株式会社
電動車両
15日前
トヨタ自動車株式会社
路側装置
15日前
トヨタ自動車株式会社
路側装置
15日前
トヨタ自動車株式会社
反応容器
2日前
トヨタ自動車株式会社
電動車両
15日前
トヨタ自動車株式会社
路側装置
15日前
トヨタ自動車株式会社
蓄電装置
2日前
トヨタ自動車株式会社
制御装置
15日前
トヨタ自動車株式会社
蓄電装置
15日前
続きを見る
他の特許を見る