TOP
|
特許
|
意匠
|
商標
特許ウォッチ
Twitter
他の特許を見る
公開番号
2025156732
公報種別
公開特許公報(A)
公開日
2025-10-15
出願番号
2024059330
出願日
2024-04-02
発明の名称
電子機器、通知制御方法及びプログラム
出願人
カシオ計算機株式会社
代理人
弁理士法人光陽国際特許事務所
主分類
G06Q
50/20 20120101AFI20251007BHJP(計算;計数)
要約
【課題】通知の内容をユーザが適切なタイミングで知ることができる電子機器、通知制御方法及びプログラを提供する。
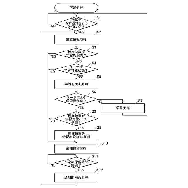
【解決手段】電子機器は、学習を促す通知を行うタイミングS1において、位置情報取得を行いS2、現在位置が学習施設内ではなくS3NO、ユーザは学習状態である場合S4YES、学習を促す通知を行いS5、ユーザによる保留操作有の場合S6YES、現位置を学習施設として登録する指示があるとS8YES、現在位置を学習施設DBに登録S9した上で通知保留開始を行いS10、所定の保留時間が経過するとS11、通知間隔再計算を行いS12、位置情報取得S2以降の処理を繰り返す。
【選択図】図3
特許請求の範囲
【請求項1】
電子機器であって、
通知部と、
制御部と、を備え、
前記制御部は、
前記通知部に学習に関する通知を行わせるタイミングにおいて、前記電子機器が通知可能状態であるか否かを判断し、
前記電子機器が前記通知可能状態でないと判断した場合、前記タイミングでは前記通知部に前記学習に関する通知を行わせず、次に当該電子機器が前記通知可能状態にあると判断したタイミングで、前記通知部に前記学習に関する通知を行わせる、
電子機器。
続きを表示(約 1,300 文字)
【請求項2】
前記制御部は、
前記通知部に前記学習に関する通知を行わせるタイミングにおいて、前記電子機器の位置情報に基づいて当該電子機器が第一区域内にあるか否かを判断し、
前記電子機器が前記第一区域外であると判断した場合、当該電子機器が前記通知可能状態にあると判断する、
請求項1に記載の電子機器。
【請求項3】
前記電子機器のユーザの行動情報を取得するセンサを備え、
前記制御部は、
前記通知部に前記学習に関する通知を行わせるタイミングにおいて、前記センサによって取得された前記行動情報が所定の条件を満たしているか否かを判断し、
前記行動情報が前記所定の条件を満たしている場合、前記電子機器が前記通知可能状態にあると判断する、
請求項1に記載の電子機器。
【請求項4】
前記制御部は、
第1の学習に関する通知と第2の学習に関する通知を所定の時間間隔で前記通知部に行わせ、
前記第1の学習に関する通知を行わせるタイミングで当該第1の学習に関する通知を前記通知部に行わせなかった場合、前記所定の時間間隔を当該所定の時間間隔よりも短く設定する、
請求項1に記載の電子機器。
【請求項5】
前記第一区域は、予め定められた学習施設が含まれる区域である、
請求項2に記載の電子機器。
【請求項6】
表示部を備え、
前記制御部は、前記学習に関する通知を前記表示部に表示させた場合に、前記表示部に現在地を前記学習施設として登録させるための画面を表示させる、
請求項5に記載の電子機器。
【請求項7】
表示部を備え、
前記制御部は、前記学習に関する通知を通知させなかった場合に、前記表示部に当該学習に関する通知を通知させなかったことを示す標識を表示させる、
請求項1に記載の電子機器。
【請求項8】
通知部と、
制御部と、を備える電子機器における通知制御方法であって、
前記制御部は、
前記通知部に学習に関する通知を行わせるタイミングにおいて、前記電子機器が通知可能状態であるか否かを判断し、
前記電子機器が前記通知可能状態でないと判断した場合、前記タイミングでは前記通知部に前記学習に関する通知を行わせず、次に当該電子機器が前記通知可能状態にあると判断したタイミングで、前記通知部に前記学習に関する通知を行わせる、
通知制御方法。
【請求項9】
通知部を備える電子機器のコンピュータに、
前記通知部に学習に関する通知を行わせるタイミングにおいて、前記電子機器が通知可能状態であるか否かを判断し、
前記電子機器が前記通知可能状態でないと判断した場合、前記タイミングでは前記通知部に前記学習に関する通知を行わせず、次に当該電子機器が前記通知可能状態にあると判断したタイミングで、前記通知部に前記学習に関する通知を行わせる、
処理を実行させるためのプログラム。
発明の詳細な説明
【技術分野】
【0001】
本発明は、電子機器、通知制御方法及びプログラムに関する。
続きを表示(約 1,300 文字)
【背景技術】
【0002】
従来、位置情報が指定エリア内の場合は安全を確保する行動を行ったか否かを判定して判定結果を通知し、位置情報が指定エリア外の場合は行動の判定結果の通知を行わない学習支援装置が開示されている(例えば、特許文献1参照)。
【先行技術文献】
【特許文献】
【0003】
特開2023-054870号公報
【発明の概要】
【発明が解決しようとする課題】
【0004】
特許文献1に記載の仕様では、例えば、指定エリア外では通知が行われないように設定されている場合、指定エリア外で行われなかった通知は、ユーザが後に指定エリア外から指定エリアに入ったとしても通知されることはない。そのため、行われなかった通知の内容をユーザが後で知ることはできない。
【0005】
本発明は、上記の問題点を鑑みてなされたものであり、通知の内容をユーザが適切なタイミングで知ることができるようにすることを目的とする。
【課題を解決するための手段】
【0006】
以上の課題を解決するため、本発明の一態様の電子機器は、通知部と、制御部と、を備え、前記制御部は、前記通知部に学習に関する通知を行わせるタイミングにおいて、前記電子機器が通知可能状態であるか否かを判断し、前記電子機器が前記通知可能状態でないと判断した場合、前記タイミングでは前記通知部に前記学習に関する通知を行わせず、次に当該電子機器が前記通知可能状態にあると判断したタイミングで、前記通知部に前記学習に関する通知を行わせる。
【発明の効果】
【0007】
本発明によれば、通知の内容をユーザが適切なタイミングで知ることが可能となる。
【図面の簡単な説明】
【0008】
本発明に係る電子機器の外観を示す図である。
図1の電子機器の機能的構成を示すブロック図である。
図2の制御部により実行される学習処理の流れを示すフローチャートである。
現在地を学習施設として登録させるための画面の一例を示す図である。
学習を促す通知を行わなかった旨を示す標識が表示された画面の一例を示す図である。
【発明を実施するための形態】
【0009】
以下に、本発明を実施するための形態について、図面を用いて説明する。但し、以下に述べる実施形態には、本発明を実施するために技術的に好ましい種々の限定が付されている。そのため、本発明の技術的範囲を以下の実施形態及び図示例に限定するものではない。
【0010】
まず、本発明の実施形態における電子機器1の構成について説明する。図1に示すように、電子機器1は、リストウォッチ型(腕時計型)の外観を有し、ユーザに所定の情報を表示するための表示部14を備えた機器本体101と、ユーザの手首に巻き付けることにより機器本体101を手首に装着するためのベルト部102と、を備えている。電子機器1には、学習用アプリケーション121が搭載されており、ユーザが電子機器1を用いて学習できるようになっている。
(【0011】以降は省略されています)
この特許をJ-PlatPat(特許庁公式サイト)で参照する
関連特許
カシオ計算機株式会社
情報処理システム
2日前
カシオ計算機株式会社
光源装置及び投影装置
1か月前
カシオ計算機株式会社
イヤーデバイス及びシステム
2日前
カシオ計算機株式会社
プログラム及びデータ処理方法
22日前
カシオ計算機株式会社
イヤホンデバイス、電子システム
29日前
カシオ計算機株式会社
学習支援装置、学習支援方法及びプログラム
8日前
カシオ計算機株式会社
情報処理装置、情報処理方法、及びプログラム
1か月前
カシオ計算機株式会社
ウェアラブル機器、装着判定方法及びプログラム
1か月前
カシオ計算機株式会社
電子機器、報知方法、プログラム及び報知システム
8日前
カシオ計算機株式会社
時計
29日前
カシオ計算機株式会社
電子鍵盤楽器
1か月前
カシオ計算機株式会社
売上データ処理システム、売上データ処理方法、及びプログラム
1か月前
カシオ計算機株式会社
バンド駒の製造方法
29日前
カシオ計算機株式会社
カッティング装置、カッティング支援方法、プログラム及びカット品の製造方法
1日前
カシオ計算機株式会社
電子楽器、方法およびプログラム
22日前
カシオ計算機株式会社
ロボット、制御方法及びプログラム
22日前
カシオ計算機株式会社
ロボット、制御方法及びプログラム
22日前
カシオ計算機株式会社
電子時計及びソーラパネルの製造方法
3日前
カシオ計算機株式会社
印刷装置、印刷制御方法及びプログラム
3日前
カシオ計算機株式会社
表示形式変更方法、電子機器及びプログラム
16日前
カシオ計算機株式会社
プログラム、サーバ及びウェブアプリケーションの認証情報生成方法
10日前
個人
詐欺保険
1か月前
個人
縁伊達ポイン
1か月前
個人
職業自動販売機
22日前
個人
5掛けポイント
29日前
個人
RFタグシート
1か月前
個人
ペルソナ認証方式
1か月前
個人
QRコードの彩色
1か月前
個人
地球保全システム
2か月前
個人
自動調理装置
1か月前
個人
情報処理装置
1か月前
個人
立体グラフの利用方法
1日前
個人
残土処理システム
1か月前
個人
農作物用途分配システム
1か月前
個人
知的財産出願支援システム
2か月前
個人
インターネットの利用構造
1か月前
続きを見る
他の特許を見る