TOP
|
特許
|
意匠
|
商標
特許ウォッチ
Twitter
他の特許を見る
10個以上の画像は省略されています。
公開番号
2025176177
公報種別
公開特許公報(A)
公開日
2025-12-03
出願番号
2025154849,2021136753
出願日
2025-09-18,2021-08-25
発明の名称
印刷装置、印刷制御方法及びプログラム
出願人
カシオ計算機株式会社
代理人
弁理士法人光陽国際特許事務所
主分類
B41J
11/70 20060101AFI20251126BHJP(印刷;線画機;タイプライター;スタンプ)
要約
【課題】効率よくラベルの作成を行うことのできる印刷装置、印刷制御方法及びプログラムを提供する。
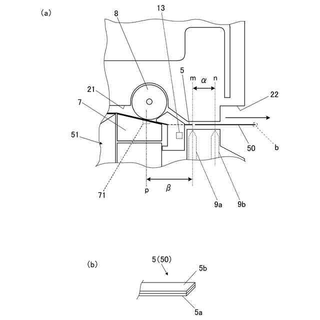
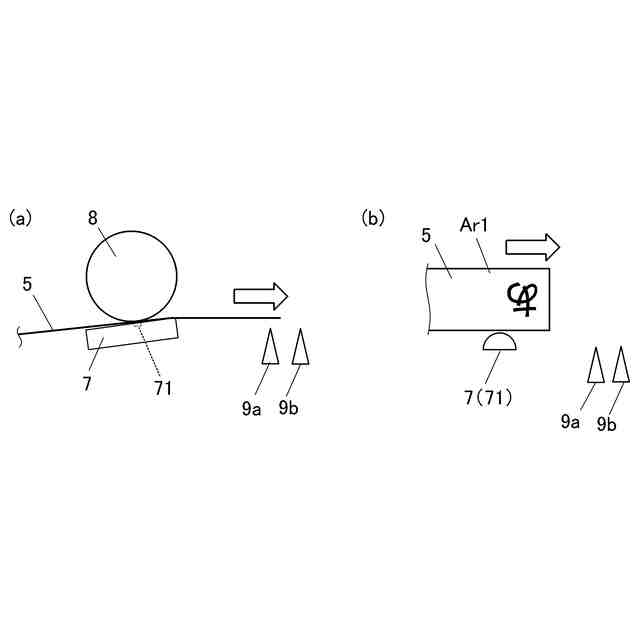
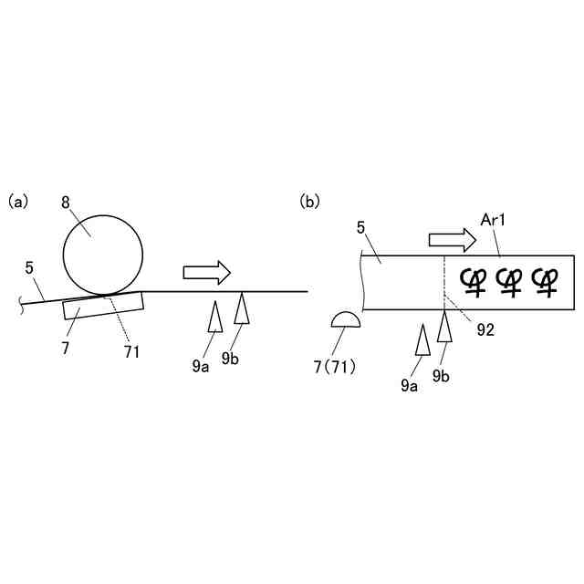
【解決手段】印刷装置1が、テープ部材5の印刷領域Ar1に印刷を行うサーマルヘッド7と、テープ部材5を搬送するプラテンローラ8と、テープ部材5の一部の層を切断した一部層切断部92を形成する第1の切断手段であるハーフカット機構9bと、ハーフカット機構9bとの間に間隔βをあけて配置され、テープ部材5の全層を切断した全層切断部91を形成する第2の切断手段であるフルカット機構9aと、フルカット機構9a及びハーフカット機構9bの切断動作を制御することで、テープ部材5における、印刷領域Ar1の上流側に、印刷領域Ar1に隣接する一部層切断部92と一部層切断部92よりも印刷領域Ar1から離れた位置に配置される全層切断部91との対を形成させる制御部10とを備えている。
【選択図】図3
特許請求の範囲
【請求項1】
被印刷媒体の印刷領域に印刷を行う印刷手段と、
前記被印刷媒体を搬送方向、及び搬送方向の逆方向に搬送する搬送手段と、
前記被印刷媒体の一部の層を切断した一部層切断部を形成する第1の切断手段と、
前記第1の切断手段との間に間隔をあけて配置され、前記被印刷媒体の全層を切断した全層切断部を形成する第2の切断手段と、
前記第1の切断手段及び前記第2の切断手段の切断動作を制御することで、前記被印刷媒体における、前記印刷領域の上流側に、前記印刷領域に隣接する前記一部層切断部と前記一部層切断部よりも前記印刷領域から離れた位置に配置される前記全層切断部との対を形成させる制御手段と、
を備え、
前記制御手段は、前記被印刷媒体の先端位置が印刷開始位置に来るまで前記被印刷媒体を前記搬送方向の逆方向に搬送させ、
前記被印刷媒体の先端位置が前記印刷開始位置に配置されると、前記被印刷媒体の印刷領域に印刷手段によって印刷を行わせることを特徴とする印刷装置。
続きを表示(約 1,400 文字)
【請求項2】
対となる前記一部層切断部と前記全層切断部とは、前記間隔をあけて配置されることを特徴とする請求項1に記載の印刷装置。
【請求項3】
前記制御手段は、前記対となる前記一部層切断部及び前記全層切断部を形成する切断動作の間、前記被印刷媒体の搬送を行わないように前記搬送手段による搬送動作を制御することを特徴とする請求項1又は請求項2に記載の印刷装置。
【請求項4】
前記印刷手段よりも前記搬送方向の下流側に前記第2の切断手段が配置され、前記第2の切断手段よりも前記搬送方向の下流側に前記第1の切断手段が配置されており、
前記一部層切断部及び前記全層切断部は、前記印刷領域の搬送方向の上流側に形成されることを特徴とする請求項1に記載の印刷装置。
【請求項5】
前記印刷手段よりも前記搬送方向の下流側に前記第1の切断手段が配置され、前記第1の切断手段よりも前記搬送方向の下流側に前記第2の切断手段が配置されており、
前記一部層切断部及び前記全層切断部は、前記印刷領域の搬送方向の下流側に形成されることを特徴とする請求項2に記載の印刷装置。
【請求項6】
被印刷媒体の印刷領域に印刷手段によって印刷を行わせる印刷工程と、
前記被印刷媒体を搬送方向、及び搬送方向の逆方向に搬送させる搬送工程と、
前記被印刷媒体の一部の層を切断した一部層切断部を形成させる第1の切断工程と、
前記一部層切断部との間に間隔をあけて、前記被印刷媒体の全層を切断した全層切断部を形成させる第2の切断工程と、
を含み、
前記第1の切断工程及び前記第2の切断工程により、前記被印刷媒体における、前記印刷領域の前記搬送方向の上流側に、前記印刷領域に隣接する前記一部層切断部と前記一部層切断部よりも前記印刷領域から離れた位置に配置される前記全層切断部との対を形成させ、
前記搬送工程は、前記被印刷媒体の先端位置が印刷開始位置に来るまで前記被印刷媒体を前記搬送方向の逆方向に搬送させ、
前記印刷工程は、前記被印刷媒体の先端位置が前記印刷開始位置に配置されると、前記被印刷媒体の印刷領域に印刷手段によって印刷を行わせることを特徴とする印刷制御方法。
【請求項7】
コンピュータに、
被印刷媒体の印刷領域に印刷手段によって印刷を行わせる印刷制御機能と、
前記被印刷媒体を搬送方向、及び搬送方向の逆方向に搬送させる搬送制御機能と、
前記被印刷媒体の一部の層を切断した一部層切断部を形成させる第1の切断制御機能と、
前記一部層切断部との間に間隔をあけて、前記被印刷媒体の全層を切断した全層切断部を形成させる第2の切断制御機能と、
を実現させ、
前記第1の切断制御機能及び前記第2の切断制御機能により、前記被印刷媒体における、前記印刷領域の前記搬送方向の上流側に、前記印刷領域に隣接する前記一部層切断部と前記一部層切断部よりも前記印刷領域から離れた位置に配置される前記全層切断部との対を形成させ、
前記搬送制御機能は、前記被印刷媒体の先端位置が印刷開始位置に来るまで前記被印刷媒体を前記搬送方向の逆方向に搬送させ、
前記印刷制御機能は、前記被印刷媒体の先端位置が前記印刷開始位置に配置されると、前記被印刷媒体の印刷領域に印刷手段によって印刷を行わせることを特徴とするプログラム。
発明の詳細な説明
【技術分野】
【0001】
本発明は、印刷装置、印刷制御方法及びプログラムに関するものである。
続きを表示(約 1,600 文字)
【背景技術】
【0002】
従来、テープ部材等の被印刷媒体を搬送しながら印刷部により文字や図形等の印刷を行い、印刷が行われた被印刷媒体をカッターで切断することによってラベルを作成する印刷装置(特許文献1において「ラベル作成装置」)が知られている(例えば、特許文献1参照)。
【0003】
このような印刷装置において、カッターは印刷部よりも搬送方向の下流側に配置されており、印刷後、被印刷媒体をカッター位置まで搬送して切断が行われる。
しかし、印刷部とカッターとはある程度の距離離間している。
このため、被印刷媒体を切断したのち次の印刷を行う際にそのままの位置で印刷を開始すると、被印刷媒体の先端から印刷の開始位置まで何も印刷されない余白部分が生じる。
【0004】
そこで、特許文献1に記載の装置では、モータの通電制御によって搬送用ローラの回転方向を変更することで被印刷媒体を正逆両方向に搬送可能とし、被印刷媒体の先端が印刷部から離れすぎている場合には、余白となる部分を詰めるために被印刷媒体を巻き戻すようになっている。
【先行技術文献】
【特許文献】
【0005】
特開2013-121672号公報
【発明の概要】
【発明が解決しようとする課題】
【0006】
しかしながら、一連の印刷の中で被印刷媒体の正方向への搬送、逆方向への搬送を何度も繰り返すと、その分時間を要してしまい、印刷効率が低下してしまう。
【0007】
特に、このような印刷装置に用いられる被印刷媒体は、粘着層を有する基材と、粘着層を覆うように設けられ、ラベル使用時には基材から剥離される剥離層と、を備えている。被印刷媒体には、ラベルを切り離すためのフルカットの他に、使用時に剥離層から基材を剥がしやすくするために、基材部分のみを切断したハーフカットが行われる。
このため、フルカットとハーフカットとを適切な位置で行うために、被印刷媒体の正方向への搬送、逆方向への搬送が何度も繰り返される事態が生じてしまい、ラベルの作成に際して時間を要するという課題があった。
【0008】
本発明は以上のような事情に鑑みてなされたものであり、効率よくラベルの作成を行うことのできる印刷装置、印刷制御方法及びプログラムを提供することを目的とするものである。
【課題を解決するための手段】
【0009】
前記課題を解決するために、本発明の印刷装置は、
被印刷媒体の印刷領域に印刷を行う印刷手段と、
前記被印刷媒体を搬送方向、及び搬送方向の逆方向に搬送する搬送手段と、
前記被印刷媒体の一部の層を切断した一部層切断部を形成する第1の切断手段と、
前記第1の切断手段との間に間隔をあけて配置され、前記被印刷媒体の全層を切断した全層切断部を形成する第2の切断手段と、
前記第1の切断手段及び前記第2の切断手段の切断動作を制御することで、前記被印刷媒体における、前記印刷領域の上流側に、前記印刷領域に隣接する前記一部層切断部と前記一部層切断部よりも前記印刷領域から離れた位置に配置される前記全層切断部との対を形成させる制御手段と、
を備え、
前記制御手段は、前記被印刷媒体の先端位置が印刷開始位置に来るまで前記被印刷媒体を前記搬送方向の逆方向に搬送させ、
前記被印刷媒体の先端位置が前記印刷開始位置に配置されると、前記被印刷媒体の印刷領域に印刷手段によって印刷を行わせることを特徴としている。
【発明の効果】
【0010】
本発明によれば、効率よくラベルの作成を行うことができるとの効果を奏する。
【図面の簡単な説明】
(【0011】以降は省略されています)
この特許をJ-PlatPat(特許庁公式サイト)で参照する
関連特許
カシオ計算機株式会社
情報処理システム
今日
カシオ計算機株式会社
イヤーデバイス及びシステム
今日
カシオ計算機株式会社
プログラム及びデータ処理方法
20日前
カシオ計算機株式会社
イヤホンデバイス、電子システム
27日前
カシオ計算機株式会社
学習支援装置、学習支援方法及びプログラム
6日前
カシオ計算機株式会社
電子機器、報知方法、プログラム及び報知システム
6日前
カシオ計算機株式会社
時計
27日前
カシオ計算機株式会社
バンド駒の製造方法
27日前
カシオ計算機株式会社
電子楽器、方法およびプログラム
20日前
カシオ計算機株式会社
ロボット、制御方法及びプログラム
20日前
カシオ計算機株式会社
ロボット、制御方法及びプログラム
20日前
カシオ計算機株式会社
電子時計及びソーラパネルの製造方法
1日前
カシオ計算機株式会社
印刷装置、印刷制御方法及びプログラム
1日前
カシオ計算機株式会社
表示形式変更方法、電子機器及びプログラム
14日前
カシオ計算機株式会社
プログラム、サーバ及びウェブアプリケーションの認証情報生成方法
8日前
個人
箔熱転写装置
2か月前
シヤチハタ株式会社
印判
6か月前
シヤチハタ株式会社
反転式印判
10か月前
独立行政法人 国立印刷局
印刷物
8か月前
キヤノン株式会社
電子機器
27日前
三光株式会社
感熱記録材料
8か月前
キヤノン株式会社
記録装置
2か月前
独立行政法人 国立印刷局
貼付装置
3か月前
株式会社リコー
液体吐出装置
10か月前
株式会社リコー
液体吐出装置
3か月前
株式会社リコー
液体吐出装置
7か月前
株式会社リコー
画像形成装置
2か月前
独立行政法人 国立印刷局
記録媒体
10か月前
株式会社リコー
液体吐出装置
5か月前
独立行政法人 国立印刷局
貼付機構
3か月前
株式会社リコー
画像形成装置
2か月前
株式会社リコー
液体吐出装置
6か月前
株式会社リコー
液体吐出装置
9か月前
株式会社リコー
印刷システム
2か月前
株式会社リコー
画像形成装置
2か月前
日本製紙株式会社
感熱記録体
9か月前
続きを見る
他の特許を見る