TOP
|
特許
|
意匠
|
商標
特許ウォッチ
Twitter
他の特許を見る
10個以上の画像は省略されています。
公開番号
2025176536
公報種別
公開特許公報(A)
公開日
2025-12-04
出願番号
2024082756
出願日
2024-05-21
発明の名称
イヤーデバイス及びシステム
出願人
カシオ計算機株式会社
代理人
弁理士法人光陽国際特許事務所
主分類
H04R
1/10 20060101AFI20251127BHJP(電気通信技術)
要約
【課題】イヤーデバイスの左右の付け間違いを防ぎ、意図しない落下を防ぐ。
【解決手段】イヤーデバイス100が、左耳用パーツ100aと右耳用パーツ100bとを含んでいる。左耳用パーツ100aは、左耳E1の裏側に配置された第1の磁石61と引き付け合う左用磁石51を有し、右耳用パーツ100bは、右耳E2の裏側に配置された第2の磁石62と引き付け合う右用磁石52を有している。イヤーデバイス100と、第1の磁石61と、第2の磁石62と、を含んでシステムが構成されている。
【選択図】図1
特許請求の範囲
【請求項1】
左耳用パーツと右耳用パーツとを含み、
前記左耳用パーツは、第1の磁石と引き付け合う左用磁石を有し、
前記右耳用パーツは、第2の磁石と引き付け合う右用磁石を有している、
ことを特徴とするイヤーデバイス。
続きを表示(約 850 文字)
【請求項2】
前記左用磁石は、第1の極性を有する前記第1の磁石と引き付け合う第2の極性を有し、
前記右用磁石は、前記第2の極性を有する前記第2の磁石と引き付け合う前記第1の極性を有する、
ことを特徴とする請求項1に記載のイヤーデバイス。
【請求項3】
前記左耳用パーツ及び前記右耳用パーツは、
それぞれハウジングと、前記ハウジングの一側に取り付けられ装着時に外耳道入り口に対応するパッド部材と、を備え、
前記左用磁石及び右用磁石は、前記ハウジングに設けられる、
ことを特徴とする請求項1に記載のイヤーデバイス。
【請求項4】
前記第1の磁石及び前記第2の磁石は、眼鏡のテンプルフレームに設けられており、
前記第1の磁石と左用磁石とで左耳を表裏から挟むことにより前記左耳用パーツが左耳に係止され、
前記第2の磁石と右用磁石とで右耳を表裏から挟むことにより前記右耳用パーツが右耳に係止される、
ことを特徴とする請求項1に記載のイヤーデバイス。
【請求項5】
前記第1の磁石及び前記第2の磁石は、耳の裏側に設けられており、
前記第1の磁石と左用磁石とが左耳の表裏から引き合う引力により前記左耳用パーツが左耳の外耳道入り口近くに係止され、
前記第2の磁石と右用磁石とが右耳の表裏から引き合う引力により前記右耳用パーツが右耳の外耳道入り口近くに係止される、
ことを特徴とする請求項1に記載のイヤーデバイス。
【請求項6】
前記左耳用パーツ及び前記右耳用パーツはワイヤレスで用いられる、
ことを特徴とする請求項1に記載のイヤーデバイス。
【請求項7】
請求項1から請求項6のいずれか一項に記載のイヤーデバイスと、
前記第1の磁石と、
前記第2の磁石と、
を有する、
ことを特徴とするシステム。
発明の詳細な説明
【技術分野】
【0001】
本発明は、イヤーデバイス及びシステムに関する。
続きを表示(約 2,100 文字)
【背景技術】
【0002】
従来、イヤホン等、耳に装着するイヤーデバイスが知られている。イヤーデバイスには左右の別があり、逆に装着すると、音が聞き取りづらくなったり、装着性が悪く落下しやすかったりする。この点、例えば特許文献1には、眼鏡のテンプルフレームに、イヤホンが磁気的に取り外し可能に結合されるイヤホン付き眼鏡が開示されている。
【先行技術文献】
【特許文献】
【0003】
実用新案登録3220463号公報
【発明の概要】
【発明が解決しようとする課題】
【0004】
しかしながら、特許文献1は、イヤホンを使用していないときに、イヤホンが邪魔になることを解決しようとするものであり、イヤホン使用時には眼鏡から取り外して単体で用いることを想定している。このため、使用時における落下を防ぐことはできない。
【0005】
本発明はこうした課題を解決するためのものであり、イヤーデバイスの意図しない落下を防ぐことのできるイヤーデバイス及びシステムを提供する。
【課題を解決するための手段】
【0006】
前記課題を解決するために、本発明に係るイヤーデバイスは、左耳用パーツと右耳用パーツとを含み、前記左耳用パーツは、第1の磁石と引き付け合う左用磁石を有し、前記右耳用パーツは、第2の磁石と引き付け合う右用磁石を有していることを特徴とする。
また、本発明に係るシステムは、請求項1から請求項6のいずれか一項に記載のイヤーデバイスと、前記第1の磁石と、前記第2の磁石と、を有することを特徴とする。
【発明の効果】
【0007】
本発明によれば、イヤーデバイスの意図しない落下を防ぐことができる。
【図面の簡単な説明】
【0008】
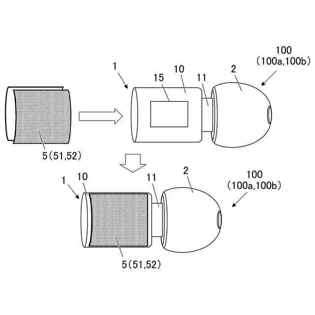
第1の実施形態においてイヤーデバイスが耳に係止された状態を頭上から見た図である。
イヤーデバイスに、第1の実施形態における磁石を装着する様子を示す模式的説明図である。
左耳用パーツのハウジング及びこれに取り付けられている左用磁石の模式的断面図である。
第1の実施形態における第1の磁石、第2の磁石が取り付けられた眼鏡の斜視図である。
図4に示す第1の磁石を示す模式図である。
図4に示す第2の磁石を示す模式図である。
第1の実施形態においてイヤーデバイスを耳に係止させる様子を示す模式的説明図である。
第2の実施形態においてイヤーデバイスが耳に係止された状態を頭上から見た図である。
イヤーデバイスに、第2の実施形態における磁石を装着する様子を示す模式的説明図である。
図7に示す第1の磁石を示す模式図である。
図7に示す第2の磁石を示す模式図である。
第2の実施形態においてイヤーデバイスを耳に係止させる様子を示す模式的説明図である。
【発明を実施するための形態】
【0009】
図面を参照しつつ、本発明に係るイヤーデバイス100及びイヤーデバイス100を含むシステムの実施形態について説明する。以下の実施形態には、本発明を実施するために技術的に好ましい種々の限定が付されているが、本発明の範囲を以下の実施形態及び図示例に限定するものではない。以下の第1の実施形態、第2の実施形態では、イヤーデバイス100を耳Eに係止させる構成が異なっているが、いずれの実施形態においてもイヤーデバイス100の構成は同じである。このため、第1の実施形態及び第2の実施形態に共通する構成として、まずイヤーデバイス100について説明する。なお、以下において、左耳を「左耳E1」とし、右耳を「右耳E2」とする。また、単に「耳E」としたときは、特に左右の耳を区別せず、「左耳E1」と「右耳E2」を含むものとする。
【0010】
図1に示すように、実施形態に係るイヤーデバイス100は、左耳用パーツ100aと右耳用パーツ100bとを含んでいる。なお特に左耳用パーツ100aと右耳用パーツ100bとを区別しないで説明するときは、単にイヤーデバイス100とする。図2、図8に示すように、本実施形態のイヤーデバイス100は、左耳用パーツ100a及び右耳用パーツ100bが、それぞれ本体部1とパッド部材2とを含んでいる。パッド部材2は、使用時においてユーザの外耳道入り口Ea(耳穴、図6及び図10参照)に挿入されるイヤーピースであり、実施形態に係るイヤーデバイス100は、所謂カナル型(密閉型)のイヤーデバイスである。また、イヤーデバイス100は、左耳用パーツ100a及び右耳用パーツ100bがワイヤレスで用いられるようになっている。なお、本実施形態のイヤーデバイス100は、ユーザの耳に装着された際に、出力された音(音波)を聞くことができるイヤホンであってもよいし、補聴器等であってもよいし、体温等の各種生体情報を検出する検出器等であってもよく、耳に装着されるデバイスを広く含み得る。
(【0011】以降は省略されています)
この特許をJ-PlatPat(特許庁公式サイト)で参照する
関連特許
カシオ計算機株式会社
電子装置
1か月前
カシオ計算機株式会社
印刷装置
1か月前
カシオ計算機株式会社
情報処理システム
今日
カシオ計算機株式会社
光源装置及び投影装置
1か月前
カシオ計算機株式会社
報知システム及び報知方法
1か月前
カシオ計算機株式会社
イヤーデバイス及びシステム
今日
カシオ計算機株式会社
プログラム及びデータ処理方法
20日前
カシオ計算機株式会社
調整装置、方法及びプログラム
1か月前
カシオ計算機株式会社
イヤホンデバイス、電子システム
27日前
カシオ計算機株式会社
発音装置、発音方法及びプログラム
1か月前
カシオ計算機株式会社
電子機器、通知制御方法及びプログラム
1か月前
カシオ計算機株式会社
検索装置、検索方法、及び、プログラム
1か月前
カシオ計算機株式会社
電子機器、入力制御方法、及びプログラム
1か月前
カシオ計算機株式会社
印刷装置、ラベル作成方法及びプログラム
1か月前
カシオ計算機株式会社
学習支援装置、学習支援方法及びプログラム
6日前
カシオ計算機株式会社
情報処理装置、情報処理方法、及びプログラム
1か月前
カシオ計算機株式会社
情報処理装置、演奏装置、方法およびプログラム
1か月前
カシオ計算機株式会社
ウェアラブル機器、装着判定方法及びプログラム
1か月前
カシオ計算機株式会社
電子機器、報知方法、プログラム及び報知システム
6日前
カシオ計算機株式会社
電子機器、電源供給状態表示方法およびプログラム
1か月前
カシオ計算機株式会社
時計
27日前
カシオ計算機株式会社
電子鍵盤楽器
29日前
カシオ計算機株式会社
売上データ処理システム、売上データ処理方法、及びプログラム
1か月前
カシオ計算機株式会社
バンド駒の製造方法
27日前
カシオ計算機株式会社
カバー付き電子機器
1か月前
カシオ計算機株式会社
スイッチ装置および時計
1か月前
カシオ計算機株式会社
スタンド、鍵盤楽器セット
1か月前
カシオ計算機株式会社
電子楽器、方法およびプログラム
20日前
カシオ計算機株式会社
ロボット、制御方法及びプログラム
20日前
カシオ計算機株式会社
ロボット、制御方法及びプログラム
20日前
カシオ計算機株式会社
電子時計及びソーラパネルの製造方法
1日前
カシオ計算機株式会社
印刷装置、印刷制御方法及びプログラム
1日前
カシオ計算機株式会社
表示形式変更方法、電子機器及びプログラム
14日前
カシオ計算機株式会社
情報処理装置、情報制御方法、及び、プログラム
1か月前
カシオ計算機株式会社
音量制御装置、電子楽器、音量制御方法及びプログラム
1か月前
カシオ計算機株式会社
プログラム、サーバ及びウェブアプリケーションの認証情報生成方法
8日前
続きを見る
他の特許を見る