TOP
|
特許
|
意匠
|
商標
特許ウォッチ
Twitter
他の特許を見る
10個以上の画像は省略されています。
公開番号
2025172205
公報種別
公開特許公報(A)
公開日
2025-11-20
出願番号
2025155167,2022099421
出願日
2025-09-18,2022-06-21
発明の名称
表示形式変更方法、電子機器及びプログラム
出願人
カシオ計算機株式会社
代理人
弁理士法人光陽国際特許事務所
主分類
G06F
3/0488 20220101AFI20251113BHJP(計算;計数)
要約
【課題】数の表示形式の変更を直感的な操作で素早く行えるようにする。
【解決手段】電子機器の制御部は、数を表示部に表示させ、表示された前記数に対してユーザによる所定のジェスチャー操作が行われた場合に、ジェスチャー操作の操作幅の大きさと操作方向に基づいて、前記数の表示形式を、分数形式、循環小数形式、小数形式の間で変化させる。
【選択図】図5
特許請求の範囲
【請求項1】
コンピュータが、
数を表示部に表示させ、
前記表示部に表示された前記数に対してユーザによる所定のジェスチャー操作が行われた場合に、前記ジェスチャー操作の操作幅の大きさと操作方向に基づいて、前記数の表示形式を、分数形式、循環小数形式、小数形式の間で変化させる、表示形式変更方法。
続きを表示(約 1,600 文字)
【請求項2】
前記コンピュータは、
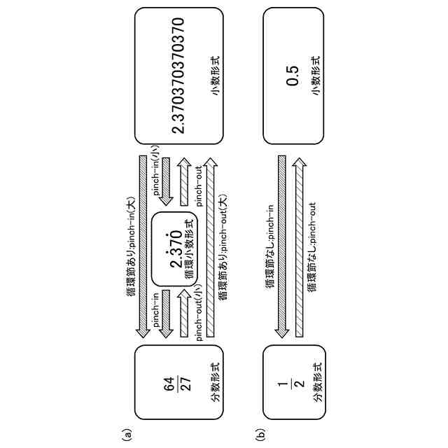
前記数が前記表示部に分数形式で表示されている場合で、かつ第1の閾値未満の操作幅のピンチアウト操作が行われた場合に、前記数の表示形式を循環小数形式に変化させ、
前記数が前記表示部に循環小数形式で表示されている場合で、かつピンチイン操作が行われた場合に、前記数の表示形式を分数形式に変化させる、請求項1に記載の表示形式変更方法。
【請求項3】
前記コンピュータは、
前記数が前記表示部に分数形式で表示されている場合で、かつ第2の閾値以上および第1の閾値未満の操作幅のピンチアウト操作が行われた場合に、前記数の表示形式を循環小数形式に変化させ、
前記数が前記表示部に循環小数形式で表示されている場合で、かつ第3の閾値以上の操作幅のピンチイン操作が行われた場合に、前記数の表示形式を分数形式に変化させる、請求項2に記載の表示形式変更方法。
【請求項4】
前記コンピュータは、
前記数が前記表示部に循環小数形式で表示されている場合で、かつピンチアウト操作が行われた場合に、前記数の表示形式を小数形式に変化させ、
前記数が前記表示部に小数形式で表示されている場合で、かつ第4の閾値未満の操作幅のピンチイン操作が行われた場合に、前記数の表示形式を循環小数形式に変化させる、請求項1に記載の表示形式変更方法。
【請求項5】
前記コンピュータは、
前記数が前記表示部に循環小数形式で表示されている場合で、かつ第5の閾値以上の操作幅のピンチアウト操作が行われた場合に、前記数の表示形式を小数形式に変化させ、
前記数が前記表示部に小数形式で表示されている場合で、かつ第6の閾値以上および第4の閾値未満の操作幅のピンチイン操作が行われた場合に、前記数の表示形式を循環小数形式に変化させる、請求項4に記載の表示形式変更方法。
【請求項6】
前記コンピュータは、
前記数が前記表示部に分数形式で表示されている場合で、かつ第1の閾値以上の操作幅のピンチアウト操作が行われた場合に、前記数の表示形式を小数形式に変化させ、
前記数が前記表示部に小数形式で表示されている場合で、かつ第4の閾値以上の操作幅のピンチイン操作が行われた場合に、前記数の表示形式を分数形式に変化させる、請求項1に記載の表示形式変更方法。
【請求項7】
前記コンピュータは、
前記ピンチアウト操作の操作幅の大きさに基づいて、表示する小数形式の小数の桁数を変化させる請求項4乃至6のいずれか一項に記載の表示形式変更方法。
【請求項8】
コンピュータが、
数を表示部に表示させ、
前記表示部に表示された前記数に対してユーザによる所定のジェスチャー操作が行われた場合に、前記ジェスチャー操作の操作幅の大きさと操作方向に基づいて、前記数の表示形式を、少なくとも第1進数、第2進数、第3進数の間で変化させる、表示形式変更方法。
【請求項9】
前記コンピュータは、
前記ジェスチャー操作が行われた場合に、前記ジェスチャー操作の操作幅の大きさと操作方向に基づいて、前記数の表示形式を、第1進数、第2進数、第3進数、および第4進数の間で変化させる、請求項8に記載の表示形式変更方法。
【請求項10】
数を表示部に表示させ、前記表示部に表示された前記数に対してユーザによる所定のジェスチャー操作が行われた場合に、前記ジェスチャー操作の操作幅の大きさと操作方向に基づいて、前記数の表示形式を、分数形式、循環小数形式、小数形式の間で変化させる制御部、
を備える電子機器。
(【請求項11】以降は省略されています)
発明の詳細な説明
【技術分野】
【0001】
本発明は、表示形式変更方法、電子機器及びプログラムに関する。
続きを表示(約 1,300 文字)
【背景技術】
【0002】
従来、電子計算装置において、分数と循環小数を切り替え表示可能なものが知られている。
例えば、特許文献1には、キー入力部のメニューキーの操作に応じて表示されたメニュー画面から分数→循環小数変換モードを選択して分数→循環小数変換モードに設定した後、分数を入力し、実行キーを押下すると、分数を循環小数に変換して表示することが記載されている。
【先行技術文献】
【特許文献】
【0003】
特開2009-110392号公報
【発明の概要】
【発明が解決しようとする課題】
【0004】
しかしながら、特許文献1においては、分数から循環小数に表示形式を変更するために、循環小数変換モードへの設定やキー操作などの一連の手順を実施する必要があり、表示された分数を直感的な操作で素早く循環小数に変換することはできない。
【0005】
また、循環小数を分数形式、循環小数形式(循環節に点、上線、下線、又は括弧等の記号を付して表記する表示形式)、小数形式(通常の小数の表示形式であり、循環節は繰り返し表記する表示形式)の3つの表示形式の間で変更可能な電子計算装置やWebアプリケーションも知られているが、設定画面や設定キーを用いた表示形式の変更操作手順を実施することが必要となり、直感的な操作で素早く表示形式を変更することができない。
【0006】
また、或る数の表示形式を変更するケースとしては、分数形式、循環小数形式、小数形式の間の変更に限られず、例えば、2進数、8進数、10進数、16進数などの進数表示の表示形式の変更なども挙げられるが、いずれにおいても、表示形式の変更を直感的な操作で素早く行うことはできない。
【0007】
本発明は、上記の問題に鑑みてなされたものであり、数の表示形式の変更を直感的な操作で素早く行えるようにすることを目的とする。
【課題を解決するための手段】
【0008】
上記課題を解決するため、本発明の第1の側面による表示形式変更方法は、
コンピュータが、
数を表示部に表示させ、
前記表示部に表示された前記数に対してユーザによる所定のジェスチャー操作が行われた場合に、前記ジェスチャー操作の操作幅の大きさと操作方向に基づいて、前記数の表示形式を、分数形式、循環小数形式、小数形式の間で変化させる。
【0009】
本発明の第2の側面による表示形式変更方法は、
コンピュータが、
数を表示部に表示させ、
前記表示部に表示された前記数に対してユーザによる所定のジェスチャー操作が行われた場合に、前記ジェスチャー操作の操作幅の大きさと操作方向に基づいて、前記数の表示形式を、少なくとも第1進数、第2進数、第3進数の間で変化させる。
【発明の効果】
【0010】
本発明によれば、数の表示形式の変更を直感的な操作で素早く行うことが可能となる。
【図面の簡単な説明】
(【0011】以降は省略されています)
この特許をJ-PlatPat(特許庁公式サイト)で参照する
関連特許
カシオ計算機株式会社
光源装置及び投影装置
22日前
カシオ計算機株式会社
プログラム及びデータ処理方法
6日前
カシオ計算機株式会社
イヤホンデバイス、電子システム
13日前
カシオ計算機株式会社
電子機器、入力制御方法、及びプログラム
24日前
カシオ計算機株式会社
情報処理装置、情報処理方法、及びプログラム
16日前
カシオ計算機株式会社
ウェアラブル機器、装着判定方法及びプログラム
16日前
カシオ計算機株式会社
時計
13日前
カシオ計算機株式会社
電子鍵盤楽器
15日前
カシオ計算機株式会社
売上データ処理システム、売上データ処理方法、及びプログラム
21日前
カシオ計算機株式会社
バンド駒の製造方法
13日前
カシオ計算機株式会社
カバー付き電子機器
27日前
カシオ計算機株式会社
電子楽器、方法およびプログラム
6日前
カシオ計算機株式会社
ロボット、制御方法及びプログラム
6日前
カシオ計算機株式会社
ロボット、制御方法及びプログラム
6日前
カシオ計算機株式会社
表示形式変更方法、電子機器及びプログラム
今日
カシオ計算機株式会社
情報処理装置、情報制御方法、及び、プログラム
23日前
個人
詐欺保険
1か月前
個人
縁伊達ポイン
1か月前
個人
RFタグシート
24日前
個人
5掛けポイント
13日前
個人
職業自動販売機
6日前
個人
QRコードの彩色
1か月前
個人
地球保全システム
1か月前
個人
ペルソナ認証方式
21日前
個人
情報処理装置
16日前
個人
自動調理装置
23日前
個人
農作物用途分配システム
1か月前
個人
表変換編集支援システム
2か月前
個人
残土処理システム
1か月前
個人
タッチパネル操作指代替具
1か月前
個人
サービス情報提供システム
8日前
個人
知的財産出願支援システム
1か月前
個人
インターネットの利用構造
20日前
個人
パスワード管理支援システム
2か月前
個人
スケジュール調整プログラム
29日前
個人
行動時間管理システム
2か月前
続きを見る
他の特許を見る