TOP
|
特許
|
意匠
|
商標
特許ウォッチ
Twitter
他の特許を見る
10個以上の画像は省略されています。
公開番号
2025170124
公報種別
公開特許公報(A)
公開日
2025-11-14
出願番号
2025152462,2023158316
出願日
2025-09-12,2023-09-22
発明の名称
ロボット、制御方法及びプログラム
出願人
カシオ計算機株式会社
代理人
個人
主分類
A63H
11/00 20060101AFI20251107BHJP(スポーツ;ゲーム;娯楽)
要約
【課題】仕草を覚えていく過程を表現することが可能な電子機器、電子機器の制御方法及びプログラムを提供する。
【解決手段】ロボット200は、自機に所定の仕草を実行させる制御部110を備える。制御部110は、自機に仕草を実行させる場合、自機に仕草を正確に実行させる第1制御と、自機に仕草を不正確に実行させる又は前記自機に前記仕草を実行させない第2制御と、のどちらかを行うとともに、自機による前記仕草の実行回数と、自機の疑似的な生誕からの経過時間と、自機の状態と、のうちの少なくとも何れか1つに基づいて仕草に対する自機の習熟度を導出する。制御部110は、仕草を自機に実行させる場合に第1制御を行う頻度を、仕草に対する自機の習熟度に応じて変化させる。
【選択図】図3
特許請求の範囲
【請求項1】
自機に所定の仕草を実行させる制御手段、を備え、
前記制御手段は、
前記自機に前記仕草を実行させる場合、前記自機に前記仕草を正確に実行させる第1制御と、前記自機に前記仕草を不正確に実行させる又は前記自機に前記仕草を実行させない第2制御と、のどちらかを行うとともに、前記自機による前記仕草の実行回数と、前記自機の疑似的な生誕からの経過時間と、前記自機の状態と、のうち少なくとも何れか1つに基づいて前記仕草に対する前記自機の習熟度を導出し、
前記仕草を前記自機に実行させる場合に前記第1制御を行う頻度を、前記習熟度に応じて変化させる、
ことを特徴とする電子機器。
続きを表示(約 1,600 文字)
【請求項2】
外部刺激を検出する検出手段、を更に備え、
前記制御手段は、前記第1制御を実行中に前記自機の状態として前記検出手段が前記外部刺激を検出した場合、又は、前記第1制御を実行してから所定の時間以内に前記自機の状態として前記検出手段が前記外部刺激を検出した場合、前記外部刺激に基づいて前記習熟度を導出する、
ことを特徴とする請求項1に記載の電子機器。
【請求項3】
前記制御手段は、前記自機の状態として前記検出手段が前記外部刺激としてユーザの肯定的な応答を検出した場合には、前記検出手段が前記外部刺激として前記ユーザの否定的な応答を検出した場合と比較して、前記習熟度の増加量を大きくさせる、
ことを特徴とする請求項2に記載の電子機器。
【請求項4】
前記制御手段は、前記自機の疑似的な生誕からの経過時間に応じて前記習熟度を増加させる、
ことを特徴とする請求項1から3のいずれか1項に記載の電子機器。
【請求項5】
前記制御手段は、前記自機による前記仕草の実行回数が多くなるほど前記習熟度を増加させる、
ことを特徴とする請求項1から3のいずれか1項に記載の電子機器。
【請求項6】
前記制御手段は、前記自機に前記仕草を実行させた際における前記自機の状態に基づいて前記習熟度の増加量を変化させる、
ことを特徴とする請求項1から3のいずれか1項に記載の電子機器。
【請求項7】
前記自機の状態は、前記自機の疑似的な感情を示す感情パラメータと、前記自機の疑似的な性格を表す性格パラメータと、前記自機の電池残量と、前記自機の現在位置と、現在時刻と、のうちの少なくとも1つにより表される、
ことを特徴とする請求項6に記載の電子機器。
【請求項8】
前記制御手段は、ユーザにより作成された仕草情報を取得し、取得した前記仕草情報において定められる前記仕草を前記自機に実行させる、
ことを特徴とする請求項1から3のいずれか1項に記載の電子機器。
【請求項9】
電子機器の制御方法であって、
前記電子機器に所定の仕草を実行させる制御ステップ、を含み、
前記制御ステップでは、
前記電子機器に前記仕草を実行させる場合、前記電子機器に前記仕草を正確に実行させる第1制御と、前記電子機器に前記仕草を不正確に実行させる又は前記電子機器に前記仕草を実行させない第2制御と、のどちらかを行うとともに、前記自機による前記仕草の実行回数と、前記自機の疑似的な生誕からの経過時間と、前記自機の状態と、のうちの少なくとも何れか1つに基づいて前記仕草に対する前記自機の習熟度を導出し、
前記仕草を前記電子機器に実行させる場合に前記第1制御を行う頻度を、前記習熟度に応じて変化させる、
ことを特徴とする電子機器の制御方法。
【請求項10】
電子機器のコンピュータを、
前記電子機器に所定の仕草を実行させる制御手段、として機能させ、
前記制御手段は、
前記電子機器に前記仕草を実行させる場合、前記電子機器に前記仕草を正確に実行させる第1制御と、前記電子機器に前記仕草を不正確に実行させる又は前記電子機器に前記仕草を実行させない第2制御と、のどちらかを行うとともに、前記自機による前記仕草の実行回数と、前記自機の疑似的な生誕からの経過時間と、前記自機の状態と、のうちの少なくとも何れか1つに基づいて前記仕草に対する前記自機の習熟度を導出し、
前記仕草を前記電子機器に実行させる場合に前記第1制御を行う頻度を、前記習熟度に応じて変化させる、
ように機能させるためのプログラム。
発明の詳細な説明
【技術分野】
【0001】
本発明は、電子機器、電子機器の制御方法及びプログラムに関する。
続きを表示(約 1,500 文字)
【背景技術】
【0002】
ペットや人間等のような生き物を模擬する電子機器が知られている。例えば、特許文献1は、特定入力が与えられたときに当該特定入力と対応付けられた特定動作を発現するロボット装置を開示している。
【先行技術文献】
【特許文献】
【0003】
特開2003-159681号公報
【発明の概要】
【発明が解決しようとする課題】
【0004】
上記のような生き物を模擬する電子機器において、生き物をよりリアルに模擬するため、仕草を覚えていく過程を表現したい、との要望がある。
【0005】
本発明は、以上のような課題を解決するためのものであり、仕草を覚えていく過程を表現することが可能な電子機器、電子機器の制御方法及びプログラムを提供することを目的とする。
【課題を解決するための手段】
【0006】
上記目的を達成するため、本発明に係る電子機器の一態様は、
自機に所定の仕草を実行させる制御手段、を備え、
前記制御手段は、
前記自機に前記仕草を実行させる場合、前記自機に前記仕草を正確に実行させる第1制御と、前記自機に前記仕草を不正確に実行させる又は前記自機に前記仕草を実行させない第2制御と、のどちらかを行うとともに、前記自機による前記仕草の実行回数と、前記自機の疑似的な生誕からの経過時間と、前記自機の状態と、のうちの少なくとも何れか1つに基づいて前記仕草に対する前記自機の習熟度を導出し、
前記仕草を前記自機に実行させる場合に前記第1制御を行う頻度を、前記習熟度に応じて変化させる。
【発明の効果】
【0007】
本発明によれば、仕草を覚えていく過程を表現することが可能な電子機器、電子機器の制御方法及びプログラムを提供することができる。
【図面の簡単な説明】
【0008】
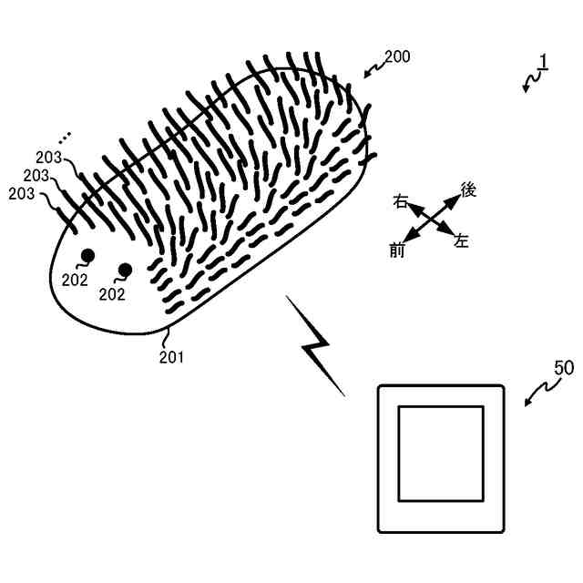
実施形態1に係るロボットシステムの全体構成の概略を示す図である。
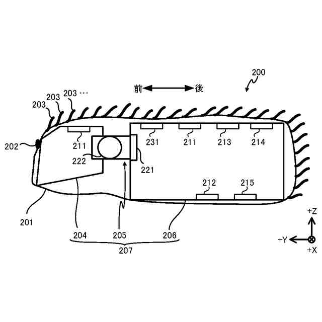
実施形態1に係るロボットを側面から見た断面図である。
実施形態1に係るロボットの構成を示すブロック図である。
実施形態1に係る端末装置の構成を示すブロック図である。
実施形態1に係る仕草情報の作成画面の例を示す図である。
実施形態1に係る仕草情報の例を示す図である。
実施形態1に係る感情マップの例を示す図である。
実施形態1に係る性格値レーダーチャートの例を示す図である。
実施形態1に係る係数テーブルの例を示す第1の図である。
実施形態1に係る係数テーブルの例を示す第2の図である。
実施形態1に係る習熟度テーブルの例を示す第1の図である。
実施形態1に係る習熟度テーブルの例を示す第2の図である。
実施形態1に係るロボット制御処理の流れを示すフローチャートである。
実施形態1に係る仕草制御処理の流れを示すフローチャートである。
【発明を実施するための形態】
【0009】
以下、本発明の実施形態について、図面を参照して説明する。なお、図中同一又は相当する部分には同一符号を付す。
【0010】
(実施形態1)
図1に、実施形態1に係るロボットシステム1の構成を概略的に示す。ロボットシステム1は、ロボット200と、端末装置50と、を備える。ロボット200は、実施形態1に係る電子機器の一例である。
(【0011】以降は省略されています)
この特許をJ-PlatPat(特許庁公式サイト)で参照する
関連特許
カシオ計算機株式会社
印刷装置
26日前
カシオ計算機株式会社
電子装置
1か月前
カシオ計算機株式会社
光源装置及び投影装置
21日前
カシオ計算機株式会社
調整装置、方法及びプログラム
1か月前
カシオ計算機株式会社
プログラム及びデータ処理方法
5日前
カシオ計算機株式会社
イヤホンデバイス、電子システム
12日前
カシオ計算機株式会社
検索装置、検索方法、及び、プログラム
26日前
カシオ計算機株式会社
電子機器、通知制御方法及びプログラム
1か月前
カシオ計算機株式会社
電子機器、入力制御方法、及びプログラム
23日前
カシオ計算機株式会社
印刷装置、ラベル作成方法及びプログラム
26日前
カシオ計算機株式会社
情報処理装置、情報処理方法、及びプログラム
15日前
カシオ計算機株式会社
ウェアラブル機器、装着判定方法及びプログラム
15日前
カシオ計算機株式会社
情報処理装置、演奏装置、方法およびプログラム
1か月前
カシオ計算機株式会社
電子機器、電源供給状態表示方法およびプログラム
1か月前
カシオ計算機株式会社
時計
12日前
カシオ計算機株式会社
電子鍵盤楽器
14日前
カシオ計算機株式会社
売上データ処理システム、売上データ処理方法、及びプログラム
20日前
カシオ計算機株式会社
バンド駒の製造方法
12日前
カシオ計算機株式会社
カバー付き電子機器
26日前
カシオ計算機株式会社
スタンド、鍵盤楽器セット
1か月前
カシオ計算機株式会社
電子楽器、方法およびプログラム
5日前
カシオ計算機株式会社
ロボット、制御方法及びプログラム
5日前
カシオ計算機株式会社
ロボット、制御方法及びプログラム
5日前
カシオ計算機株式会社
情報処理装置、情報制御方法、及び、プログラム
22日前
カシオ計算機株式会社
音量制御装置、電子楽器、音量制御方法及びプログラム
1か月前
個人
玩具
4か月前
個人
玩具
2か月前
個人
自走玩具
2か月前
個人
運動補助具
3か月前
個人
ゲーム玩具
6か月前
個人
小型卓球台
22日前
個人
打撃練習用具
1か月前
個人
パズル
23日前
株式会社三共
遊技機
7か月前
株式会社三共
遊技機
7か月前
株式会社三共
遊技機
7か月前
続きを見る
他の特許を見る