TOP
|
特許
|
意匠
|
商標
特許ウォッチ
Twitter
他の特許を見る
10個以上の画像は省略されています。
公開番号
2025159153
公報種別
公開特許公報(A)
公開日
2025-10-17
出願番号
2025136081,2022134864
出願日
2025-08-19,2022-08-26
発明の名称
音量制御装置、電子楽器、音量制御方法及びプログラム
出願人
カシオ計算機株式会社
代理人
弁理士法人光陽国際特許事務所
主分類
G10H
1/46 20060101AFI20251009BHJP(楽器;音響)
要約
【課題】容易により適切な音量で音響出力することのできる音量制御装置、電子楽器、音量制御方法及びプログラムを提供する。
【解決手段】音量制御装置は、音源情報に基づく音響出力に係る音設定を取得する設定取得部と、音設定に基づいて、取得された音源情報から音響出力信号を生成するDSP(70)と、を備える。音設定は、音量を規定する音量設定と、音設定の音量感に応じた音量の補正量に係る補正設定とを含む。DSP(70)は、音量設定で定められている音量を補正量により補正して音響出力信号を生成する。
【選択図】図3
特許請求の範囲
【請求項1】
音源情報に基づく音響出力に係る音設定を取得する設定取得部と、
前記音設定に基づいて、取得された音源情報から音響出力信号を生成する音処理部と、
前記音設定に基づいて前記音処理部により生成された前記音響出力信号による出力音量を取得する音量取得部と、
を備え、
前記音設定は、音量を規定する音量設定と、当該音設定の音量感に応じた前記音量の補正量であって、前記音量取得部により取得された出力音量により定められる補正量に係る補正設定とを含み、
前記音処理部は、前記音量設定で定められている前記音量を前記補正量により補正して前記音響出力信号を生成する
音量制御装置。
続きを表示(約 1,500 文字)
【請求項2】
前記音処理部により生成された前記音響出力信号は、スピーカにより音響出力されるとともに、当該音響出力がマイクにより収音されて音響入力信号として取得され、
前記音量取得部は、
前記音響入力信号に基づき前記出力音量を取得する、
請求項1記載の音量制御装置。
【請求項3】
ある演奏データを前記音源情報として出力する演奏データ出力部を備え、
前記音量取得部は、
前記演奏データ及び前記音設定に基づいて前記音処理部により生成された前記音響出力信号による出力音量を、前記音量感に係るある特定の特性に基づいて取得し、
さらに、
前記出力音量と前記特定の特性に基づく基準音量との差分がある基準を満たして小さくなるように前記補正量を定めて、前記補正設定として前記音設定に含める補正設定部を備える請求項1記載の音量制御装置。
【請求項4】
前記補正設定部は、前記差分が小さいほど小さい変化量で前記補正量を変化させながら前記音量取得部により前記出力音量を取得させて、前記差分が前記基準を満たす前記補正量を漸近的に特定する
請求項3記載の音量制御装置。
【請求項5】
前記音響出力信号に応じて音響出力を行うことの可能な音響出力部に対して前記音響出力信号を出力させ、集音して音響入力信号に変換する音響入力部が集音して得た前記音響入力信号を当該音響入力部から入力させる接続部と、
を備え、
前記音量取得部は、前記音響入力部が前記音響出力を集音して得た前記音響入力信号の入力音量の計測の結果に基づいて、前記出力音量を取得する
請求項3記載の音量制御装置。
【請求項6】
基準となる前記音設定のうち前記音量設定により規定された音量を当該音量設定において設定可能な最大音量に変更して、前記演奏データに基づく前記音響出力信号を前記接続部から前記音響出力部に出力させ、
前記音響入力部により得られた前記音響出力に係る前記音響入力信号の前記入力音量を前記音量取得部により計測させ、
当該入力音量と自身の最大取得可能音量との差分が基準範囲内に収まるように前記音響入力信号の信号強度を定めることで、前記入力音量を前記出力音量と整合させる
整合設定部を備える請求項5記載の音量制御装置。
【請求項7】
前記補正設定部は、
調整対象の音設定を取得して、前記演奏データに基づく前記音響出力信号を前記接続部から前記音響出力部に出力させ、
前記音響入力部により得られた前記音響出力に係る前記音響入力信号の前記入力音量の前記整合がなされた計測の結果に基づいて、前記音量取得部により前記出力音量を取得させ、
前記出力音量に基づいて、前記調整対象の音設定に係る前記補正量を定める
請求項6記載の音量制御装置。
【請求項8】
前記補正量は、前記音量設定で定められている音量に対して乗じられる係数である請求項1記載の音量制御装置。
【請求項9】
前記ある特定の特性は、LUFSである請求項3記載の音量制御装置。
【請求項10】
前記音量感は、
音響入力部によって入力された音響入力信号がデジタル変換された第1のデジタル信号、音響信号入力端子から入力された音響入力信号がデジタル変換された第2のデジタル信号、前記演奏データ出力部から出力された第3のデジタル信号の少なくともいずれか一つのデジタル信号を前記音量取得部によって計測して得られる聴覚上の音量感である
請求項3記載の音量制御装置。
(【請求項11】以降は省略されています)
発明の詳細な説明
【技術分野】
【0001】
この発明は、音量制御装置、電子楽器、音量制御方法及びプログラムに関する。
続きを表示(約 1,600 文字)
【背景技術】
【0002】
電子楽器では、ユーザの演奏操作に対して多様な音色や音量で音響出力することができる。これらの音色、音量や演奏効果(エフェクト)の設定は、個々にスイッチなどにより操作されるだけでなく、これらの組み合わせを予め設定したパッチなどと呼ばれる音設定を選択して演奏に適用することでも行われる。ユーザは、ライブ会場、演奏曲目や曲内の場面などの組み合わせに係るシーンごとにパッチを切り替えることで、容易に電子楽器の演奏の出力を所望の音色の間で容易かつ速やかに変更することができる。
【0003】
また、電子楽器では、自機の演奏に係る楽音と外部からの音響データ入力、例えば他者の演奏や予め録音されている演奏データなどとを統合して音響出力することもできる。このときに組み合わされる楽音の音量設定などが異なると、一部の音が大きく他の音が効きづらいという場合が生じる。特許文献1の技術では、外部から歌唱者の音声の入力がある場合に、音声データの段階でその入力を検出して実際の音声出力前に相対的に音量などを調整している。
【先行技術文献】
【特許文献】
【0004】
特開2007-298751号公報
【発明の概要】
【発明が解決しようとする課題】
【0005】
しかしながら、同じような音量設定をしていても、音設定に係る種々のパラメータの違いにより、音響出力が聴感上適切な音量に聞こえない場合があるという課題がある。
【0006】
この発明の目的は、容易により適切な音量で音響出力することのできる音量制御装置、電子楽器、音量制御方法及びプログラムを提供することにある。
【課題を解決するための手段】
【0007】
上記目的を達成するため、本発明は、
音源情報に基づく音響出力に係る音設定を取得する設定取得部と、
前記音設定に基づいて、取得された音源情報から音響出力信号を生成する音処理部と、
前記音設定に基づいて前記音処理部により生成された前記音響出力信号による出力音量を取得する音量取得部と、
を備え、
前記音設定は、音量を規定する音量設定と、当該音設定の音量感に応じた前記音量の補正量であって、前記音量取得部により取得された出力音量により定められる補正量に係る補正設定とを含み、
前記音処理部は、前記音量設定で定められている前記音量を前記補正量により補正して前記音響出力信号を生成する
音量制御装置である。
【発明の効果】
【0008】
本発明に従うと、容易により適切な音量で音響出力することができるという効果がある。
【図面の簡単な説明】
【0009】
マルチエフェクタの上面を見た平面図である。
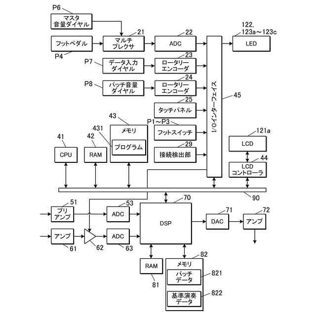
マルチエフェクタの機能構成を示すブロック図である。
DSP及びその周囲での信号の流れについて説明する図である。
パッチのエフェクトに係る設定内容の例を示す図表である。
(a)音量設定値と振幅の関係を示す図、及び(b)ギターアンプにおける入出力の関係の一例を示す図である。
音響出力制御処理の制御手順を示すフローチャートである。
音量補正処理の制御手順を示すフローチャートである。
電子楽器の上面を示す平面図である。
電子楽器の機能構成を示すブロック図である。
電子楽器における信号の流れを説明する図である。
【発明を実施するための形態】
【0010】
以下、本発明の実施の形態を図面に基づいて説明する。
図1は、第1実施形態の音量制御装置を含むマルチエフェクタ1の上面(操作面)を見た平面図である。
(【0011】以降は省略されています)
この特許をJ-PlatPat(特許庁公式サイト)で参照する
関連特許
カシオ計算機株式会社
印刷装置
27日前
カシオ計算機株式会社
電子装置
1か月前
カシオ計算機株式会社
光源装置及び投影装置
22日前
カシオ計算機株式会社
報知システム及び報知方法
1か月前
カシオ計算機株式会社
調整装置、方法及びプログラム
1か月前
カシオ計算機株式会社
プログラム及びデータ処理方法
6日前
カシオ計算機株式会社
イヤホンデバイス、電子システム
13日前
カシオ計算機株式会社
発音装置、発音方法及びプログラム
1か月前
カシオ計算機株式会社
電子機器、通知制御方法及びプログラム
1か月前
カシオ計算機株式会社
検索装置、検索方法、及び、プログラム
27日前
カシオ計算機株式会社
電子機器、入力制御方法、及びプログラム
24日前
カシオ計算機株式会社
印刷装置、ラベル作成方法及びプログラム
27日前
カシオ計算機株式会社
情報処理装置、情報処理方法及びプログラム
1か月前
カシオ計算機株式会社
軌跡生成方法、軌跡生成装置及びプログラム
1か月前
カシオ計算機株式会社
人材管理装置、人材管理方法、及びプログラム
1か月前
カシオ計算機株式会社
情報処理装置、情報処理方法、及びプログラム
16日前
カシオ計算機株式会社
情報処理装置、演奏装置、方法およびプログラム
1か月前
カシオ計算機株式会社
情報処理装置、印刷装置、方法およびプログラム
1か月前
カシオ計算機株式会社
ウェアラブル機器、装着判定方法及びプログラム
16日前
カシオ計算機株式会社
電子機器、電源供給状態表示方法およびプログラム
1か月前
カシオ計算機株式会社
時計
13日前
カシオ計算機株式会社
電子鍵盤楽器
15日前
カシオ計算機株式会社
売上データ処理システム、売上データ処理方法、及びプログラム
21日前
カシオ計算機株式会社
カバー付き電子機器
27日前
カシオ計算機株式会社
バンド駒の製造方法
13日前
カシオ計算機株式会社
スイッチ装置および時計
1か月前
カシオ計算機株式会社
スタンド、鍵盤楽器セット
1か月前
カシオ計算機株式会社
電子楽器、方法およびプログラム
6日前
カシオ計算機株式会社
ロボット、制御方法及びプログラム
6日前
カシオ計算機株式会社
ロボット、制御方法及びプログラム
6日前
カシオ計算機株式会社
情報処理装置、情報制御方法、及び、プログラム
23日前
カシオ計算機株式会社
音量制御装置、電子楽器、音量制御方法及びプログラム
1か月前
個人
遮音材
13日前
個人
歌唱補助器具
22日前
個人
管楽器用リガチャ-
1か月前
横浜ゴム株式会社
音響材
6日前
続きを見る
他の特許を見る