TOP
|
特許
|
意匠
|
商標
特許ウォッチ
Twitter
他の特許を見る
公開番号
2025156593
公報種別
公開特許公報(A)
公開日
2025-10-14
出願番号
2025134263,2023120673
出願日
2025-08-12,2023-07-25
発明の名称
スイッチ装置および時計
出願人
カシオ計算機株式会社
代理人
個人
,
個人
主分類
G04B
43/00 20060101AFI20251002BHJP(時計)
要約
【課題】 衝撃によるロック機構の破損を防ぐことができるスイッチ装置、およびそれを備えた時計を提供する。
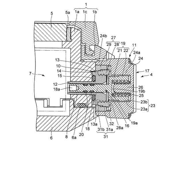
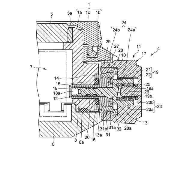
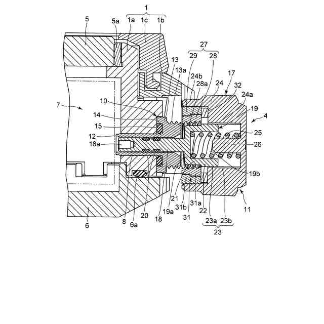
【解決手段】 少なくとも一部が腕時計ケース1の貫通孔8に挿入される筒状部材10と、この筒状部材10の内部から筒状部材10の外部に亘って配置される操作部材11と、この操作部材11を筒状部材10にロックするロック機構27と、を備え、ロック機構27は、操作部材11の回転操作によって筒状部材10にロックされるロック部材28と、このロック部材28とは別部材であって操作部材11の回転操作に応じてロック部材28を回転させる回転伝達部材29と、を備えている。従って、ロック部材28が筒状部材10にロックされた状態で、操作部材11が外部から衝撃を受けた際に、ロック部材28に対して回転伝達部材29を軸方向にスライドさせることができるので、衝撃によるロック機構27の破損を防ぐことができる。
【選択図】 図6
特許請求の範囲
【請求項1】
貫通孔が設けられたケースと、
少なくとも一部が、前記ケースの前記貫通孔に挿入される筒状部材と、
前記筒状部材の内部から前記筒状部材の外部に亘って配置された操作部材と、
前記操作部材を前記筒状部材にロックするロック機構と、
を備え、
前記ロック機構は、前記操作部材の回転操作によって前記筒状部材にロックされるロック部材と、前記ロック部材とは別部材であって前記操作部材の回転操作に応じて前記ロック部材を回転させる回転伝達部材と、を備えている
ことを特徴とするスイッチ装置。
続きを表示(約 970 文字)
【請求項2】
請求項1に記載のスイッチ装置において、
前記筒状部材は、前記ケースの前記貫通孔に挿入される小径筒部と、前記ケースの外部に突出する大径筒部と、を含み、
前記ロック部材は、前記回転伝達部材の内周面側に配置され、前記筒状部材の前記大径筒部にロックされる
ことを特徴とするスイッチ装置。
【請求項3】
請求項2に記載のスイッチ装置において、
前記操作部材は、前記筒状部材内に配置される操作軸部と、前記操作軸部の外部に軸方向にスライド可能に取り付けられて前記筒状部材の前記大径筒部を覆う操作頭部と、を備えている
ことを特徴とするスイッチ装置。
【請求項4】
請求項3に記載のスイッチ装置において、
前記操作部材の前記操作頭部内には、前記回転伝達部材が圧入によって固定されている
ことを特徴とするスイッチ装置。
【請求項5】
請求項1に記載のスイッチ装置において、
前記ロック機構は、前記ロック部材を前記回転伝達部材に対してスライド可能な状態で、前記ロック部材と前記回転伝達部材とを一体的に回転させる空転止め部を備えている
ことを特徴とするスイッチ装置。
【請求項6】
請求項1に記載のスイッチ装置において、
前記ロック機構は、前記ロック部材が前記回転伝達部材から前記ケース側に向けて抜け出すのを防ぐ抜止め部を備えている
ことを特徴とするスイッチ装置。
【請求項7】
請求項3に記載のスイッチ装置において、
前記ロック機構の前記回転伝達部材および前記ロック部材とこれらが軸方向に対向する前記操作部材の前記操作頭部との間には、緩衝部材が設けられている
ことを特徴とするスイッチ装置。
【請求項8】
請求項2に記載のスイッチ装置において、
前記筒状部材の前記大径筒部の外周には、雄ねじが形成され、
前記ロック部材には、前記筒状部材の前記雄ねじ部に螺合する雌ねじ部が形成されている
ことを特徴とするスイッチ装置。
【請求項9】
請求項1に記載されたスイッチ装置を備えていることを特徴とする時計。
発明の詳細な説明
【技術分野】
【0001】
この発明は、腕時計などの電子機器に用いられるスイッチ装置、およびそれを備えた時計に関する。
続きを表示(約 1,200 文字)
【背景技術】
【0002】
例えば、腕時計のスイッチ装置においては、特許文献1に記載されているように、時計ケースの貫通孔に固定パイプを取り付け、この固定パイプに操作部材を回転可能で且つ軸方向にスライド可能に取り付けた構造のものが知られている。
【先行技術文献】
【特許文献】
【0003】
実開昭52-52979号公報
【0004】
この種の腕時計のスイッチ装置は、操作部材が外部から衝撃を受けた際に、操作部材が腕時計ケース内に押し込まれて、腕時計ケース内の時計モジュールを破損するのを防ぐために、操作部材を固定パイプにロックするロック機構を備えている。
【0005】
このようなスイッチ装置のロック機構は、腕時計ケースの外部に突出した固定パイプの外周に設けられた雄ねじ部と、操作部材の外端部に設けられた操作頭部の内面に設けられて固定パイプの雄ねじ部に螺合する雌ねじ部と、を備えている。
【0006】
これにより、ロック機構は、操作部材が腕時計ケースの内部に向けて押し込まれて、操作頭部が固定パイプに押し当てられた状態で、操作頭部を回転させて、操作頭部の雌ねじ部を固定パイプの雄ねじ部に螺合させることにより、操作部材を固定パイプにロックするように構成されている。
【発明の概要】
【発明が解決しようとする課題】
【0007】
しかしながら、このような腕時計のスイッチ装置では、ロック機構によって操作部材が固定パイプにロックされた状態で、操作頭部が外部から衝撃を受けた際に、互いに螺合した状態の固定パイプの雄ねじ部と操作頭部の雌ねじ部とが衝撃によって破損するという問題がある。
【0008】
この発明が解決しようとする課題は、衝撃によるロック機構の破損を防ぐことができるスイッチ装置、およびそれを備えた時計を提供することである。
【課題を解決するための手段】
【0009】
この発明は、貫通孔が設けられたケースと、少なくとも一部が、前記ケースの前記貫通孔に挿入される筒状部材と、前記筒状部材の内部から前記筒状部材の外部に亘って配置された操作部材と、前記操作部材を前記筒状部材にロックするロック機構と、を備え、前記ロック機構は、前記操作部材の回転操作によって前記筒状部材にロックされるロック部材と、前記ロック部材とは別部材であって前記操作部材の回転操作に応じて前記ロック部材を回転させる回転伝達部材と、を備えていることを特徴とするスイッチ装置である。
【発明の効果】
【0010】
この発明によれば、外部からの衝撃によるロック機構の破損を防ぐことができる。
【図面の簡単な説明】
(【0011】以降は省略されています)
この特許をJ-PlatPat(特許庁公式サイト)で参照する
関連特許
カシオ計算機株式会社
電子装置
19日前
カシオ計算機株式会社
印刷装置
11日前
カシオ計算機株式会社
光源装置及び投影装置
6日前
カシオ計算機株式会社
報知システム及び報知方法
21日前
カシオ計算機株式会社
調整装置、方法及びプログラム
19日前
カシオ計算機株式会社
機器、制御方法およびプログラム
28日前
カシオ計算機株式会社
発音装置、発音方法及びプログラム
21日前
カシオ計算機株式会社
情報処理装置、方法およびプログラム
21日前
カシオ計算機株式会社
検索装置、検索方法、及び、プログラム
11日前
カシオ計算機株式会社
電子機器、通知制御方法及びプログラム
20日前
カシオ計算機株式会社
印刷装置、ラベル作成方法及びプログラム
11日前
カシオ計算機株式会社
電子機器、入力制御方法、及びプログラム
8日前
カシオ計算機株式会社
軌跡生成方法、軌跡生成装置及びプログラム
21日前
カシオ計算機株式会社
活動支援方法、プログラム及び活動支援装置
28日前
カシオ計算機株式会社
情報処理方法、プログラム及び情報処理装置
28日前
カシオ計算機株式会社
情報処理装置、情報処理方法及びプログラム
21日前
カシオ計算機株式会社
人材管理装置、人材管理方法、及びプログラム
21日前
カシオ計算機株式会社
情報処理装置、情報処理方法、及びプログラム
今日
カシオ計算機株式会社
情報処理装置、演奏装置、方法およびプログラム
20日前
カシオ計算機株式会社
情報処理装置、印刷装置、方法およびプログラム
21日前
カシオ計算機株式会社
ウェアラブル機器、装着判定方法及びプログラム
今日
カシオ計算機株式会社
電子機器、電源供給状態表示方法およびプログラム
18日前
カシオ計算機株式会社
売上データ処理システム、売上データ処理方法、及びプログラム
5日前
カシオ計算機株式会社
カバー付き電子機器
11日前
カシオ計算機株式会社
スイッチ装置および時計
21日前
カシオ計算機株式会社
スタンド、鍵盤楽器セット
18日前
カシオ計算機株式会社
情報処理装置、情報制御方法、及び、プログラム
7日前
カシオ計算機株式会社
音量制御装置、電子楽器、音量制御方法及びプログラム
18日前
個人
砂時計
1か月前
個人
目覚し時計
3か月前
個人
時刻同期システム
1か月前
セイコーウオッチ株式会社
時計
26日前
個人
自照式の針により認視性を高めたアナログ式時計
3か月前
セイコーエプソン株式会社
電子時計
3か月前
セイコーエプソン株式会社
電子時計
26日前
個人
ワイヤレス給電を使用した針が光るアナログ式時計
今日
続きを見る
他の特許を見る