TOP
|
特許
|
意匠
|
商標
特許ウォッチ
Twitter
他の特許を見る
公開番号
2025155165
公報種別
公開特許公報(A)
公開日
2025-10-14
出願番号
2024058758
出願日
2024-04-01
発明の名称
人材管理装置、人材管理方法、及びプログラム
出願人
カシオ計算機株式会社
代理人
個人
,
個人
主分類
G06Q
10/105 20230101AFI20251006BHJP(計算;計数)
要約
【課題】従業員のスキルレベルをより正確に評価可能とする。
【解決手段】スキル情報抽出部101は、従業員が保有しているスキルに関する時系列情報が記述されたテキストベースの提供情報から、スキルとスキルに関する時系列データとが紐付けられたスキル情報201を抽出する。実用度レベル算出部102は、スキル情報201に含まれるスキルを最後に使用した時点からの経過期間に基づいて、従業員のスキルに対する実用度レベルを算出する。習熟度レベル算出部103は、スキル情報102に含まれるスキルの継続使用期間に基づいて、従業員のスキルに対する習熟度レベルを算出する。統合レベル算出部104は、スキルの実用度及び/又は習熟度に基づいて、従業員のスキルに対する統合レベルを算出する。
【選択図】図1
特許請求の範囲
【請求項1】
従業員が保有しているスキルに関する時系列情報が記述された提供情報から、前記スキルと前記スキルに関する時系列データとが紐付けられたスキル情報を抽出するスキル情報抽出部と、
前記スキル情報に含まれる前記スキルを最後に使用した時点からの経過期間に基づいて前記従業員の前記スキルに対する実用度レベルを導出する実用度レベル導出処理と、前記スキル情報に含まれる前記スキルの継続使用期間に基づいて前記従業員の前記スキルに対する習熟度レベルを導出する習熟度レベル導出処理との少なくとも一方を実行する導出部と、
前記導出部によって導出された前記実用度レベル及び前記習熟度レベルの少なくとも一方に基づいて、前記従業員の前記スキルに対するスキルレベルを導出するスキルレベル導出部と、
を備えることを特徴とする人材管理装置。
続きを表示(約 1,200 文字)
【請求項2】
前記実用度レベル導出処理は、前記経過期間が長いほど前記実用度レベルを低下させるような傾向を示す第1の関係式及び前記経過期間に基づいて前記実用度レベルを導出し、
前記習熟度レベル導出処理は、前記継続使用期間が長いほど前記習熟度レベルを高くするような傾向を示す第2の関係式及び前記継続使用期間に基づいて前記習熟度レベルを導出し、
前記スキルレベル導出部は、前記実用度レベル及び前記習熟度レベルに基づいて前記スキルレベルを導出する、
ことを特徴とする請求項1に記載の人材管理装置。
【請求項3】
前記スキルレベル導出部は、前記スキルレベルを算出するときに、前記実用度レベル及び前記習熟度レベルの少なくとも一方に重みパラメータを乗算する、
ことを特徴とする請求項2に記載の人材管理装置。
【請求項4】
前記スキルレベル導出部は、前記実用度レベルと前記習熟度レベルとを加算することによって前記スキルレベルを算出する、
ことを特徴とする請求項3に記載の人材管理装置。
【請求項5】
情報処理装置の制御部による人材管理方法であって、
従業員が保有しているスキルに関する時系列情報が記述された提供情報から、前記スキルと前記スキルに関する時系列データとが紐付けられたスキル情報を抽出するステップと、
前記スキル情報に含まれる前記スキルを最後に使用した時点からの経過期間に基づいて前記従業員の前記スキルに対する実用度レベルを導出する実用度レベル導出処理と、前記スキル情報に含まれる前記スキルの継続使用期間に基づいて前記従業員の前記スキルに対する習熟度レベルを導出する習熟度レベル導出処理との少なくとも一方を実行するステップと、
前記実用度レベル及び前記習熟度レベルの少なくとも一方に基づいて、前記従業員の前記スキルに対するスキルレベルを導出するステップと、
を含むことを特徴とする人材管理方法。
【請求項6】
制御部を備える機器のコンピュータに、
従業員が保有しているスキルに関する時系列情報が記述された提供情報から、前記スキルと前記スキルに関する時系列データとが紐付けられたスキル情報を抽出するスキル情報抽出機能、
前記スキル情報に含まれる前記スキルを最後に使用した時点からの経過期間に基づいて前記従業員の前記スキルに対する実用度レベルを導出する実用度レベル導出処理と、前記スキル情報に含まれる前記スキルの継続使用期間に基づいて前記従業員の前記スキルに対する習熟度レベルを導出する習熟度レベル導出処理との少なくとも一方を実行する導出機能、
前記実用度レベル及び前記習熟度レベルの少なくとも一方に基づいて、前記従業員の前記スキルに対するスキルレベルを導出するスキルレベル導出機能、
を実現させることを特徴とするプログラム。
発明の詳細な説明
【技術分野】
【0001】
本発明は、人材管理装置、人材管理方法、及びプログラムに関する。
続きを表示(約 2,000 文字)
【背景技術】
【0002】
前回の従業員のスキルの評価(習得)からの経過年数に応じて、現在の従業員のスキルレベルを評価するシステムが提案されている(例えば、特許文献1参照)。
【先行技術文献】
【特許文献】
【0003】
特開2020-35077号公報
【発明の概要】
【発明が解決しようとする課題】
【0004】
上述した評価システムでは、前回にスキルを評価してからの経過時間のみに基づいて現在のスキルレベルを評価するためのパラメータを変更している。このため、スキルを取得した時点からの経過時間を考慮しておらず、また、スキルをどれだけの期間継続して活用しているか、すなわちどのくらい深く習得しているかといった習熟度を考慮しておらず、従業員のスキルレベルを正しく評価できないという問題があった。
【0005】
そこで本発明は、従業員のスキルレベルをより正確に評価可能することを目的とする。
【課題を解決するための手段】
【0006】
この発明に係る人材管理装置は、従業員が保有しているスキルに関する時系列情報が記述された提供情報から、前記スキルと前記スキルに関する時系列データとが紐付けられたスキル情報を抽出するスキル情報抽出部と、前記スキル情報に含まれる前記スキルを最後に使用した時点からの経過期間に基づいて前記従業員の前記スキルに対する実用度レベルを導出する実用度レベル導出処理と、前記スキル情報に含まれる前記スキルの継続使用期間に基づいて前記従業員の前記スキルに対する習熟度レベルを導出する習熟度レベル導出処理との少なくとも一方を実行する導出部と、前記導出部によって導出された前記実用度レベル及び前記習熟度レベルの少なくとも一方に基づいて、前記従業員の前記スキルに対するスキルレベルを導出するスキルレベル導出部と、を備えることを特徴とする。
【0007】
この発明に係る人材管理方法は、情報処理装置の制御部による人材管理方法であって、
従業員が保有しているスキルに関する時系列情報が記述された提供情報から、前記スキルと前記スキルに関する時系列データとが紐付けられたスキル情報を抽出するステップと、前記スキル情報に含まれる前記スキルを最後に使用した時点からの経過期間に基づいて前記従業員の前記スキルに対する実用度レベルを導出する実用度レベル導出処理と、前記スキル情報に含まれる前記スキルの継続使用期間に基づいて前記従業員の前記スキルに対する習熟度レベルを導出する習熟度レベル導出処理との少なくとも一方を実行するステップと、前記実用度レベル及び前記習熟度レベルの少なくとも一方に基づいて、前記従業員の前記スキルに対するスキルレベルを導出するステップと、を含むことを特徴とする。
【0008】
この発明に係るプログラムは、制御部を備える機器のコンピュータに、従業員が保有しているスキルに関する時系列情報が記述された提供情報から、前記スキルと前記スキルに関する時系列データとが紐付けられたスキル情報を抽出するスキル情報抽出機能、前記スキル情報に含まれる前記スキルを最後に使用した時点からの経過期間に基づいて前記従業員の前記スキルに対する実用度レベルを導出する実用度レベル導出処理と、前記スキル情報に含まれる前記スキルの継続使用期間に基づいて前記従業員の前記スキルに対する習熟度レベルを導出する習熟度レベル導出処理との少なくとも一方を実行する導出機能、前記実用度レベル及び前記習熟度レベルの少なくとも一方に基づいて、前記従業員の前記スキルに対するスキルレベルを導出するスキルレベル導出機能、を実現させることを特徴とする。
【発明の効果】
【0009】
この発明によれば、従業員のスキルレベルをより正確に評価することができる。
【図面の簡単な説明】
【0010】
本発明の実施形態による人材管理装置の構成を示すブロック図である。
本実施形態による人材管理装置で算出する実用度レベルと習熟度レベルを説明するための概念図である。
本実施形態による人材管理装置でのスキル情報の登録処理を説明するためのフローチャートである。
本実施形態による人材管理装置でのスキル情報の登録処理を説明するためのフローチャートである。
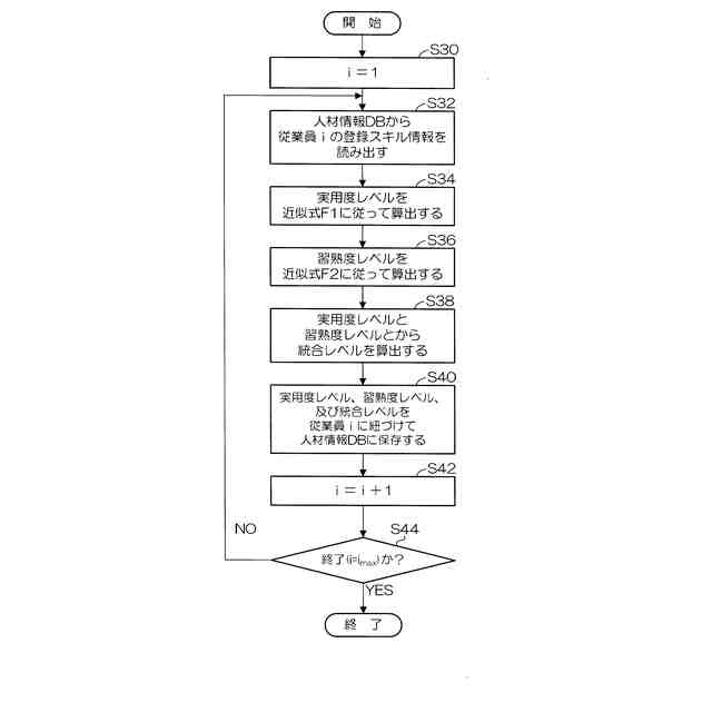
本実施形態による人材管理装置でのスキルレベル算出処理を説明するためのフローチャートである。
本実施形態による人材管理装置での実用度レベルと習熟度レベルの算出方法を説明するための概念図である。
本実施形態による人材管理装置での実用度レベルと習熟度レベルを算出するための演算式の更新を説明するための概念図である。
【発明を実施するための形態】
(【0011】以降は省略されています)
この特許をJ-PlatPat(特許庁公式サイト)で参照する
関連特許
他の特許を見る