TOP
|
特許
|
意匠
|
商標
特許ウォッチ
Twitter
他の特許を見る
公開番号
2025172890
公報種別
公開特許公報(A)
公開日
2025-11-26
出願番号
2025144919,2024094318
出願日
2025-09-01,2022-03-04
発明の名称
プログラム、サーバ及びウェブアプリケーションの認証情報生成方法
出願人
カシオ計算機株式会社
代理人
弁理士法人鈴榮特許綜合事務所
主分類
G06F
21/44 20130101AFI20251118BHJP(計算;計数)
要約
【課題】ウェブアプリケーションの不正利用を防止できるウェブアプリケーションサーバ、ウェブアプリケーションプログラム及びウェブアプリケーション提供方法を提供すること。
【解決手段】ウェブアプリケーションサーバは、通信部と、プロセッサとを備え、プロセッサは、クライアントからの要求に応じて、低級言語で記述されたウェブアプリケーションプログラムに認証情報を付与し、認証情報が付与されたウェブアプリケーションプログラムをクライアントに送信し、ウェブアプリケーションプログラムの起動時のウェブアプリケーションプログラムからの要求に従ったクライアントからの認証情報の検証要求を受けて、認証情報の検証の結果をクライアントに返信する。
【選択図】図1
特許請求の範囲
【請求項1】
クライアントに対してウェブアプリケーションを提供するサーバのコンピュータを、
所定のスクリプト言語で記述された第1プログラムと、所定のアセンブリ言語または機械語の少なくとも何れかで記述された第2プログラムと、を含む前記ウェブアプリケーションを実行するクライアントより、前記ウェブアプリケーションを実行するに際し前記第2プログラムの送信要求を受け付ける手段、
受け付けられた前記第2プログラムの送信要求に応じて、前記クライアントにおける前記第2プログラムの起動の可否を判断するための第1の認証情報及び前記第2プログラムの起動が許可されている時刻である起動制限時刻を生成する手段、
生成された第1の認証情報及び前記起動制限時刻を前記第2プログラムに付与する手段、
前記第1の認証情報及び前記起動制限時刻が付与された前記第2プログラムを前記クライアントに送信する手段、
として機能させることを特徴とするプログラム。
続きを表示(約 1,400 文字)
【請求項2】
更に、前記コンピュータを、
前記クライアントからの現在時刻の取得要求を受けたか否かを判定し、
前記取得要求を受けたと判定した場合、現在時刻を取得し、前記取得した現在時刻を前記クライアントに送信する手段、
として機能させることを特徴とする請求項1に記載のプログラム。
【請求項3】
更に、前記第1の認証情報は、生成されてから所定の時間の経過後に無効になることを特徴とする請求項1に記載のプログラム。
【請求項4】
前記第2プログラムは、既知セクションおよびカスタムセクションを含むWebAssemblyとして記述されており、
前記生成された第1の認証情報を前記第2プログラムに付与する手段は、生成された前記第1の認証情報を前記第2プログラムのカスタムセクションに付与する手段を含むことを特徴とする請求項1に記載のプログラム。
【請求項5】
前記第2プログラムとは、前記所定のウェブアプリケーションを実行するウェブブラウザ上でユーザの操作により指定された各種の演算を実行する演算プログラムであることを特徴とする請求項1に記載のプログラム。
【請求項6】
クライアントに対してウェブアプリケーションを提供するサーバであって、
所定のスクリプト言語で記述された第1プログラムと、所定のアセンブリ言語または機械語の少なくとも何れかで記述された第2プログラムと、を含む前記ウェブアプリケーションを実行するクライアントより、前記ウェブアプリケーションを実行するに際し前記第2プログラムの送信要求を受け付け、
受け付けられた前記第2プログラムの送信要求に応じて、前記クライアントにおける前記第2プログラムの起動の可否を判断するための第1の認証情報及び前記第2プログラムの起動が許可されている時刻である起動制限時刻を生成し、
生成された第1の認証情報及び前記起動制限時刻を前記第2プログラムに付与し、
前記第1の認証情報及び前記起動制限時刻が付与された前記第2プログラムを前記クライアントに送信する、
制御部を備えたことを特徴とするサーバ。
【請求項7】
クライアントにウェブアプリケーションを送信するサーバが実行するウェブアプリケーションの認証情報生成方法であって、
所定のスクリプト言語で記述された第1プログラムと、所定のアセンブリ言語または機械語の少なくとも何れかで記述された第2プログラムと、を含む前記ウェブアプリケーションを実行するクライアントより、前記ウェブアプリケーションを実行するに際し前記第2プログラムの送信要求を受け付けるステップと、
受け付けられた前記第2プログラムの送信要求に応じて、前記クライアントにおける前記第2プログラムの起動の可否を判断するための第1の認証情報及び前記第2プログラムの起動が許可されている時刻である起動制限時刻を生成するステップと、
生成された第1の認証情報及び前記起動制限時刻を前記第2プログラムに付与するステップと、
前記第1の認証情報が付与された前記第2プログラム及び前記起動制限時刻を前記クライアントに送信するステップと、
を含むことを特徴とするウェブアプリケーションの認証情報生成方法。
発明の詳細な説明
【技術分野】
【0001】
本発明は、プログラム、サーバ及びウェブアプリケーションの認証情報生成方法に関する。
続きを表示(約 1,800 文字)
【背景技術】
【0002】
近年、オンライン授業が導入されつつある。このようなオンライン授業において授業のための各種の機能をウェブブラウザ上で提供するウェブアプリケーションが用いられることがある。ウェブアプリケーションは、通常、ネットワーク上のウェブアプリケーションサーバに格納されており、必要に応じてウェブアプリケーションサーバから端末にダウンロードされ、端末のウェブブラウザ上で実行される。近年のウェブアプリケーションには、プログラムコードが機械語又は機械語に近い言語である低級言語を用いて記述されているものもある。
【先行技術文献】
【特許文献】
【0003】
特開2003-223329号公報
【発明の概要】
【発明が解決しようとする課題】
【0004】
ウェブアプリケーションは公開されているため、第3者によってウェブアプリケーションのプログラムコードが取得され、取得されたプログラムコードが第3者の環境で不正に利用される可能性がある。
【0005】
本発明は、ウェブアプリケーションの不正利用を防止できるプログラム、サーバ及びウェブアプリケーションの認証情報生成方法を提供することを目的とする。
【課題を解決するための手段】
【0006】
本発明の第1の態様のプログラムは、クライアントに対してウェブアプリケーションを提供するサーバのコンピュータを、所定のスクリプト言語で記述された第1プログラムと、所定のアセンブリ言語または機械語の少なくとも何れかで記述された第2プログラムと、を含む前記ウェブアプリケーションを実行するクライアントより、前記ウェブアプリケーションを実行するに際し前記第2プログラムの送信要求を受け付ける手段、受け付けられた前記第2プログラムの送信要求に応じて、前記クライアントにおける前記第2プログラムの起動の可否を判断するための第1の認証情報及び前記第2プログラムの起動が許可されている時刻である起動制限時刻を生成する手段、生成された第1の認証情報及び前記起動制限時刻を前記第2プログラムに付与する手段、前記第1の認証情報及び前記起動制限時刻が付与された前記第2プログラムを前記クライアントに送信する手段、として機能させることを特徴とする。
【発明の効果】
【0007】
本発明によれば、ウェブアプリケーションの不正利用を防止できるプログラム、サーバ及びウェブアプリケーションの認証情報生成方法を提供することができる。
【図面の簡単な説明】
【0008】
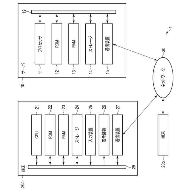
図1は、本発明の一実施形態に係るシステムの構成の一例を示す図である。
図2は、端末のウェブブラウザ上で動作するウェブアプリケーションによる画面表示の一例を示す図である。
図3は、ウェブアプリケーションの処理の流れを示すフローチャートである。
図4は、ウェブアプリケーションから演算プログラムが要求される際のサーバの処理の流れを示すフローチャートである。
図5Aは、ストレージに格納されている演算プログラムのデータ構造の一例を示す図である。
図5Bは、端末に送信される演算プログラムの一例を示す図である。
図6は、端末における演算プログラムの起動時の処理の流れを示すフローチャートである。
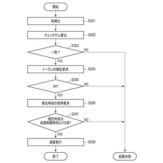
図7は、演算プログラムのダウンロードが完了した後のサーバの処理の流れを示すフローチャートである。
【発明を実施するための形態】
【0009】
本発明の一実施形態について図面を参照して説明する。図1は、本発明の一実施形態に係るシステム1の構成の一例を示す図である。システム1は、サーバ10と、端末20a、20bとを含むサーバ-クライアントシステムである。サーバ10と端末20a、20bとは、ネットワーク30を介して通信可能に接続される。ネットワーク30は、例えばインターネットである。端末の台数は2台に限定されない。
【0010】
ウェブアプリケーションサーバとしてのサーバ10は、プロセッサ11と、ROM12と、RAM13と、ストレージ14と、通信装置15とを有する。これらの各々は、システムバス19を介して互いに接続されている。
(【0011】以降は省略されています)
この特許をJ-PlatPat(特許庁公式サイト)で参照する
関連特許
カシオ計算機株式会社
電子装置
1か月前
カシオ計算機株式会社
印刷装置
1か月前
カシオ計算機株式会社
光源装置及び投影装置
1か月前
カシオ計算機株式会社
調整装置、方法及びプログラム
1か月前
カシオ計算機株式会社
プログラム及びデータ処理方法
14日前
カシオ計算機株式会社
イヤホンデバイス、電子システム
21日前
カシオ計算機株式会社
検索装置、検索方法、及び、プログラム
1か月前
カシオ計算機株式会社
印刷装置、ラベル作成方法及びプログラム
1か月前
カシオ計算機株式会社
電子機器、入力制御方法、及びプログラム
1か月前
カシオ計算機株式会社
学習支援装置、学習支援方法及びプログラム
今日
カシオ計算機株式会社
情報処理装置、情報処理方法、及びプログラム
24日前
カシオ計算機株式会社
ウェアラブル機器、装着判定方法及びプログラム
24日前
カシオ計算機株式会社
情報処理装置、演奏装置、方法およびプログラム
1か月前
カシオ計算機株式会社
電子機器、報知方法、プログラム及び報知システム
今日
カシオ計算機株式会社
電子機器、電源供給状態表示方法およびプログラム
1か月前
カシオ計算機株式会社
時計
21日前
カシオ計算機株式会社
電子鍵盤楽器
23日前
カシオ計算機株式会社
売上データ処理システム、売上データ処理方法、及びプログラム
29日前
カシオ計算機株式会社
バンド駒の製造方法
21日前
カシオ計算機株式会社
カバー付き電子機器
1か月前
カシオ計算機株式会社
スタンド、鍵盤楽器セット
1か月前
カシオ計算機株式会社
電子楽器、方法およびプログラム
14日前
カシオ計算機株式会社
ロボット、制御方法及びプログラム
14日前
カシオ計算機株式会社
ロボット、制御方法及びプログラム
14日前
カシオ計算機株式会社
表示形式変更方法、電子機器及びプログラム
8日前
カシオ計算機株式会社
情報処理装置、情報制御方法、及び、プログラム
1か月前
カシオ計算機株式会社
音量制御装置、電子楽器、音量制御方法及びプログラム
1か月前
カシオ計算機株式会社
プログラム、サーバ及びウェブアプリケーションの認証情報生成方法
2日前
個人
詐欺保険
1か月前
個人
縁伊達ポイン
1か月前
個人
職業自動販売機
14日前
個人
5掛けポイント
21日前
個人
RFタグシート
1か月前
個人
QRコードの彩色
1か月前
個人
ペルソナ認証方式
29日前
個人
地球保全システム
1か月前
続きを見る
他の特許を見る