TOP
|
特許
|
意匠
|
商標
特許ウォッチ
Twitter
他の特許を見る
10個以上の画像は省略されています。
公開番号
2025174418
公報種別
公開特許公報(A)
公開日
2025-11-28
出願番号
2024080787
出願日
2024-05-17
発明の名称
学習支援装置、学習支援方法及びプログラム
出願人
カシオ計算機株式会社
代理人
弁理士法人光陽国際特許事務所
主分類
G09B
7/02 20060101AFI20251120BHJP(教育;暗号方法;表示;広告;シール)
要約
【課題】段階的な解答過程を有する問題に対する解答者の理解度や習熟度が低い箇所を特定できるようにする。
【解決手段】サーバ10(学習支援装置)は、解答者が問題に対して、最終解答に至るまでの数式または化学式を含む段階的な解答過程を有する解答を手書き入力したときの計時情報に基づいて、手書き入力された解答の画像に、解答過程の段階ごとに当該段階を手書き入力するために解答者が要した時間の長さを対応付けて表示させる制御部(CPU11)を備える。
【選択図】図2
特許請求の範囲
【請求項1】
解答者が問題に対して最終解答に至るまでの数式または化学式を含む段階的な解答過程を有する解答を手書き入力したときの計時情報に基づいて、前記手書き入力された解答の画像に、前記解答過程の段階ごとに当該段階を手書き入力するために前記解答者が要した時間の長さを対応付けて表示させる制御部を備える、学習支援装置。
続きを表示(約 1,100 文字)
【請求項2】
前記制御部は、前記解答者が要した時間の長さとして、所定の解答過程の段階の記入終了タイミングから前記所定の解答過程の段階の次の段階の記入開始タイミングまでの時間の長さを表示させる、請求項1に記載の学習支援装置。
【請求項3】
前記制御部は、前記解答者が要した時間の長さとして、所定の解答過程の段階の記入開始タイミングから前記所定の解答過程の段階の記入終了タイミングまでの時間の長さを表示させる、請求項1に記載の学習支援装置。
【請求項4】
第1モード及び第2モードのうちいずれかを選択することを受け付ける受付部を備え、
前記制御部は、
前記受付部により前記第1モードの選択を受け付けた場合、前記解答者が要した時間の長さとして、所定の解答過程の段階の記入終了タイミングから前記所定の解答過程の段階の次の段階の記入開始タイミングまでの時間の長さを表示させ、
前記受付部により前記第2モードの選択を受け付けた場合、前記解答者が要した時間の長さとして、所定の解答過程の段階の記入開始タイミングから前記所定の解答過程の段階の記入終了タイミングまでの時間の長さを表示させる、請求項1に記載の学習支援装置。
【請求項5】
前記制御部は、前記解答における改行ごとに前記解答過程の段階が次の段階に遷移したと判断する、請求項1から4のいずれか一項に記載の学習支援装置。
【請求項6】
前記制御部は、前記解答者が要した時間の長さが前記解答過程の段階に対応させて予め設定されている所定の閾値より長い場合、前記解答過程の段階に対応させて予め設定されているコメントを前記手書き入力された解答の画像に対応付けて表示させる、請求項1から4のいずれか一項に記載の学習支援装置。
【請求項7】
学習支援装置が実行する学習支援方法であって、
解答者が問題に対して最終解答に至るまでの数式または化学式を含む段階的な解答過程を有する解答を手書き入力したときの計時情報に基づいて、前記手書き入力された解答の画像に、前記解答過程の段階ごとに当該段階を手書き入力するために前記解答者が要した時間の長さを対応付けて表示させる制御ステップを含む、学習支援方法。
【請求項8】
学習支援装置のコンピュータを、
解答者が問題に対して最終解答に至るまでの数式または化学式を含む段階的な解答過程を有する解答を手書き入力したときの計時情報に基づいて、前記手書き入力された解答の画像に、前記解答過程の段階ごとに当該段階を手書き入力するために前記解答者が要した時間の長さを対応付けて表示させる制御部として機能させるプログラム。
発明の詳細な説明
【技術分野】
【0001】
本発明は、学習支援装置、学習支援方法及びプログラムに関する。
続きを表示(約 1,500 文字)
【背景技術】
【0002】
従来、学習者の理解度や習熟度を評価するために、筆記テストでの解答欄ごとの解答時間を計測する学習支援装置が開示されている(例えば、特許文献1参照)。
【先行技術文献】
【特許文献】
【0003】
特開2012-198301号公報
【発明の概要】
【発明が解決しようとする課題】
【0004】
しかしながら、最終解答に至るまでの段階的な解答過程を有する問題に対して解答する場合、上記特許文献1に開示されている学習支援装置では解答欄ごとに解答時間を計測するため、解答者が段階的な解答過程において記入するのに時間がかかっている箇所を特定しにくい、つまり、段階的な解答過程における解答者の理解度や習熟度が低い箇所を特定しにくいという問題がある。
【0005】
本発明の目的は、このような問題に鑑みてなされたものであり、段階的な解答過程を有する問題に対する解答者の理解度や習熟度が低い箇所を特定しやすくできる学習支援装置、学習支援方法及びプログラムを提供することである。
【課題を解決するための手段】
【0006】
上記課題を解決するため、本発明に係る学習支援装置は、解答者が問題に対して最終解答に至るまでの数式または化学式を含む段階的な解答過程を有する解答を手書き入力したときの計時情報に基づいて、前記手書き入力された解答の画像に、前記解答過程の段階ごとに当該段階を手書き入力するために前記解答者が要した時間の長さを対応付けて表示させる制御部を備える。
【0007】
本発明に係る学習支援方法は、学習支援装置が実行する学習支援方法であって、解答者が問題に対して最終解答に至るまでの数式または化学式を含む段階的な解答過程を有する解答を手書き入力したときの計時情報に基づいて、前記手書き入力された解答の画像に、前記解答過程の段階ごとに当該段階を手書き入力するために前記解答者が要した時間の長さを対応付けて表示させる制御ステップを含む。
【0008】
本発明に係るプログラムは、学習支援装置のコンピュータを、解答者が問題に対して最終解答に至るまでの数式または化学式を含む段階的な解答過程を有する解答を手書き入力したときの計時情報に基づいて、前記手書き入力された解答の画像に、前記解答過程の段階ごとに当該段階を手書き入力するために前記解答者が要した時間の長さを対応付けて表示させる制御部として機能させる。
【発明の効果】
【0009】
本発明によれば、段階的な解答過程を有する問題に対する解答者の理解度や習熟度が低い箇所を特定しやすくできる。
【図面の簡単な説明】
【0010】
学習支援システムの概略構成図である。
サーバの機能構成を示すブロック図である。
端末装置の機能構成を示すブロック図である。
履歴記録処理の制御手順を示すフローチャートである。
付箋が配置されたノートブック画面の例を示す図である。
付箋が配置されたノートブック画面の例を示す図である。
罫線が設けられている解答欄の例を示す図である。
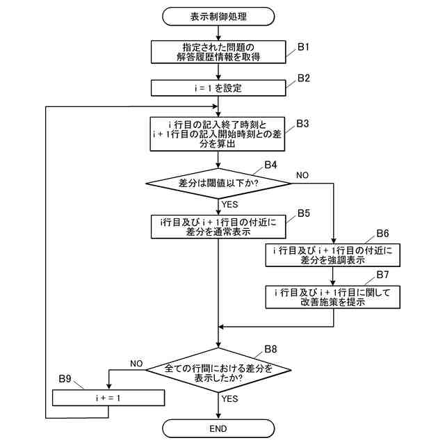
表示制御処理の制御手順を示すフローチャートである。
問題及び当該問題の解答を表示する付箋の例を示す図である。
問題及び当該問題の解答を表示する付箋の例を示す図である。
【発明を実施するための形態】
(【0011】以降は省略されています)
この特許をJ-PlatPat(特許庁公式サイト)で参照する
関連特許
カシオ計算機株式会社
学習支援装置、学習支援方法及びプログラム
今日
カシオ計算機株式会社
電子機器、報知方法、プログラム及び報知システム
今日
カシオ計算機株式会社
電子楽器、方法およびプログラム
14日前
カシオ計算機株式会社
表示形式変更方法、電子機器及びプログラム
8日前
カシオ計算機株式会社
プログラム、サーバ及びウェブアプリケーションの認証情報生成方法
2日前
個人
教育のAI化
21日前
個人
英語教材
1か月前
日本精機株式会社
表示装置
24日前
日本精機株式会社
表示装置
2か月前
個人
計算用教具
2か月前
中国電力株式会社
標示旗
2か月前
個人
インフィニティミラー
22日前
日本精機株式会社
車両用表示装置
1か月前
個人
モデルで薔薇の花嫁様を描く為
2か月前
個人
微細構造を模した理科学習教材
1か月前
日本精機株式会社
車両用センサ装置
2か月前
日榮新化株式会社
対象物質感知シート
21日前
ニチレイマグネット株式会社
サイン器具
1か月前
シャープ株式会社
表示装置
2か月前
株式会社ウメラボ
学習支援システム
1か月前
株式会社ウメラボ
学習支援システム
1か月前
ニチレイマグネット株式会社
磁着式電飾装置
2か月前
日本精機株式会社
表示装置及びその製造方法
24日前
朝日インテック株式会社
ラベルシート
1か月前
株式会社イリオスNOTO
シート保管具
1か月前
朝日インテック株式会社
生体モデル装置
24日前
シャープ株式会社
表示装置
1か月前
株式会社リコー
画像投射システム
2か月前
リンテック株式会社
表示体
1か月前
学校法人関西医科大学
腹腔鏡手術訓練装置
2か月前
シチズンファインデバイス株式会社
液晶表示装置
2か月前
国立大学法人秋田大学
運転シミュレータ
1か月前
ローム株式会社
半導体装置およびシステム
8日前
セイコーエプソン株式会社
表示方法
2か月前
セイコーエプソン株式会社
表示方法
2か月前
リンテック株式会社
粘着ラベル
1か月前
続きを見る
他の特許を見る