TOP
|
特許
|
意匠
|
商標
特許ウォッチ
Twitter
他の特許を見る
公開番号
2025177591
公報種別
公開特許公報(A)
公開日
2025-12-05
出願番号
2024084572
出願日
2024-05-24
発明の名称
カッティング装置、カッティング支援方法、プログラム及びカット品の製造方法
出願人
カシオ計算機株式会社
代理人
弁理士法人光陽国際特許事務所
主分類
B26D
5/00 20060101AFI20251128BHJP(切断手工具;切断;切断機)
要約
【課題】ユーザによる新たなデザインの作成時に参考可能な情報を提供する。
【解決手段】カッティング装置10のMPU11は、給紙検出部21によるマーカ(例えば、第1の位置検出用マーカM1及び第2の位置検出用マーカM2)の検出を、所定のデザインデータ(カットデータ)に基づいたカットの前のタイミングとカットの後のタイミングとに実行させ、且つ、上記マーカが検出できたカット対象Sとカッター刃31(キャリッジ2A)との間の相対位置を上記タイミング間で比較することにより、実際のカット対象Sに対するカッター刃31(キャリッジ2A)の相対移動の結果が上記デザインデータとしての当該相対移動の理想に対して所定の閾値以上乖離しているか否か、又は、実際の上記相対移動の結果と当該相対移動の理想との乖離量を判定する。
【選択図】図7
特許請求の範囲
【請求項1】
所定の被載置材料の上に載置された状態のカット対象に対して所定のカット部材を圧接させながら前記カット対象と前記カット部材との間の相対位置を変化させることにより前記カット部材で前記カット対象をカットすることが可能なカッティング装置であって、
前記カット対象に対して前記カット部材と一体的に相対移動されるように設けられ、前記被載置材料に予め設けられているマーカであって前記カット対象から露出している状態のマーカを検出するための検出手段と、
前記カット対象に対する前記カット部材の前記圧接を解除した状態での前記相対移動に伴わせた前記検出手段による前記マーカの検出を、所定のデザインデータに基づいた前記カットの前のタイミングと前記カットの後のタイミングとに実行させ、且つ、前記マーカが検出できた相対位置を前記タイミング間で比較することにより、実際の前記相対移動の結果が前記デザインデータとしての前記相対移動の理想に対して所定の閾値以上乖離しているか否か、又は、実際の前記相対移動の結果と前記相対移動の理想との乖離量を判定する判定手段と、
を備えることを特徴とするカッティング装置。
続きを表示(約 2,100 文字)
【請求項2】
前記判定手段による判定結果を報知する報知手段を備え、
前記報知手段は、
前記カットが完了した旨の情報とともに前記判定結果を報知する、
ことを特徴とする請求項1に記載のカッティング装置。
【請求項3】
前記報知手段は、
前記判定手段により前記相対移動の結果が前記相対移動の理想に対して所定の閾値以上乖離していると判定された場合、又は、前記判定手段により判定された前記乖離量が所定の閾値以上である場合、当該乖離に関する推定原因を更に報知する、
ことを特徴とする請求項2に記載のカッティング装置。
【請求項4】
前記被載置材料は、前記マーカが複数設けられており、
前記判定手段は、前記複数のマーカのそれぞれを対象として、前記検出手段による前記マーカの検出を、前記カットの前のタイミングと前記カットの後のタイミングとに実行させる、
ことを特徴とする請求項1に記載のカッティング装置。
【請求項5】
前記所定の閾値を変更可能な設定手段を備える、
ことを特徴とする請求項1に記載のカッティング装置。
【請求項6】
所定の被載置材料の上に載置された状態のカット対象に対して所定のカット部材を圧接させながら前記カット対象と前記カット部材との間の相対位置を変化させることにより前記カット部材で前記カット対象をカットすることが可能なカッティング装置が実行するカッティング支援方法であって、
前記カッティング装置は、前記カット対象に対して前記カット部材と一体的に相対移動されるように設けられ、前記被載置材料に予め設けられているマーカであって前記カット対象から露出している状態のマーカを検出するための検出手段を備え、
前記カット対象に対する前記カット部材の前記圧接を解除した状態での前記相対移動に伴わせた前記検出手段による前記マーカの検出を、所定のデザインデータに基づいた前記カットの前のタイミングと前記カットの後のタイミングとに実行させ、且つ、前記マーカが検出できた相対位置を前記タイミング間で比較することにより、実際の前記相対移動の結果が前記デザインデータとしての前記相対移動の理想に対して所定の閾値以上乖離しているか否か、又は、実際の前記相対移動の結果と前記相対移動の理想との乖離量を判定する判定工程を含む、
ことを特徴とするカッティング支援方法。
【請求項7】
所定の被載置材料の上に載置された状態のカット対象に対して所定のカット部材を圧接させながら前記カット対象と前記カット部材との間の相対位置を変化させることにより前記カット部材で前記カット対象をカットすることが可能なカッティング装置であって、前記カット対象に対して前記カット部材と一体的に相対移動されるように設けられ、前記被載置材料に予め設けられているマーカであって前記カット対象から露出している状態のマーカを検出するための検出手段を備えるカッティング装置のコンピュータを、
前記カット対象に対する前記カット部材の前記圧接を解除した状態での前記相対移動に伴わせた前記検出手段による前記マーカの検出を、所定のデザインデータに基づいた前記カットの前のタイミングと前記カットの後のタイミングとに実行させ、且つ、前記マーカが検出できた相対位置を前記タイミング間で比較することにより、実際の前記相対移動の結果が前記デザインデータとしての前記相対移動の理想に対して所定の閾値以上乖離しているか否か、又は、実際の前記相対移動の結果と前記相対移動の理想との乖離量を判定する判定手段、
として機能させることを特徴とするプログラム。
【請求項8】
所定の被載置材料の上に載置された状態のカット対象に対して所定のカット部材を圧接させながら前記カット対象と前記カット部材との間の相対位置を変化させることにより前記カット部材で前記カット対象をカットすることが可能なカッティング装置が実行するカット品の製造方法であって、
前記カッティング装置は、前記カット対象に対して前記カット部材と一体的に相対移動されるように設けられ、前記被載置材料に予め設けられているマーカであって前記カット対象から露出している状態のマーカを検出するための検出手段を備え、
前記カット対象に対する前記カット部材の前記圧接を解除した状態での前記相対移動に伴わせた前記検出手段による前記マーカの検出を、所定のデザインデータに基づいた前記カットの前のタイミングと前記カットの後のタイミングとに実行させ、且つ、前記マーカが検出できた相対位置を前記タイミング間で比較することにより、実際の前記相対移動の結果が前記デザインデータとしての前記相対移動の理想に対して所定の閾値以上乖離しているか否か、又は、実際の前記相対移動の結果と前記相対移動の理想との乖離量を判定する判定工程を含む、
ことを特徴とするカット品の製造方法。
発明の詳細な説明
【技術分野】
【0001】
本発明は、カッティング装置、カッティング支援方法、プログラム及びカット品の製造方法に関する。
続きを表示(約 1,900 文字)
【背景技術】
【0002】
従来、シート状のカット対象に対してカッター刃を搭載したカッティングユニットを左右に往復移動させる動作と当該カット対象を前後に送る動作とを組み合わせて行うことにより、カット対象に所望のカット加工を施すカッティング装置が知られている(下記特許文献1参照)。
【0003】
例えば、特許文献1に開示されているカッティング装置では、大きなサイズの図形をAとBとの2つの図形に分割してカットすることが開示されており、Aの図形をカットした後、Bの図形をカットする際に、シート(カット対象)を平行移動し、十字マークとテーブルの基準線とを一致せしめて位置合わせを行うようになっている。
【先行技術文献】
【特許文献】
【0004】
特開昭63-274534号公報
【発明の概要】
【発明が解決しようとする課題】
【0005】
しかしながら、上記特許文献1に開示されているカッティング装置では、実際にカットが行われた際の結果から当該カットに係るデザインがカット動作に適したデザインになっていたか否かを判定することができない。このため、上記カッティング装置では、ユーザによる新たなデザインの作成時に参考可能な情報を提供することができない。
【0006】
本発明は、このような問題に鑑みてなされたものであり、ユーザによる新たなデザインの作成時に参考可能な情報を提供することを目的とする。
【課題を解決するための手段】
【0007】
上記課題を解決するため、本発明に係るカッティング装置は、所定の被載置材料の上に載置された状態のカット対象に対して所定のカット部材を圧接させながら前記カット対象と前記カット部材との間の相対位置を変化させることにより前記カット部材で前記カット対象をカットすることが可能なカッティング装置であって、前記カット対象に対して前記カット部材と一体的に相対移動されるように設けられ、前記被載置材料に予め設けられているマーカであって前記カット対象から露出している状態のマーカを検出するための検出手段と、前記カット対象に対する前記カット部材の前記圧接を解除した状態での前記相対移動に伴わせた前記検出手段による前記マーカの検出を、所定のデザインデータに基づいた前記カットの前のタイミングと前記カットの後のタイミングとに実行させ、且つ、前記マーカが検出できた相対位置を前記タイミング間で比較することにより、実際の前記相対移動の結果が前記デザインデータとしての前記相対移動の理想に対して所定の閾値以上乖離しているか否か、又は、実際の前記相対移動の結果と前記相対移動の理想との乖離量を判定する判定手段と、を備えることを特徴とする。
【発明の効果】
【0008】
本発明によれば、ユーザによる新たなデザインの作成時に参考可能な情報を提供することができる。
【図面の簡単な説明】
【0009】
本発明の実施の形態のカットシステムを示すブロック図である。
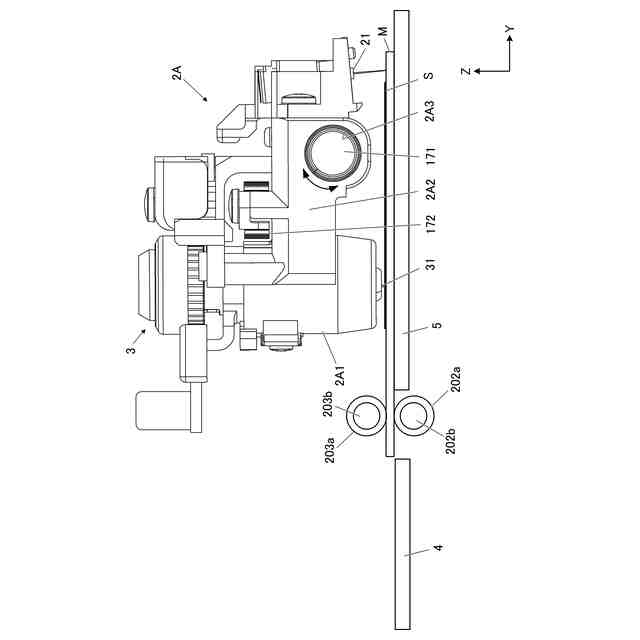
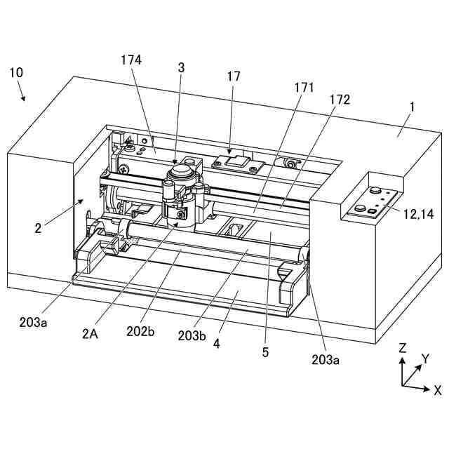
カッティング装置の全体的な構成を示す斜視図である。
カッティング装置に設けられるカッターユニットを保持した状態のキャリッジの側面図である。
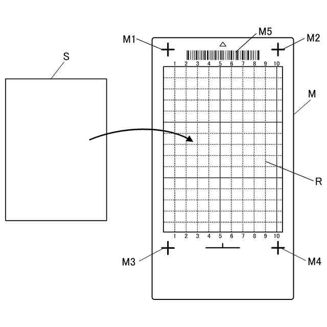
台紙を示す平面図である。
カッティング装置の機能構成を示すブロック図である。
端末装置の機能構成を示すブロック図である。
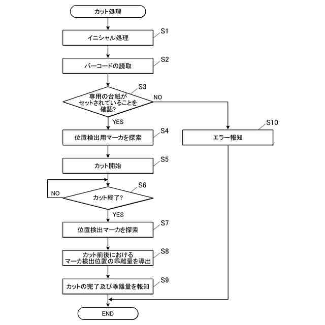
カット処理の制御手順を示す図である。
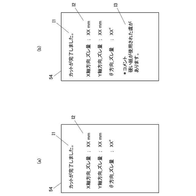
(a)及び(b)は端末装置の表示部におけるカット対象のカットが完了した旨の情報等の表示例を示す図である。
【発明を実施するための形態】
【0010】
以下、本発明の実施の形態を、図面を参照して詳細に説明する。ただし、本発明の範囲は、図示例に限定されるものではない。図1に示すように、本実施の形態のカットシステム100は、カッティング装置10と、端末装置50と、を備えて構成される。カッティング装置10は、載置台5(後述)に載置(セット)された台紙M(図4参照)に貼り付けられた矩形などの平面状のカット対象Sを任意の平面形状にカットする装置である。本実施形態では、カット対象Sとして紙を用いる例を説明するが、これに限定されるものではない。カット対象Sとしては、樹脂などのシート、シール、皮など、カッター刃でカット可能な他の媒体でもよい。
(【0011】以降は省略されています)
この特許をJ-PlatPat(特許庁公式サイト)で参照する
関連特許
カシオ計算機株式会社
印刷装置
1か月前
カシオ計算機株式会社
電子装置
1か月前
カシオ計算機株式会社
情報処理システム
3日前
カシオ計算機株式会社
光源装置及び投影装置
1か月前
カシオ計算機株式会社
イヤーデバイス及びシステム
3日前
カシオ計算機株式会社
プログラム及びデータ処理方法
23日前
カシオ計算機株式会社
調整装置、方法及びプログラム
1か月前
カシオ計算機株式会社
イヤホンデバイス、電子システム
1か月前
カシオ計算機株式会社
検索装置、検索方法、及び、プログラム
1か月前
カシオ計算機株式会社
印刷装置、ラベル作成方法及びプログラム
1か月前
カシオ計算機株式会社
電子機器、入力制御方法、及びプログラム
1か月前
カシオ計算機株式会社
学習支援装置、学習支援方法及びプログラム
9日前
カシオ計算機株式会社
情報処理装置、情報処理方法、及びプログラム
1か月前
カシオ計算機株式会社
ウェアラブル機器、装着判定方法及びプログラム
1か月前
カシオ計算機株式会社
情報処理装置、演奏装置、方法およびプログラム
1か月前
カシオ計算機株式会社
電子機器、電源供給状態表示方法およびプログラム
1か月前
カシオ計算機株式会社
電子機器、報知方法、プログラム及び報知システム
9日前
カシオ計算機株式会社
時計
1か月前
カシオ計算機株式会社
電子鍵盤楽器
1か月前
カシオ計算機株式会社
売上データ処理システム、売上データ処理方法、及びプログラム
1か月前
カシオ計算機株式会社
バンド駒の製造方法
1か月前
カシオ計算機株式会社
カバー付き電子機器
1か月前
カシオ計算機株式会社
スタンド、鍵盤楽器セット
1か月前
カシオ計算機株式会社
カッティング装置、カッティング支援方法、プログラム及びカット品の製造方法
2日前
カシオ計算機株式会社
電子楽器、方法およびプログラム
23日前
カシオ計算機株式会社
ロボット、制御方法及びプログラム
23日前
カシオ計算機株式会社
ロボット、制御方法及びプログラム
23日前
カシオ計算機株式会社
電子時計及びソーラパネルの製造方法
4日前
カシオ計算機株式会社
印刷装置、印刷制御方法及びプログラム
4日前
カシオ計算機株式会社
表示形式変更方法、電子機器及びプログラム
17日前
カシオ計算機株式会社
情報処理装置、情報制御方法、及び、プログラム
1か月前
カシオ計算機株式会社
音量制御装置、電子楽器、音量制御方法及びプログラム
1か月前
カシオ計算機株式会社
プログラム、サーバ及びウェブアプリケーションの認証情報生成方法
11日前
個人
曲線カッター
2か月前
個人
ハサミ
5か月前
個人
円弧状刃の包丁
8か月前
続きを見る
他の特許を見る