TOP
|
特許
|
意匠
|
商標
特許ウォッチ
Twitter
他の特許を見る
公開番号
2025152466
公報種別
公開特許公報(A)
公開日
2025-10-09
出願番号
2024054373
出願日
2024-03-28
発明の名称
電気自動車用充電システム
出願人
株式会社EVモーターズ・ジャパン
代理人
個人
,
個人
,
個人
主分類
H02J
7/00 20060101AFI20251002BHJP(電力の発電,変換,配電)
要約
【課題】インフラ整備が不要で、複雑な制御を必要とせず、無駄な待ち時間を発生させることなく、バッテリー不足の電気自動車に対して確実かつ効率的に充電を行うことができ、低コストで電気自動車の長距離走行を実現する電気自動車用充電システムを提供する。
【解決手段】コンテナ11に、充電用バッテリー12と、充電用バッテリー12の充放電を行うための充放電手段13が内蔵されたバッテリーコンテナ14と、バッテリーコンテナ14を積み下ろし可能に搭載して移動するコンテナ輸送車とを備え、充電済みのバッテリーコンテナ14をコンテナ輸送車でバッテリー切れの電気自動車10の待機位置まで配送して充電用バッテリー12から電気自動車10のバッテリーに充電を行う。
【選択図】図1
特許請求の範囲
【請求項1】
電気自動車のバッテリーを充電するための電気自動車用充電システムであって、
コンテナに、充電用バッテリーと、該充電用バッテリーの充放電を行うための充放電手段が内蔵されたバッテリーコンテナと、該バッテリーコンテナを積み下ろし可能に搭載して移動するコンテナ輸送車とを備え、充電済みの前記バッテリーコンテナを前記コンテナ輸送車でバッテリー切れの前記電気自動車の待機位置まで配送して前記充電用バッテリーから前記電気自動車の前記バッテリーに充電を行うことを特徴とする電気自動車用充電システム。
続きを表示(約 1,100 文字)
【請求項2】
前記電気自動車の走行経路に沿って前記バッテリーコンテナが設置されるコンテナ設置場所を予め設定し、充電済みの前記バッテリーコンテナを前記コンテナ輸送車で前記コンテナ設置場所まで配送し、設置することを特徴とする請求項1に記載の電気自動車用充電システム。
【請求項3】
前記電気自動車の走行スケジュールに対応して、前記コンテナ設置場所に前記電気自動車が到着する前に、充電済みの前記バッテリーコンテナを前記コンテナ輸送車で前記コンテナ設置場所まで配送し、設置することを特徴とする請求項2記載の電気自動車用充電システム。
【請求項4】
先に前記コンテナ設置場所に設置され、充電に使用された使用済みの前記バッテリーコンテナを前記コンテナ輸送車で回収し、前記充電用バッテリーに充電した後、再び前記コンテナ輸送車で前記コンテナ設置場所まで配送することを特徴とする請求項2記載の電気自動車用充電システム。
【請求項5】
充電済みの前記バッテリーコンテナを前記コンテナ輸送車で前記コンテナ設置場所まで配送して設置する際に、先に前記コンテナ設置場所に設置され、充電に使用された使用済みの前記バッテリーコンテナを前記コンテナ輸送車で回収することを特徴とする請求項2記載の電気自動車用充電システム。
【請求項6】
前記コンテナ設置場所に、前記バッテリーコンテナの前記充電用バッテリーに接続可能な地上設置充電手段を備えた充電ステーションが設置されていることを特徴とする請求項2記載の電気自動車用充電システム。
【請求項7】
前記バッテリーコンテナの前記充放電手段は、直流急速充電器及び交流普通充電器を有することを特徴とする請求項1記載の電気自動車用充電システム。
【請求項8】
前記バッテリーコンテナの前記充放電手段は、系統連系インバータ及び給電用コンセントを有することを特徴とする請求項1記載の電気自動車用充電システム。
【請求項9】
前記バッテリーコンテナの前記充放電手段は、パンタグラフ式超急速充電器を有することを特徴とする請求項1記載の電気自動車用充電システム。
【請求項10】
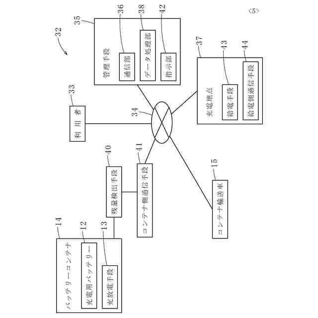
前記電気自動車の利用者から取得した、サービスの対象となる前記電気自動車の個別情報、走行経路及び走行スケジュールを含む利用者データに基づいて、前記コンテナ輸送車による前記バッテリーコンテナの配送及び回収を管理する管理手段を備えたことを特徴とする請求項2記載の電気自動車用充電システム。
(【請求項11】以降は省略されています)
発明の詳細な説明
【技術分野】
【0001】
本発明は、電気自動車のバッテリーを充電するための電気自動車用充電システムに関する。
続きを表示(約 2,600 文字)
【背景技術】
【0002】
近年、電気自動車が実用化され、環境保護の面から利用の拡大が望まれている。この電気自動車のバッテリーは、一般的に系統電力(商用電源)によって充電され、行程の途中で充電を行うことが困難であるため、走行開始前に十分な充電を行う必要がある。しかし、1回の充電で走行可能な距離(航続距離)が短く、高速道路等で渋滞に巻き込まれた場合は、バッテリー切れに陥る可能性があり、長距離走行には向かない。そこで、例えば、特許文献1では、街角等の任意の箇所に設置した充電設備により、電気自動車のバッテリーに充電を行う充電システムが提案されている。また、特許文献2及び特許文献3では、電気自動車の走行経路等に沿って設置したバッテリー交換所において、バッテリー残量が少なくなったバッテリーと、充電済みのバッテリーの交換を行うバッテリー供給(交換)システムが提案されている。さらに、特許文献4では、充電手段を搭載した救護車両により、バッテリー不足に陥った電気自動車のバッテリーに充電して復旧させる電気自動車の管理システムが提案されている。
【先行技術文献】
【特許文献】
【0003】
特開平6-253461号公報
特開2000-353548号公報
特開2014-3803号公報
特開2012-190412号公報
【発明の概要】
【発明が解決しようとする課題】
【0004】
しかしながら、特許文献1の充電システムでは、各充電設備を小型化して設置場所の制約が少なくなるとしても、多くの充電設備を設置する必要があり、全体として広い占有スペースを確保しなければならず、コストがかかるという問題がある。特許文献2及び特許文献3のバッテリー供給(交換)システムにおいても、多くのバッテリー交換所を設置するために広い占有スペースを必要とし、設置場所の制約を受け易くなるだけでなく、各電気自動車にバッテリーが簡素に交換できる構造を採用しなければならず、システムの構築にコストと時間がかかるという問題がある。特に、特許文献2のように、全ての電気自動車のバッテリーの形式(規格)を統一することは困難であり、実現性に欠ける。特許文献3のように、対象となる電気自動車に搭載されているバッテリーの種類や数量等の情報に基づいて、バッテリーの交換が可能なバッテリー交換ステーションを決定し、交換予約を行うシステムでは、バッテリーの種類毎にバッテリー交換ステーションを設置すると、バッテリー交換ステーションの数が著しく増大し、広大な占有スペースが必要となる。また、1箇所のバッテリー交換ステーションで複数種類のバッテリーの交換に対応しようとすると、バッテリーの収容スペースが増大し、在庫管理が煩雑になり、取り違いにも注意を払わなければならず、作業性に欠ける。
【0005】
一方、特許文献4では、充電手段を搭載した救護車両により、バッテリー不足に陥った電気自動車のバッテリーに充電を行うので、特許文献1~特許文献3のような設備の設置スペースは不要であるが、救護対象の電気自動車の状況に応じて、救護車両の配置を適切に管理するには、複雑な制御が必要であり、バッテリー不足に備えて対象の電気自動車に近付くように救護車両を配備したとしても、実際にバッテリー不足に陥った電気自動車の位置まで救護車両を移動させるためには時間がかかるので、電気自動車を停止させたまま救護車両の到着を待たせるか、救護車両が先回りして電気自動車の到着を待たなければならず、無駄な待ち時間が発生する。さらに、救護車両から電気自動車のバッテリーに充電を行っている間、救護車両は停止したままとなり、他の電気自動車の救護に向かうことができず、拘束時間が長くなり、作業効率も悪い。
本発明はかかる事情に鑑みてなされたもので、インフラ整備が不要で、複雑な制御を必要とせず、無駄な待ち時間を発生させることなく、バッテリー不足の電気自動車に対して確実かつ効率的に充電を行うことができ、低コストで電気自動車の長距離走行を実現する電気自動車用充電システムを提供することを目的とする。
【課題を解決するための手段】
【0006】
前記目的に沿う本発明に係る電気自動車用充電システムは、電気自動車のバッテリーを充電するための電気自動車用充電システムであって、
コンテナに、充電用バッテリーと、該充電用バッテリーの充放電を行うための充放電手段が内蔵されたバッテリーコンテナと、該バッテリーコンテナを積み下ろし可能に搭載して移動するコンテナ輸送車とを備え、充電済みの前記バッテリーコンテナを前記コンテナ輸送車でバッテリー切れの前記電気自動車の待機位置まで配送して前記充電用バッテリーから前記電気自動車の前記バッテリーに充電を行う。
【0007】
本発明に係る電気自動車用充電システムにおいて、前記電気自動車の走行経路に沿って前記バッテリーコンテナが設置されるコンテナ設置場所を予め設定し、充電済みの前記バッテリーコンテナを前記コンテナ輸送車で前記コンテナ設置場所まで配送し、設置することが好ましい。
【0008】
本発明に係る電気自動車用充電システムにおいて、前記電気自動車の走行スケジュールに対応して、前記コンテナ設置場所に前記電気自動車が到着する前に、充電済みの前記バッテリーコンテナを前記コンテナ輸送車で前記コンテナ設置場所まで配送し、設置することができる。
【0009】
本発明に係る電気自動車用充電システムにおいて、先に前記コンテナ設置場所に設置され、充電に使用された使用済みの前記バッテリーコンテナを前記コンテナ輸送車で回収し、前記充電用バッテリーに充電した後、再び前記コンテナ輸送車で前記コンテナ設置場所まで配送することができる。
【0010】
本発明に係る電気自動車用充電システムにおいて、充電済みの前記バッテリーコンテナを前記コンテナ輸送車で前記コンテナ設置場所まで配送して設置する際に、先に前記コンテナ設置場所に設置され、充電に使用された使用済みの前記バッテリーコンテナを前記コンテナ輸送車で回収することができる。
(【0011】以降は省略されています)
この特許をJ-PlatPat(特許庁公式サイト)で参照する
関連特許
個人
単極モータ
2日前
株式会社アイシン
ロータ
6日前
株式会社アイシン
ロータ
2日前
株式会社FUJI
制御盤
17日前
西部電機株式会社
充電装置
9日前
西部電機株式会社
充電装置
9日前
日本精機株式会社
サージ保護回路
9日前
トヨタ自動車株式会社
回転子
13日前
トヨタ自動車株式会社
固定子
7日前
個人
連続ガウス加速器形磁力増幅装置
9日前
株式会社デンソー
回転機
今日
ミサワホーム株式会社
居住設備
17日前
トヨタ自動車株式会社
製造装置
7日前
カヤバ株式会社
筒型リニアモータ
8日前
株式会社ダイヘン
充電装置
6日前
株式会社ダイヘン
充電装置
6日前
株式会社ダイヘン
充電装置
6日前
株式会社ダイヘン
充電装置
6日前
個人
太陽エネルギー収集システム
7日前
株式会社ミツバ
ブラシレスモータ
8日前
東京瓦斯株式会社
通信装置
8日前
株式会社アイシン
ステータ
6日前
株式会社アイシン
ステータ
6日前
株式会社アイシン
ステータ
6日前
株式会社アイシン
ステータ
6日前
株式会社kaisei
発電システム
2日前
ユタカ電業株式会社
ケーブルダクト
17日前
トヨタ自動車株式会社
被膜形成装置
7日前
ニチコン株式会社
AC入力検出回路
13日前
日産自動車株式会社
ステータ
14日前
トヨタ自動車株式会社
ロータ
15日前
NTN株式会社
モータユニット
17日前
株式会社ミツバ
回転電機
6日前
株式会社ダイヘン
電力システム
9日前
株式会社ダイヘン
電力変換装置
9日前
株式会社デンソー
電力変換装置
13日前
続きを見る
他の特許を見る