TOP
|
特許
|
意匠
|
商標
特許ウォッチ
Twitter
他の特許を見る
10個以上の画像は省略されています。
公開番号
2025152260
公報種別
公開特許公報(A)
公開日
2025-10-09
出願番号
2024054080
出願日
2024-03-28
発明の名称
発光装置の製造方法及び発光装置
出願人
日亜化学工業株式会社
代理人
弁理士法人iX
主分類
H10H
20/85 20250101AFI20251002BHJP()
要約
【課題】光吸収を低減できる発光装置の製造方法及び発光装置を提供すること。
【解決手段】発光装置の製造方法は、第1面と、第1面の反対側に位置する第2面とを有する基板と、基板の第2面に配置される複数の半導体発光部と、第2面における複数の半導体発光部が配置されていない領域に配置された非発光の半導体部とを有する第1構造体を準備する工程と、第2面を支持部材に対向させ、支持部材上に第1構造体を配置する工程と、第1構造体と支持部材との間に第1樹脂部材を配置する工程と、第1樹脂部材を配置した後、レーザ光を基板の第1面側から複数の半導体発光部及び半導体部に向けて照射することで、複数の半導体発光部及び半導体部から基板を分離する工程と、を備える。
【選択図】図2
特許請求の範囲
【請求項1】
第1面と、前記第1面の反対側に位置する第2面とを有する基板と、
前記基板の前記第2面に配置される複数の半導体発光部と、
前記第2面における前記複数の半導体発光部が配置されていない領域に配置された非発光の半導体部と、
を有する第1構造体を準備する工程と、
前記第2面を支持部材に対向させ、前記支持部材上に前記第1構造体を配置する工程と、
前記第1構造体と前記支持部材との間に、第1樹脂部材を配置する工程と、
前記第1樹脂部材を配置した後、レーザ光を、前記基板の前記第1面側から前記複数の半導体発光部及び前記半導体部に向けて照射することで、前記複数の半導体発光部及び前記半導体部から前記基板を分離する工程と、
を備える発光装置の製造方法。
続きを表示(約 1,300 文字)
【請求項2】
前記第1構造体を準備する工程において、
前記基板の前記第2面における前記複数の半導体発光部が配置されていない領域は、平面視において前記複数の半導体発光部を囲む外周領域と、前記複数の半導体発光部の間の半導体発光部間領域と、を有し、
前記外周領域の幅は、前記半導体発光部間領域の幅よりも大きく、
前記半導体部は、前記外周領域に配置される請求項1に記載の発光装置の製造方法。
【請求項3】
前記第1構造体を準備する工程において、前記半導体部は、さらに前記半導体発光部間領域に配置される請求項2に記載の発光装置の製造方法。
【請求項4】
前記基板を分離した後、前記半導体部の位置で前記半導体部及び前記第1樹脂部材を切断する工程をさらに備える請求項2に記載の発光装置の製造方法。
【請求項5】
前記第1構造体を準備する工程において、前記半導体部の厚さは、前記半導体発光部の厚さよりも薄い請求項4に記載の発光装置の製造方法。
【請求項6】
前記第1構造体を準備する工程において、前記第1構造体は、前記半導体部に配置された金属層を有し、
前記金属層と前記第2面との間に、前記半導体部が位置する請求項1~5のいずれか1つに記載の発光装置の製造方法。
【請求項7】
前記第1樹脂部材を配置する工程は、
前記第1構造体及び前記支持部材を金型に配置する工程と、
前記基板の前記第1面を被覆部材で被覆した状態で樹脂材料を前記金型内に供給する工程と、
前記金型内に供給した前記樹脂材料を硬化させる工程と、
前記樹脂材料を硬化させた後、前記被覆部材を除去する工程と、
を有する請求項1~5のいずれか1つに記載の発光装置の製造方法。
【請求項8】
前記基板を分離した後、前記複数の半導体発光部上に、第2構造体を配置する工程をさらに備え、
前記第2構造体は、複数の透光部材と、前記複数の透光部材の間に配置された第2樹脂部材とを有する請求項1~5のいずれか1つに記載の発光装置の製造方法。
【請求項9】
前記第2構造体を配置する工程は、平面視において1つの前記半導体発光部に、1つの前記透光部材が重なるように、前記複数の透光部材を配置する工程と、
前記複数の透光部材の間に、前記第2樹脂部材を配置する工程と、を備える、請求項8に記載の発光装置の製造方法。
【請求項10】
発光面を有する複数の半導体発光部と、
第1樹脂面を有し、前記第1樹脂面において前記発光面が露出するように前記複数の半導体発光部の間に配置される第1樹脂部材と、
下面と上面を有し、前記下面が前記第1樹脂部材に覆われ、前記上面が前記第1樹脂面において露出する非発光の半導体部と、
を備え、
前記半導体部の前記下面と接する前記第1樹脂部材の光反射率は、前記第1樹脂面の光反射率よりも高い、発光装置。
(【請求項11】以降は省略されています)
発明の詳細な説明
【技術分野】
【0001】
本開示は、発光装置の製造方法及び発光装置に関する。
続きを表示(約 2,700 文字)
【背景技術】
【0002】
発光素子の製造方法において、例えば、特許文献1に示すように、発光素子が設けられたサファイア基板をレーザリフトオフにより剥離することが行われている。
【先行技術文献】
【特許文献】
【0003】
特開2021-163945号公報
【発明の概要】
【発明が解決しようとする課題】
【0004】
本開示は、光吸収を低減できる発光装置の製造方法及び発光装置を提供することを目的とする。
【課題を解決するための手段】
【0005】
本開示の一態様によれば、発光装置の製造方法は、第1面と、前記第1面の反対側に位置する第2面とを有する基板と、前記基板の前記第2面に配置される複数の半導体発光部と、前記第2面における前記複数の半導体発光部が配置されていない領域に配置された非発光の半導体部と、を有する第1構造体を準備する工程と、前記第2面を支持部材に対向させ、前記支持部材上に前記第1構造体を配置する工程と、前記第1構造体と前記支持部材との間に、第1樹脂部材を配置する工程と、前記第1樹脂部材を配置した後、レーザ光を、前記基板の前記第1面側から前記複数の半導体発光部及び前記半導体部に向けて照射することで、前記複数の半導体発光部及び前記半導体部から前記基板を分離する工程と、を備える。
【0006】
本開示の一態様によれば、発光装置は、発光面を有する複数の半導体発光部と、第1樹脂面を有し、前記第1樹脂面において前記発光面が露出するように前記複数の半導体発光部の間に配置される第1樹脂部材と、下面と上面を有し、前記下面が前記第1樹脂部材に覆われ、前記上面が前記第1樹脂面において露出する非発光の半導体部と、を備え、前記半導体部の前記下面と接する前記第1樹脂部材の光反射率は、前記第1樹脂面の光反射率よりも高い。
【発明の効果】
【0007】
本開示によれば、光吸収を低減できる発光装置の製造方法及び発光装置を提供することができる。
【図面の簡単な説明】
【0008】
実施形態に係る発光装置の模式平面図である。
図1のII-II線における模式断面図である。
実施形態に係る発光装置における一部分の拡大断面図である。
実施形態に係る発光装置における一部分の拡大断面図である。
実施形態に係る発光装置の製造方法の一工程を説明するための模式平面図である。
実施形態に係る発光装置の製造方法の一工程を説明するための模式平面図である。
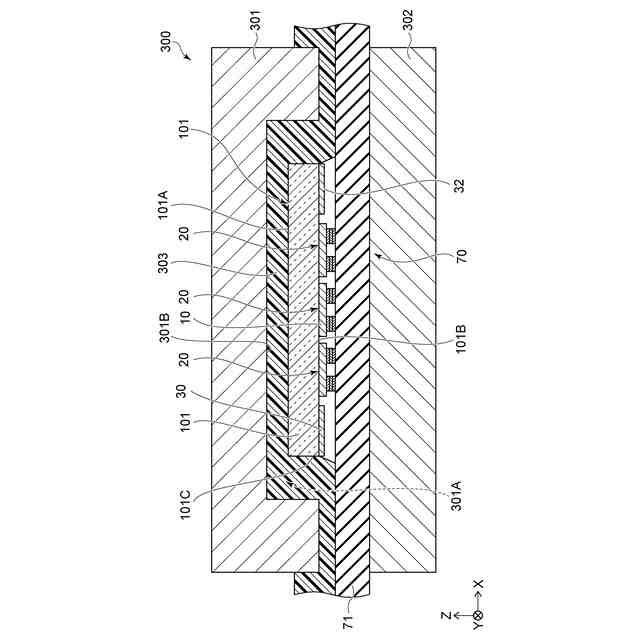
図6のVII-VII線における模式断面図である。
実施形態に係る発光装置の製造方法の一工程を説明するための模式断面図である。
実施形態に係る発光装置の製造方法の一工程を説明するための模式断面図である。
実施形態に係る発光装置の製造方法の一工程を説明するための模式断面図である。
実施形態に係る発光装置の製造方法の一工程を説明するための模式断面図である。
実施形態に係る発光装置の製造方法の一工程を説明するための模式断面図である。
実施形態に係る発光装置の製造方法の一工程を説明するための模式断面図である。
実施形態に係る発光装置の製造方法の一工程を説明するための模式断面図である。
実施形態に係る発光装置の製造方法の一工程を説明するための模式断面図である。
実施形態に係る発光装置の製造方法の一工程を説明するための模式断面図である。
実施形態に係る発光装置の製造方法の一工程を説明するための模式断面図である。
実施形態に係る発光装置の製造方法の一工程を説明するための模式断面図である。
実施形態に係る発光装置の製造方法の一工程を説明するための模式断面図である。
実施形態の変形例による発光装置の製造方法の一工程を説明するための模式断面図である。
実施形態の変形例による発光装置の製造方法の一工程を説明するための模式断面図である。
実施形態の変形例による発光装置の製造方法の一工程を説明するための模式断面図である。
実施形態の変形例による発光装置の模式平面図である。
図23のXXIV-XXIV線における模式断面図である。
図23及び図24に示す発光装置の製造方法の一工程を説明するための模式断面図である。
【発明を実施するための形態】
【0009】
以下、図面を参照し、本開示の実施形態に係る発光装置及び発光装置の製造方法について説明する。以下に示す形態は、本開示の技術思想を具現化するための発光装置及び発光装置の製造方法を例示するものであって、以下に限定するものではない。また、実施形態に記載されている構成部の寸法、材質、形状、その相対的配置等は、特定的な記載がない限り、本開示の範囲をそれのみに限定する趣旨ではなく、単なる説明例にすぎない。なお、各図面が示す部材の大きさ、位置関係等は、説明を明確にするため誇張していることがある。また、以下の説明において、同一の名称、符号については同一もしくは同質の部材を示しており詳細説明を適宜省略する。また、断面図として、切断面のみを示す端面図を示す場合がある。
【0010】
以下の説明において、特定の方向又は位置を示す用語(例えば、「上」、「下」及びそれらの用語を含む別の用語)を用いる場合がある。しかしながら、それらの用語は、参照した図面における相対的な方向又は位置を分かり易さのために用いているに過ぎない。参照した図面における「上」、「下」等の用語による相対的な方向又は位置の関係が同一であれば、本開示以外の図面、実際の製品等において、参照した図面と同一の配置でなくてもよい。本明細書において「上(または下)」と表現する位置関係は、例えば、2つの部材があると仮定した場合に、2つの部材が接している場合と、2つの部材が接しておらず一方の部材が他方の部材の上方(または下方)に位置している場合も含む。また、本明細書において、特定的な記載がない限り、部材が被覆対象を覆うとは、部材が被覆対象に接して被覆対象を直接覆う場合と、部材が被覆対象に非接触で被覆対象を間接的に覆う場合を含む。
(【0011】以降は省略されています)
この特許をJ-PlatPat(特許庁公式サイト)で参照する
関連特許
日亜化学工業株式会社
発光装置
1か月前
日亜化学工業株式会社
発光素子
26日前
日亜化学工業株式会社
発光装置
1か月前
日亜化学工業株式会社
発光装置
1か月前
日亜化学工業株式会社
発光装置
29日前
日亜化学工業株式会社
発光素子
26日前
日亜化学工業株式会社
面状光源
6日前
日亜化学工業株式会社
発光装置
28日前
日亜化学工業株式会社
半導体レーザ素子
1か月前
日亜化学工業株式会社
光学薄膜の製造方法
5日前
日亜化学工業株式会社
配置部材、及び、発光装置
1か月前
日亜化学工業株式会社
垂直共振器面発光レーザ素子
26日前
日亜化学工業株式会社
軟磁性材料およびその製造方法
29日前
日亜化学工業株式会社
発光装置の製造方法及び発光装置
1か月前
日亜化学工業株式会社
光源、発光モジュール、及び携帯端末
1か月前
日亜化学工業株式会社
発光モジュール及びモバイルデバイス
26日前
日亜化学工業株式会社
照射装置、発光装置、及び紫外光の照射方法
26日前
日亜化学工業株式会社
透光性部材の製造方法及び発光装置の製造方法
1か月前
日亜化学工業株式会社
透光性部材の製造方法、透光性部材、及び発光装置
13日前
日亜化学工業株式会社
セラミックス基板の製造方法及び発光装置の製造方法
1か月前
日亜化学工業株式会社
発光装置
1か月前
日亜化学工業株式会社
面状光源
1か月前
日亜化学工業株式会社
発光装置
1か月前
日亜化学工業株式会社
セラミックス基板及び発光装置、並びに、それらの製造方法
26日前
日亜化学工業株式会社
発光モジュール
19日前
日亜化学工業株式会社
発光装置および発光装置の製造方法
1か月前
日亜化学工業株式会社
正極活物質及び非水電解質二次電池用正極
28日前
日亜化学工業株式会社
面発光装置、レンズ積層体及びその製造方法、面発光装置の製造方法、レンズ集合体の製造方法
28日前
日亜化学工業株式会社
波長ビーム結合装置、ダイレクトダイオードレーザ装置、およびレーザ加工機
13日前
個人
積和演算用集積回路
27日前
サンケン電気株式会社
半導体装置
26日前
エイブリック株式会社
縦型ホール素子
1か月前
日機装株式会社
半導体発光装置
21日前
エイブリック株式会社
縦型ホール素子
1か月前
旭化成株式会社
発光素子
1か月前
ローム株式会社
抵抗チップ
1か月前
続きを見る
他の特許を見る