TOP
|
特許
|
意匠
|
商標
特許ウォッチ
Twitter
他の特許を見る
公開番号
2025149800
公報種別
公開特許公報(A)
公開日
2025-10-08
出願番号
2024165177
出願日
2024-09-24
発明の名称
モータ
出願人
ニデック株式会社
代理人
弁理士法人酒井国際特許事務所
主分類
H02K
9/22 20060101AFI20251001BHJP(電力の発電,変換,配電)
要約
【課題】アウターロータタイプのモータにおいて、コイルから効率よく熱を逃がすことが可能なモータを提供する。
【解決手段】本開示の例示的なモータは、シャフト30と、ステータ10と、ロータ20と、保持部25Aと、放熱部材40とを有する。シャフトは、中心軸Jに沿って第1方向に延びる。ステータは、コイル123を有し、シャフトの径方向の外周を囲う。ロータは、ステータの径方向の外周を囲い、シャフトとともにステータに対して回転する。保持部は、シャフトが回転可能に取り付けられ、ステータを保持する。放熱部材は、コイルと熱的に接触する。保持部は、放熱部材を更に保持する。
【選択図】図1
特許請求の範囲
【請求項1】
中心軸に沿って第1方向に延びるシャフトと、
コイルを有し、前記シャフトの径方向の外周を囲うステータと、
前記ステータの径方向の外周を囲い、前記シャフトとともに前記ステータに対して回転するロータと、
前記シャフトが回転可能に取り付けられ、前記ステータを保持する保持部と、
前記コイルと熱的に接触する放熱部材と
を有し、
前記保持部は、前記放熱部材を更に保持する、モータ。
続きを表示(約 1,000 文字)
【請求項2】
前記ロータは、前記シャフトに接続する接続部を有し、
前記接続部は、前記ステータよりも前記第1方向の一方側に設けられ、
前記放熱部材は、前記ステータよりも前記第1方向の一方側に設けられる、請求項1に記載のモータ。
【請求項3】
前記放熱部材は、
前記シャフトを囲み、環状をした前記ステータにおける前記第1方向の一方側の端面を覆う円環形状に形成された円環部を含み、前記ステータを覆う部分を前記第1方向に貫通する複数の第1通気孔が設けられる、請求項2に記載のモータ。
【請求項4】
前記第1通気孔は、少なくとも前記ステータの周方向に沿って設けられる複数のステータコイルの間の空間と対面する位置に設けられる、請求項3に記載のモータ。
【請求項5】
前記放熱部材は、環状をした前記ステータにおける中央の空洞を覆う円盤形状に形成された円盤部を含み、該円盤部には、該円盤部を前記第1方向に貫通する複数の第2通気孔が設けられる、請求項4に記載のモータ。
【請求項6】
前記放熱部材は、前記円盤部の高さ位置が、前記円環部の高さ位置よりも低く、前記円盤部はネジにより前記保持部に固定される、請求項5に記載のモータ。
【請求項7】
前記保持部は、前記シャフトの周りを囲む第1筒状部と、前記第1筒状部の周りを囲み、前記ステータを保持する第2筒状部と、前記第1筒状部における前記第1方向の他方側端部と前記第2筒状部における前記第1方向の他方側端部との間を径方向につなぐ複数の細長い連結部とを含む、請求項2から請求項6のいずれか1項に記載のモータ。
【請求項8】
前記放熱部材は、径方向外側の端部が、前記ステータの径方向におけるステータコイルの外側の端部よりも径方向内側に位置する、請求項2から請求項6のいずれか1項に記載のモータ。
【請求項9】
前記ステータの周方向に沿って設けられる複数のステータコイルにおける前記第1方向の一方側の端面と、前記放熱部材との間に、放熱性および弾性を有する接着剤が設けられる、請求項2から請求項6のいずれか1項に記載のモータ。
【請求項10】
前記ステータよりも前記第1方向の他方側に設けられる放熱部材を更に有する、請求項2から請求項6のいずれか1項に記載のモータ。
(【請求項11】以降は省略されています)
発明の詳細な説明
【技術分野】
【0001】
本開示は、モータに関する。
続きを表示(約 1,600 文字)
【背景技術】
【0002】
特許文献1のモータは、ステータと、ステータの径方向内側に回転可能に配置されたロータとを備える。特許文献1のモータにおいて、ステータは、筒状のバックヨーク及びバックヨークから径方向内側に突出するティースを有するステータコアと、ティースに巻回されたコイルと、バックヨークを取り囲む外筒と、外筒の内周面及びコイルのコイル端の双方に当接する伝熱部とを備える。
【先行技術文献】
【特許文献】
【0003】
特開2019-038480号公報
【発明の概要】
【発明が解決しようとする課題】
【0004】
モータには、特許文献1のモータのようにロータがステータの径方向内側に回転可能に配置されるインナーロータタイプのモータ以外に、ロータがステータの径方向外側に回転可能に配置されるアウターロータタイプのモータも存在する。
【0005】
本開示は上記課題に鑑みてなされたものであり、その目的は、アウターロータタイプのモータにおいて、コイルから効率よく熱を逃がすことが可能なモータを提供することにある。
【課題を解決するための手段】
【0006】
本開示の例示的なモータは、シャフトと、ステータと、ロータと、保持部と、放熱部材とを有する。前記シャフトは、中心軸に沿って第1方向に延びる。前記ステータは、コイルを有し、前記シャフトの径方向の外周を囲う。前記ロータは、前記ステータの径方向の外周を囲い、前記シャフトとともに前記ステータに対して回転する。前記保持部は、前記シャフトが回転可能に取り付けられ、前記ステータを保持する。前記放熱部材は、前記コイルと熱的に接触する。前記保持部は、前記放熱部材を更に保持する。
【発明の効果】
【0007】
例示的な本開示によれば、アウターロータタイプのモータにおいて、コイルから効率よく熱を逃がすことが可能となる。
【図面の簡単な説明】
【0008】
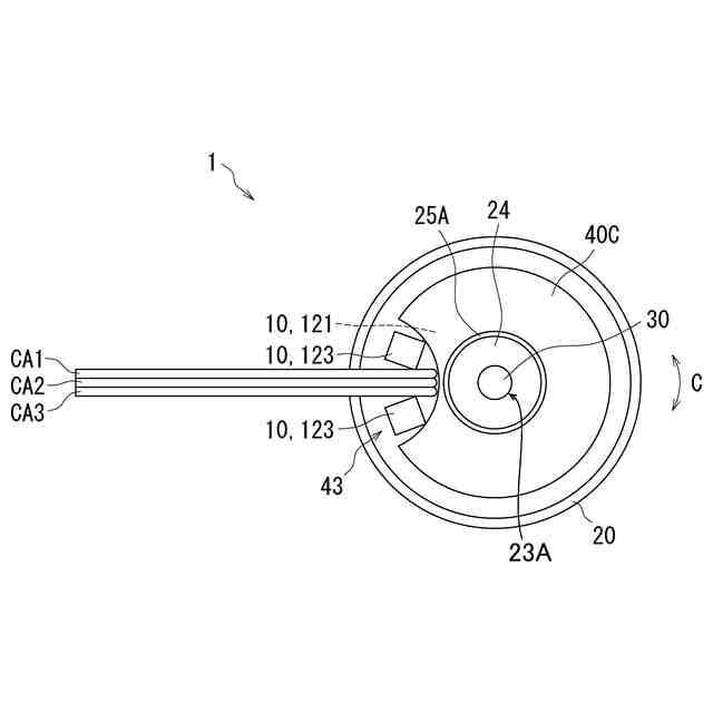
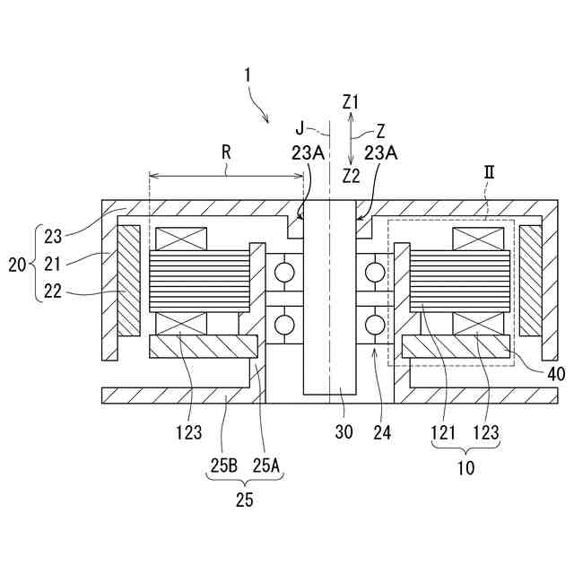
図1は、例示的な第1実施形態のモータの回転軸に沿った断面を示す図である。
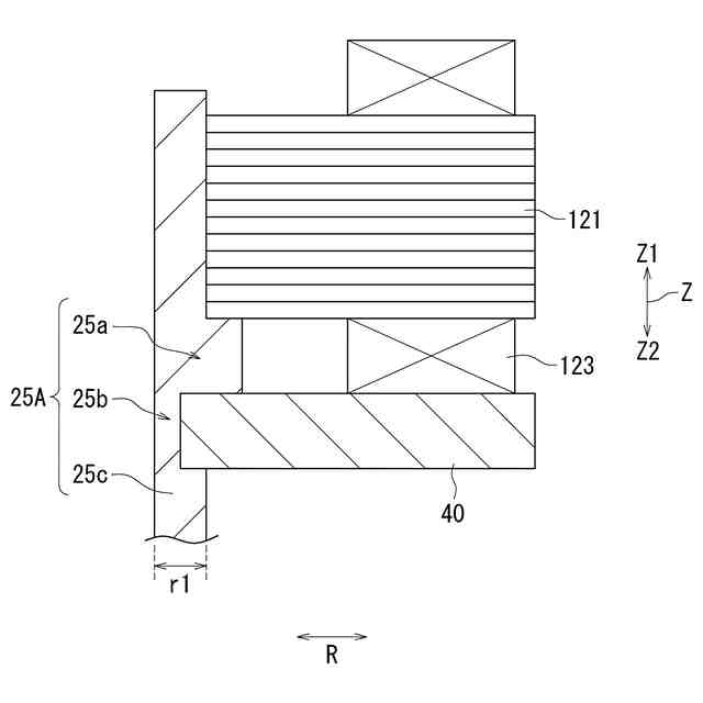
図2は、図1の領域IIを示す拡大図である。
図3は、軸方向他方側から見たモータを示す図である。
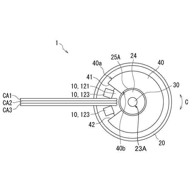
図4は、軸方向他方側から見たモータの変形例を示す図である。
図5は、軸方向他方側から見たモータの別の変形例を示す図である。
図6は、例示的な第2実施形態のモータ2の回転軸に沿った断面を示す図である。
図7は、軸方向一方側から見たモータを示す図である。
図8は、軸方向他方側から見たモータを示す図である。
【発明を実施するための形態】
【0009】
以下、本開示の例示的な第1実施形態について、図面を参照しながら説明する。なお、図中、同一又は相当部分については同一の参照符号を付して説明を繰り返さない。本明細書では、理解の容易のため、モータの回転軸に略平行な方向を軸方向Zと記載し、軸方向Zの一方側を軸方向一方側Z1と記載し、軸方向Zの他方側を軸方向他方側Z2と記載する。また、軸方向Zを中心とする径方向Rと記載し、軸方向Zを中心とする周方向を周方向Cと記載する。径方向Rにおいて、軸方向Z側を径方向Rの内側と記載し、軸方向Z側とは反対側を径方向Rの外側と記載する。ただし、あくまで説明の便宜のために方向を定義したに過ぎず、特に水平方向、鉛直方向を定義する必要がある場合を除き、本開示に係るモータの使用時の向きを限定しない。また、本願において「直交する方向」とは、略直交する方向も含む。
【0010】
図1を参照して、例示的な第1実施形態のモータ1を説明する。図1は、例示的な第1実施形態のモータ1の回転軸に沿った断面を示す図である。
(【0011】以降は省略されています)
この特許をJ-PlatPat(特許庁公式サイト)で参照する
関連特許
ニデック株式会社
モータ
2日前
ニデック株式会社
回転電機
今日
ニデック株式会社
冷却装置
今日
ニデック株式会社
情報処理装置
今日
ニデック株式会社
ロータおよび回転電機
今日
ニデック株式会社
ロータ、回転電機、および駆動装置
1日前
ニデック株式会社
積層鉄心の製造装置及び積層鉄心の製造方法
1日前
ニデック株式会社
ポンプシステム、冷媒循環装置、及び制御装置
今日
ニデック株式会社
回転体検査装置、回転体検査方法及びプログラム
1日前
ニデック株式会社
モータハウジング、モータハウジング製造方法及びモータ
今日
ニデック株式会社
検査装置、目的変数修正方法および目的変数修正プログラム
1日前
株式会社アイシン
ロータ
今日
株式会社FUJI
制御盤
11日前
西部電機株式会社
充電装置
3日前
日本精機株式会社
サージ保護回路
3日前
オムロン株式会社
電源回路
15日前
オムロン株式会社
電源回路
15日前
西部電機株式会社
充電装置
3日前
オムロン株式会社
電源回路
15日前
トヨタ自動車株式会社
固定子
1日前
トヨタ自動車株式会社
回転子
7日前
東京応化工業株式会社
発電装置
15日前
個人
連続ガウス加速器形磁力増幅装置
3日前
トヨタ自動車株式会社
製造装置
1日前
ミサワホーム株式会社
居住設備
11日前
株式会社ダイヘン
充電装置
今日
株式会社リコー
拡張アンテナ装置
14日前
株式会社アイシン
ステータ
今日
株式会社アイシン
ステータ
今日
株式会社ダイヘン
充電装置
今日
株式会社アイシン
ステータ
今日
株式会社アイシン
ステータ
今日
個人
太陽エネルギー収集システム
1日前
株式会社ダイヘン
充電装置
今日
東京瓦斯株式会社
通信装置
2日前
株式会社ミツバ
ブラシレスモータ
2日前
続きを見る
他の特許を見る