TOP
|
特許
|
意匠
|
商標
特許ウォッチ
Twitter
他の特許を見る
10個以上の画像は省略されています。
公開番号
2025153597
公報種別
公開特許公報(A)
公開日
2025-10-10
出願番号
2024056148
出願日
2024-03-29
発明の名称
ポンプシステム、冷媒循環装置、及び制御装置
出願人
ニデック株式会社
代理人
弁理士法人酒井国際特許事務所
,
個人
主分類
F04B
49/02 20060101AFI20251002BHJP(液体用容積形機械;液体または圧縮性流体用ポンプ)
要約
【課題】冷媒の逆流を防止可能な技術を提供すること。
【解決手段】ポンプシステムは、筐体と、複数のポンプと、制御部とを備え、筐体は、開口と、流体の流路とを有する。複数のポンプは、筐体に開口を通じて挿抜可能であり、筐体に装着されることで流路に接続される。制御部は、複数のポンプの一部である第一ポンプの稼働中に、複数のポンプのうち第一ポンプ以外の第二ポンプが流路に接続されたことを認識した場合に、第一ポンプの稼働を特定時間の間だけ停止させる。制御部は、特定時間の間に、第二ポンプへの電力供給を制御する。
【選択図】図4
特許請求の範囲
【請求項1】
開口と、流体の流路とを有する筐体と、
前記筐体に前記開口を通じて挿抜可能であり、前記筐体に装着されることで前記流路に接続される複数のポンプと、
制御部と
を備え、
前記制御部は、
前記複数のポンプの一部である第一ポンプの稼働中に、前記複数のポンプのうち前記第一ポンプ以外の第二ポンプが前記流路に接続されたことを認識した場合に、前記第一ポンプの稼働を特定時間の間だけ停止させ、
前記特定時間の間に、前記第二ポンプへの電力供給を制御する、ポンプシステム。
続きを表示(約 1,200 文字)
【請求項2】
前記制御部は、前記第二ポンプが前記流路に接続されたことを認識した場合に、予め定められた時間である待機時間が経過した後に、前記第一ポンプの稼働を前記特定時間の間だけ停止させる、請求項1に記載のポンプシステム。
【請求項3】
前記制御部は、前記第二ポンプに供給される電力が安定した場合に、停止中の前記第一ポンプを再稼働させる、請求項1又は2に記載のポンプシステム。
【請求項4】
前記第二ポンプに供給される電力の安定後に、前記制御部は、前記第二ポンプを稼働させる、請求項1又は2に記載のポンプシステム。
【請求項5】
前記第二ポンプに供給される電力の安定後に、前記第二ポンプの稼働を開始してもよいか否かを、ユーザ操作により指定させるための画面を表示する操作表示部を更に備え、
前記第二ポンプの稼働を開始してもよいことが前記ユーザ操作により指定された場合に、前記制御部は、前記第二ポンプを稼働させる、請求項4に記載のポンプシステム。
【請求項6】
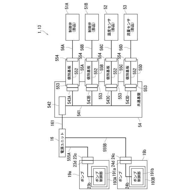
電力伝送用の第一配線が形成された共通基板と、
前記第一配線と電気的に接続され、電力伝送用の第二配線が形成された複数の個別基板と、
複数の前記第二配線と電気的に接続される、電力伝送用の複数の第一電線と、
前記複数の第一電線に接続される複数の部品と
を更に備える、請求項1又は2に記載のポンプシステム。
【請求項7】
電力伝送用の第二電線と、
前記第二電線と電気的に接続される第一コネクタを更に備え、
前記ポンプは、
前記ポンプが前記筐体に装着されることで前記第一コネクタと電気的に接続される第二コネクタと、
前記第二コネクタと電気的に接続される、電力伝送用の電線であるポンプ電線と、
前記ポンプ電線に電気的に接続される基板であるポンプ基板と
を有する、請求項6に記載のポンプシステム。
【請求項8】
ケーシングを有し、前記第一配線に電力を供給する電源ユニットを更に備え、
前記共通基板は、前記ケーシングが有する面に沿って配置される、請求項6に記載のポンプシステム。
【請求項9】
請求項1又は2に記載のポンプシステムを備え、
前記流体は、冷媒である、冷媒循環装置。
【請求項10】
筐体に開口を通じて挿抜可能であり、前記筐体に装着されることで、前記筐体に設けられる流体の流路に接続される複数のポンプを制御可能な制御装置であって、
前記複数のポンプの一部である第一ポンプの稼働中に、前記複数のポンプのうち前記第一ポンプ以外の第二ポンプが前記流路に接続されたことを認識した場合に、前記第一ポンプの稼働を特定時間の間だけ停止させる停止制御部と、
前記特定時間の間に、前記第二ポンプへの電力供給を制御する給電制御部と
を備える、制御装置。
発明の詳細な説明
【技術分野】
【0001】
本開示は、ポンプシステム、冷媒循環装置、及び制御装置に関する。
続きを表示(約 1,600 文字)
【0002】
背景技術に係る冷媒循環装置(以下「CDU」とも称す。)では、複数のポンプが冷媒の流路に並列に接続される。複数のポンプの各々は、CDUの筐体に挿抜可能である。この構成により、CDUでは、一部のポンプを動作させた状態(即ち、冷媒を循環させた状態)で、別のポンプを筐体に対し挿抜可能である(下記特許文献1参照)。
【先行技術文献】
【特許文献】
【0003】
米国特許出願公開第2023/059922号明細書
【発明の概要】
【発明が解決しようとする課題】
【0004】
しかし、背景技術のCDUでは、複数のポンプが流路に並列接続されるため、冷媒が逆流するおそれがある。詳細には、CDUにおいて冷媒を循環させた状態で、ポンプを筐体に装着する際、筐体内で循環している冷媒が、装着中のポンプに逆流で流入するおそれがある。
【0005】
本開示の目的は、冷媒の逆流を防止可能な技術を提供することにある。
【課題を解決するための手段】
【0006】
本開示の第一態様に係るポンプシステムは、筐体と、複数のポンプと、制御部とを備える。前記筐体は、開口と、流体の流路とを有する。前記複数のポンプは、前記筐体に前記開口を通じて挿抜可能であり、前記筐体に装着されることで前記流路に接続される。前記制御部は、前記複数のポンプの一部である第一ポンプの稼働中に、前記複数のポンプのうち前記第一ポンプ以外の第二ポンプが前記流路に接続されたことを認識した場合に、前記第一ポンプの稼働を特定時間の間だけ停止させる。前記制御部は、前記特定時間の間に、前記第二ポンプへの電力供給を制御する。
【0007】
本開示の第二態様に係る冷媒循環装置は、前記ポンプシステムを備える。前記流体は、冷媒である。
【0008】
本開示の第三態様に係る制御装置は、複数のポンプを制御可能である。複数のポンプは、筐体に開口を通じて挿抜可能であり、前記筐体に装着されることで、前記筐体に設けられる流体の流路に接続される。前記制御装置は、停止制御部と、給電制御部とを備える。前記停止制御部は、前記複数のポンプの一部である第一ポンプの稼働中に、前記複数のポンプのうち前記第一ポンプ以外の第二ポンプが前記流路に接続されたことを認識した場合に、前記第一ポンプの稼働を特定時間の間だけ停止させる。前記給電制御部は、前記特定時間の間に、前記第二ポンプへの電力供給を制御する。
【発明の効果】
【0009】
本開示によれば、冷媒の逆流を防止可能な技術を提供することができる。
【図面の簡単な説明】
【0010】
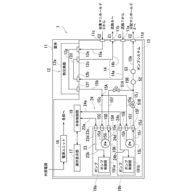
図1は、冷却システム100の構成を示す図である。
図2は、第一実施形態に係るCDU1及びポンプシステム13のブロック図である。
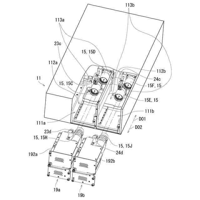
図3は、筐体11に挿抜されるポンプ19a,19bを示す斜視図である。
図4は、図2に示されるCDU1及びポンプシステム13の動作を示すタイミングチャートである。
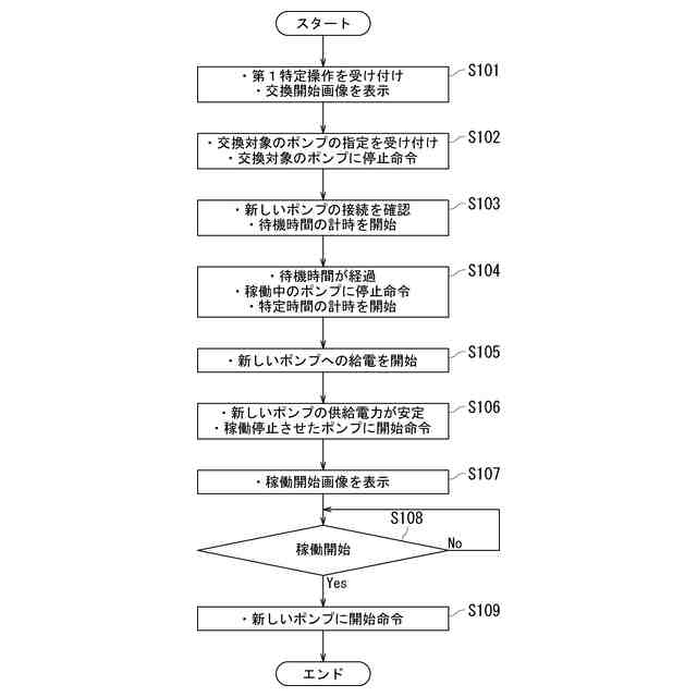
図5は、図2に示されるCDU1及びポンプシステム13の動作を示すフロー図である。
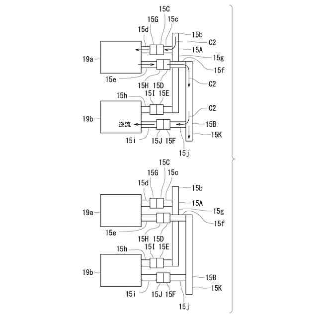
図6は、図2に示されるCDU1及びポンプシステム13の課題及び効果を示す図である。
図7は、第二実施形態に係るCDU1及びポンプシステム13のブロック図である。
図8は、第二実施形態に係るCDU1及びポンプシステム13の要部を示す図である。
図9は、図7に示す電源ユニット16の周辺を示す斜視図である。
図10は、第二実施形態に係るCDU1及びポンプシステム13の要部の変形例を示す図である。
【発明を実施するための形態】
(【0011】以降は省略されています)
この特許をJ-PlatPat(特許庁公式サイト)で参照する
関連特許
ニデック株式会社
モータ
3日前
ニデック株式会社
回転電機
1日前
ニデック株式会社
駆動装置
3日前
ニデック株式会社
冷却装置
1日前
ニデック株式会社
情報処理装置
1日前
ニデック株式会社
ロータおよび回転電機
1日前
ニデック株式会社
送風装置および掃除機
12日前
ニデック株式会社
ロータ、回転電機、および駆動装置
2日前
ニデック株式会社
積層鉄心の製造装置及び積層鉄心の製造方法
2日前
ニデック株式会社
ポンプシステム、冷媒循環装置、及び制御装置
1日前
ニデック株式会社
回転体検査装置、回転体検査方法及びプログラム
2日前
ニデック株式会社
判別システム、判別方法、および判別プログラム
8日前
ニデック株式会社
モータハウジング、モータハウジング製造方法及びモータ
1日前
ニデック株式会社
画像検査装置、画像分割方法、および画像分割プログラム
8日前
ニデック株式会社
外観検査装置、外観検査方法、および外観検査プログラム
9日前
ニデック株式会社
検査装置、目的変数修正方法および目的変数修正プログラム
2日前
ニデック株式会社
画像検査装置、再調整要否提示方法および再調整要否提示プログラム
9日前
ブルースカイテクノロジー株式会社
放電抵抗回路監視付き電圧センサ
11日前
個人
圧縮機
5か月前
個人
海流製造装置。
24日前
株式会社スギノマシン
圧縮機
2日前
株式会社ツインバード
送風装置
22日前
ダイニチ工業株式会社
空調装置
4か月前
株式会社ツインバード
送風装置
22日前
カヤバ株式会社
電動ポンプ
2か月前
株式会社不二越
蓄圧装置
2か月前
ビッグボーン株式会社
送風装置
1か月前
株式会社ノーリツ
ロータリ圧縮機
1か月前
個人
携帯型扇風機用の送風ノズル
4か月前
シャープ株式会社
送風装置
5か月前
株式会社ニクニ
液封式ポンプ装置
4か月前
シャープ株式会社
送風装置
5か月前
株式会社酉島製作所
ポンプ
4か月前
株式会社酉島製作所
ポンプ
3か月前
株式会社酉島製作所
ポンプ
5か月前
シャープ株式会社
送風装置
5か月前
続きを見る
他の特許を見る