TOP
|
特許
|
意匠
|
商標
特許ウォッチ
Twitter
他の特許を見る
10個以上の画像は省略されています。
公開番号
2025153582
公報種別
公開特許公報(A)
公開日
2025-10-10
出願番号
2024056126
出願日
2024-03-29
発明の名称
モータハウジング、モータハウジング製造方法及びモータ
出願人
ニデック株式会社
代理人
個人
,
個人
主分類
H02K
5/06 20060101AFI20251002BHJP(電力の発電,変換,配電)
要約
【課題】ダイカスト製のモータハウジングにおいて、表面強度を向上可能な製造方法を提供する。
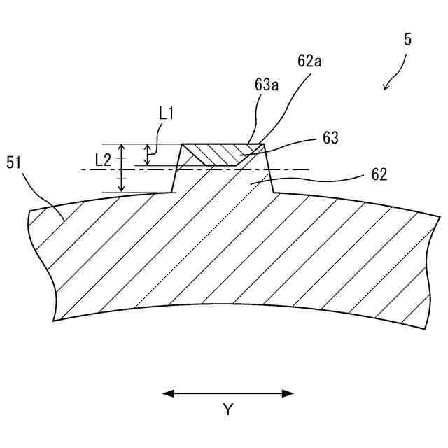
【解決手段】モータハウジング5は、筒状の本体部51を有し、前記本体部は、外周面上に、外方に突出し且つ軸方向に延びるパーティングラインを有するダイカスト製のモータハウジングである。前記本体部は、前記パーティングラインに接触している外周面上の少なくとも一部に、材料組織が改質された改質部63を有する。
【選択図】図4
特許請求の範囲
【請求項1】
筒状の本体部を有し、前記本体部は、外周面上に、外方に突出し且つ軸方向に延びるパーティングラインを有するダイカスト製のモータハウジングであって、
前記本体部は、
前記パーティングラインに接触している外周面上の少なくとも一部に、材料組織が改質された改質部を有する、
モータハウジング。
続きを表示(約 1,400 文字)
【請求項2】
請求項1に記載のモータハウジングにおいて、
前記改質部は、
前記本体部を構成する材料組織よりも緻密化された材料組織を有する、
モータハウジング。
【請求項3】
請求項2に記載のモータハウジングにおいて、
前記本体部は、
前記パーティングラインに接触している外周面上の少なくとも一部に、前記本体部に対して外方に突出する突出部を有し、
前記改質部は、
前記突出部の突出先端面全体に位置する、
モータハウジング。
【請求項4】
請求項1から請求項3のいずれか一つに記載のモータハウジングにおいて、
前記改質部は、
前記本体部の内部に向かって深さを有し、
前記パーティングラインの突出方向における前記改質部の深さは、
前記パーティングラインの突出高さの半分よりも短い、
モータハウジング。
【請求項5】
請求項1から請求項3のいずれか一つに記載のモータハウジングにおいて、
前記改質部は、
前記本体部の内部に向かって深さを有し、
前記パーティングラインの突出方向における前記改質部の深さは、
前記パーティングラインの突出高さの半分よりも長い、
モータハウジング。
【請求項6】
請求項1に記載のモータハウジングにおいて、
前記改質部は、
前記本体部を構成する材料の摩擦攪拌によって構成されている、
モータハウジング。
【請求項7】
筒状の本体部を有するダイカスト製のモータハウジング製造方法であって、
複数の金型によって構成されるキャビティ内に、ゲートから溶融金属を射出して、前記本体部となるダイカスト成形品を形成する形成工程と、
前記ダイカスト成形品とランナーとを前記ゲートで分割する分割工程と、
前記ダイカスト成形品において、前記分割工程によって形成された前記ダイカスト成形品と前記ランナーとの境界であるゲート部に対して、材料組織を改質する改質処理を実施する改質工程と、
を有する、
モータハウジング製造方法。
【請求項8】
請求項7に記載のモータハウジング製造方法において、
前記分割工程は、
前記ダイカスト成形品と、溶融金属の排出通路であるオーバーフロー部とをオーバーフローゲートで分割する工程を含み、
前記改質工程は、
前記ダイカスト成形品において、前記分割工程によって形成された前記ダイカスト成形品と前記オーバーフロー部との境界であるゲート部に対して、材料組織を改質する改質処理を実施する工程を含む、
モータハウジング製造方法。
【請求項9】
請求項7または請求項8に記載のモータハウジング製造方法において、
前記改質工程では、
前記ゲート部に回転ツールを押し当てる摩擦攪拌処理によって、前記改質処理を実施する、
モータハウジング製造方法。
【請求項10】
請求項7または請求項8に記載のモータハウジング製造方法において、
前記改質工程では、
前記ゲート部全体に対して改質処理を実施する、
モータハウジング製造方法。
(【請求項11】以降は省略されています)
発明の詳細な説明
【技術分野】
【0001】
本発明は、モータハウジング、モータハウジング製造方法及びモータに関する。
続きを表示(約 1,400 文字)
【背景技術】
【0002】
ダイカスト製のモータハウジングが知られている。前記モータハウジングは、ダイカスト装置によって製造される。前記ダイカスト装置として、給湯口を介して溶湯が供給されるプランジャースリーブと、前記プランジャースリーブに連通された金型と、前記プランジャースリーブに供給された前記溶湯を、前記金型に射出するプランジャーと、前記プランジャーの動作を制御する制御部と、を備えたダイカスト鋳造装置が開示されている(例えば、特許文献1)。
【先行技術文献】
【特許文献】
【0003】
特開2021-133392号公報
【発明の概要】
【発明が解決しようとする課題】
【0004】
ダイカスト装置では、プランジャースリーブに供給された溶湯が、プランジャースリーブと接触して急冷凝固されるため、前記プランジャースリーブの内面にチル層が形成されることが知られている。前記チル層がプランジャーの先端で粉砕されることにより、破断チル層が形成される。前記破断チル層が再溶解せずに溶湯に巻き込まれながら金型内に充填され、ダイカスト製品の内部に混入する場合があることが知られている。
【0005】
前記破断チル層は、溶融金属と接合しにくいため溶融金属との界面を起点に引張強度及び伸び等の物性を低下させる。したがって、例えば前記破断チル層がダイカスト製品の表面に露出した場合、前記ダイカスト製品の強度及び耐圧を低下させる大きな要因になる可能性がある。そこで、前記ダイカスト製品の表面強度を向上する方法が求められている。
【0006】
本発明の目的は、ダイカスト製のモータハウジングにおいて、表面強度を向上可能な製造方法を提供することである。
【課題を解決するための手段】
【0007】
本発明の一実施形態に係るモータハウジングは、筒状の本体部を有し、前記本体部は、外周面上に、外方に突出し且つ軸方向に延びるパーティングラインを有するダイカスト製のモータハウジングである。前記本体部は、前記パーティングライン上の少なくとも一部に、材料組織が改質された改質部を有する。
【0008】
本発明の一実施形態に係るモータハウジング製造方法は、筒状の本体部を有するダイカスト製のモータハウジング製造方法である。このモータハウジング製造方法は、複数の金型によって構成されるキャビティ内に、ゲートから溶融金属を射出して、前記本体部となるダイカスト成形品を形成する形成工程と、前記ダイカスト成形品とランナーとを前記ゲートで分割する分割工程と、前記ダイカスト成形品において、前記分割工程によって形成された前記ダイカスト成形品と前記ランナーとの境界であるゲート部に対して、材料組織を改質する改質処理を実施する改質工程と、を有する。
【0009】
本発明の一実施形態に係るモータは、回転するロータと、前記ロータに対して径方向外方に位置するステータと、前記ステータの外周側で、前記ステータと接触しているハウジングと、を有する。前記ハウジングは、前記ダイカスト製のモータハウジングである。
【発明の効果】
【0010】
本発明の一実施形態によれば、表面強度が向上したモータハウジングの製造方法を提供することができる。
【図面の簡単な説明】
(【0011】以降は省略されています)
この特許をJ-PlatPat(特許庁公式サイト)で参照する
関連特許
ニデック株式会社
モータ
3日前
ニデック株式会社
駆動装置
3日前
ニデック株式会社
回転電機
1日前
ニデック株式会社
冷却装置
1日前
ニデック株式会社
情報処理装置
1日前
ニデック株式会社
生産管理システム
15日前
ニデック株式会社
ロータおよび回転電機
1日前
ニデック株式会社
送風装置および掃除機
12日前
ニデック株式会社
モータ及びモータ製造方法
15日前
ニデック株式会社
ロータ、回転電機、および駆動装置
2日前
ニデック株式会社
積層鉄心の製造装置及び積層鉄心の製造方法
2日前
ニデック株式会社
ポンプシステム、冷媒循環装置、及び制御装置
1日前
ニデック株式会社
判別システム、判別方法、および判別プログラム
8日前
ニデック株式会社
回転体検査装置、回転体検査方法及びプログラム
2日前
ニデック株式会社
モータハウジング、モータハウジング製造方法及びモータ
1日前
ニデック株式会社
画像検査装置、画像分割方法、および画像分割プログラム
8日前
ニデック株式会社
外観検査装置、外観検査方法、および外観検査プログラム
9日前
ニデック株式会社
検査装置、目的変数修正方法および目的変数修正プログラム
2日前
ニデック株式会社
画像検査装置、再調整要否提示方法および再調整要否提示プログラム
9日前
ブルースカイテクノロジー株式会社
放電抵抗回路監視付き電圧センサ
11日前
個人
バッテリ内蔵直流電源
22日前
株式会社アイシン
ロータ
1日前
株式会社FUJI
制御盤
12日前
オムロン株式会社
電源回路
16日前
西部電機株式会社
充電装置
4日前
西部電機株式会社
充電装置
4日前
オムロン株式会社
電源回路
16日前
日本精機株式会社
サージ保護回路
4日前
オムロン株式会社
電源回路
16日前
トヨタ自動車株式会社
固定子
2日前
トヨタ自動車株式会社
回転子
8日前
トヨタ自動車株式会社
製造装置
2日前
個人
連続ガウス加速器形磁力増幅装置
4日前
東京応化工業株式会社
発電装置
16日前
ミサワホーム株式会社
居住設備
12日前
大豊工業株式会社
モータ
22日前
続きを見る
他の特許を見る