TOP
|
特許
|
意匠
|
商標
特許ウォッチ
Twitter
他の特許を見る
公開番号
2025139357
公報種別
公開特許公報(A)
公開日
2025-09-26
出願番号
2024038250
出願日
2024-03-12
発明の名称
生産管理システム
出願人
ニデック株式会社
代理人
弁理士法人酒井国際特許事務所
主分類
G06Q
50/04 20120101AFI20250918BHJP(計算;計数)
要約
【課題】生産工程を管理する管理システムにおいて、生産計画に基づく生産工程の始期及び終期を検出する生産管理システムを提供する。
【解決手段】作業者位置情報生成部と、管理部と、を含む生産管理システムであって、作業者位置情報生成部は、作業場所及び作業者の位置の情報を含む作業者位置情報を生成し、管理部は、生産計画毎に生成される作業場所及び作業者の情報を含む生産計画情報に基づく生産工程において、作業者位置情報に基づいて生産工程の始期及び終期を検出する。
【選択図】図1
特許請求の範囲
【請求項1】
作業者及び当該作業者の位置の情報を含む作業者位置情報を生成する作業者位置情報生成部と、
生産計画毎に生成される作業場所及び作業者の情報を含む生産計画情報に基づく生産工程において、前記作業者位置情報に基づいて前記生産工程の始期及び終期を検出する管理部と
を備える生産管理システム。
続きを表示(約 1,000 文字)
【請求項2】
前記管理部は、前記生産計画情報の前記作業場所に前記生産計画情報の前記作業者の情報に対応する作業者が存在する場合に前記生産計画情報に基づく生産工程の始期を検出し、前記生産計画情報の前記作業者の情報に対応する作業者の位置が前記生産計画情報の前記作業場所とは異なる場合に前記生産工程の終期を検出する請求項1に記載の生産管理システム。
【請求項3】
前記管理部は、前記生産計画情報の作業者の情報に対応する作業者の内の所定の割合以上の作業者の位置が前記生産計画情報の作業場所とは異なる場合に前記生産工程の終期を検出する請求項2に記載の生産管理システム。
【請求項4】
前記管理部は、前記生産計画情報の作業者の情報に対応する作業者の内の50%以上の作業者の位置が前記生産計画情報の作業場所とは異なる場合に前記生産工程の終期を検出する請求項3に記載の生産管理システム。
【請求項5】
前記管理部は、前記生成された作業者位置情報の作業者の内の所定の割合以上の作業者が次の生産計画の生産計画情報の作業者の情報に対応する作業者になった場合に前記生産工程の終期を検出する請求項2に記載の生産管理システム。
【請求項6】
前記管理部は、前記生成された作業者位置情報の作業者の内の80%以上の作業者が次の生産計画の生産計画情報の作業者の情報に対応する作業者になった場合に前記生産工程の終期を検出する請求項5に記載の生産管理システム。
【請求項7】
前記管理部は、前記生産計画情報の前記作業場所に前記生産計画情報の前記作業者の情報に対応する作業者が所定の期間存在する場合に前記生産計画情報に基づく生産工程が継続中と判断する請求項2に記載の生産管理システム。
【請求項8】
休憩時間を記録する休憩時間管理部を更に備え、
前記管理部は、前記記録された休憩時間とは異なる時間帯において前記生産計画情報の前記作業者の情報に対応する作業者の位置が前記生産計画情報の作業場所とは異なる場合に前記生産工程の終期を検出する請求項2に記載の生産管理システム。
【請求項9】
前記管理部は、前記終期を検出した生産工程の生産実績を更に生成する請求項1に記載の生産管理システム。
【請求項10】
前記生成された生産実績を表示する表示部を更に備える請求項9に記載の生産管理システム。
(【請求項11】以降は省略されています)
発明の詳細な説明
【技術分野】
【0001】
本開示は、生産管理システムに関する。
続きを表示(約 1,400 文字)
【背景技術】
【0002】
工場等における生産工程を管理するシステムが提案されている。例えば、生産ライン上に流れる製品を機種別に集計し、生産品の機種及び個数を検出して生産実績を管理するシステムが提案されている(例えば、特許文献1参照)。
【先行技術文献】
【特許文献】
【0003】
特開平04-210359号公報
【発明の概要】
【発明が解決しようとする課題】
【0004】
上記の従来技術では、時系列の生産計画に基づく2つの生産工程において同じ機種の生産を行う場合に先の生産工程の終期を検出できないという問題がある。このため、生産実績の取得等が困難になるという問題がある。
【0005】
本開示は、生産工程を管理する管理システムにおいて、生産計画に基づく生産工程の始期及び終期を検出する生産管理システムを提供する。
【課題を解決するための手段】
【0006】
本開示の一態様による生産管理システムは、作業者位置情報生成部と、管理部とを備える。この本開示の一態様による生産管理システムが備える作業者位置情報生成部は、作業者及び当該作業者の位置の情報を含む作業者位置情報を生成する。この本開示の一態様による生産管理システムが備える管理部は、生産計画毎に生成される作業場所及び作業者の情報を含む生産計画情報に基づく生産工程において、上記作業者位置情報に基づいて上記生産工程の始期及び終期を検出する。
【発明の効果】
【0007】
本開示によれば、生産工程を管理する管理システムにおいて、生産計画に基づく生産工程の始期及び終期を検出することができる。
【図面の簡単な説明】
【0008】
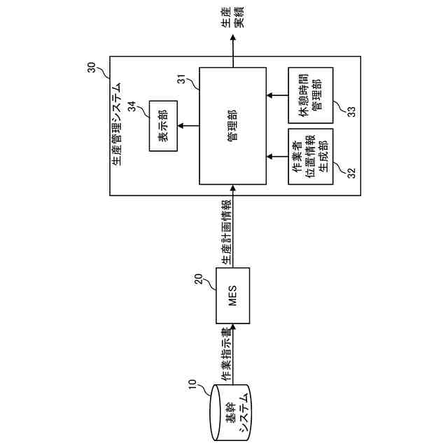
図1は、本開示の実施形態に係る生産管理システムの構成例を示す図である。
図2は、本開示の実施形態に係る生産計画の一例を示す図である。
図3は、本開示の実施形態に係る作業指示書の一例を示す図である。
図4は、本開示の実施形態に係る生産計画情報の一例を示す図である。
図5は、本開示の実施形態に係る生産実績の一例を示す図である。
図6Aは、本開示の実施形態に係る生産工程の一例を示す図である。
図6Bは、本開示の実施形態に係る生産工程の一例を示す図である。
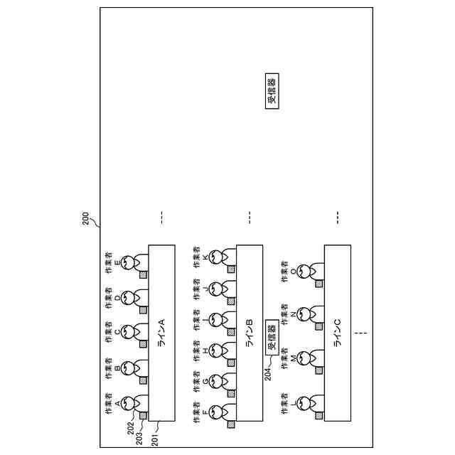
図7は、本開示の実施形態に係る工場の一例を示す図である。
【0009】
[生産管理システム]
図1は、本開示の実施形態に係る生産管理システムの構成例を示す図である。同図は、生産管理システム30の構成例を表すブロック図である。同図には、基幹システム10及び製造実行システム(MES:Manufacturing Execution System)20を更に記載した。なお、同図において、「製造実行システム」を「MES」と記載している。
【0010】
基幹システム10は、購買管理、生産管理、在庫管理などの基幹業務データを統合的に管理するシステムである。この基幹システム10は、生産計画に基づいて作業指示書(MO:Manufacturing Order)を生成し、製造実行システム20に出力する。なお、作業指示書は、製造指示書とも称される。作業指示書の詳細については後述する。
(【0011】以降は省略されています)
特許ウォッチbot のツイートを見る
この特許をJ-PlatPat(特許庁公式サイト)で参照する
関連特許
ニデック株式会社
生産管理システム
5日前
ニデック株式会社
モータの制御方法
20日前
ニデック株式会社
ステータ及びモータ
21日前
ニデック株式会社
送風装置および掃除機
2日前
ニデック株式会社
モータ及びモータ製造方法
5日前
ニデック株式会社
積層鉄心製造方法、積層鉄心及びモータ
21日前
ニデック株式会社
積層鉄心製造方法、積層鉄心及びモータ
21日前
ニデック株式会社
ステータ、モータ及びステータの製造方法
21日前
ニデック株式会社
積層鉄心、積層鉄心の製造方法及びモータ
21日前
ニデック株式会社
画像検査装置、分類修正方法、および分類修正プログラム
22日前
ニデック株式会社
積層コア製造方法、積層コアの製造装置、積層コア及びモータ
21日前
ブルースカイテクノロジー株式会社
放電抵抗回路監視付き電圧センサ
1日前
ニデック株式会社
バックアップ装置、バックアップ装置の制御方法及びコンピュータシステム
22日前
個人
工程設計支援装置
1か月前
個人
フラワーコートA
1か月前
個人
地球保全システム
今日
個人
介護情報提供システム
2か月前
個人
冷凍食品輸出支援構造
27日前
個人
為替ポイント伊達夢貯
27日前
個人
設計支援システム
2か月前
個人
設計支援システム
2か月前
個人
表変換編集支援システム
20日前
個人
携帯情報端末装置
1か月前
個人
知財出願支援AIシステム
27日前
個人
結婚相手紹介支援システム
1か月前
個人
パスワード管理支援システム
20日前
個人
AIによる情報の売買の仲介
29日前
個人
行動時間管理システム
22日前
株式会社アジラ
進入判定装置
1か月前
個人
パスポートレス入出国システム
1か月前
個人
海外支援型農作物活用システム
12日前
個人
アンケート支援システム
1か月前
日本精機株式会社
施工管理システム
29日前
個人
システム及びプログラム
13日前
個人
AIキャラクター制御システム
20日前
個人
音声対話型帳票生成支援システム
20日前
続きを見る
他の特許を見る