TOP
|
特許
|
意匠
|
商標
特許ウォッチ
Twitter
他の特許を見る
10個以上の画像は省略されています。
公開番号
2025132759
公報種別
公開特許公報(A)
公開日
2025-09-10
出願番号
2024030539
出願日
2024-02-29
発明の名称
積層鉄心製造方法、積層鉄心及びモータ
出願人
ニデック株式会社
代理人
個人
,
個人
主分類
H02K
15/026 20250101AFI20250903BHJP(電力の発電,変換,配電)
要約
【課題】軸線を中心として螺旋状に延びるバックヨーク部を有する積層鉄心において、積層方向の連結強度を向上可能な製造方法を提供する。
【解決手段】鋼板から、帯状のバックヨーク形成部と、前記複数のティース部とを有する板状の鉄心片形成部を打ち抜くプレス工程と、前記バックヨーク形成部を円弧状に曲げて、螺旋状に延びる前記バックヨーク部と、径方向内方に延びる前記複数のティース部とを有する螺旋状の鉄心片を形成する鉄心片形成工程と、螺旋状の前記鉄心片の前記バックヨーク部及び前記複数のティース部を厚み方向に重ねて筒状の積層体を形成する積層工程と、前記バックヨーク部の外周側の端面によって構成される前記積層体の外周面に接着剤を供給する外周側接着剤供給工程と、前記積層体の外周面に供給された接着剤を、前記鉄心片のうち積層方向に重なる領域同士の隙間の少なくとも一部に浸透させる浸透工程と、を有する。
【選択図】図2
特許請求の範囲
【請求項1】
軸線を中心として螺旋状に延びる板状のバックヨーク部と、前記バックヨーク部から径方向内方に延びる板状の複数のティース部とが厚み方向にそれぞれ積層されて前記軸線に沿って延びる筒状の積層鉄心の製造方法であって、
鋼板から、帯状のバックヨーク形成部と、前記バックヨーク形成部における幅方向一側の端部から前記幅方向に突出する前記複数のティース部とを有する板状の鉄心片形成部を打ち抜くプレス工程と、
前記バックヨーク形成部を円弧状に曲げて、螺旋状に延びる前記バックヨーク部と、径方向内方に延びる前記複数のティース部とを有する螺旋状の鉄心片を形成する鉄心片形成工程と、
螺旋状の前記鉄心片の前記バックヨーク部及び前記複数のティース部を厚み方向に重ねて筒状の積層体を形成する積層工程と、
前記バックヨーク部の外周側の端面によって構成される前記積層体の外周面に接着剤を供給する外周側接着剤供給工程と、
前記積層体の外周面に供給された接着剤を、前記鉄心片のうち積層方向に重なる領域同士の隙間の少なくとも一部に浸透させる浸透工程と、
を有する、
積層鉄心製造方法。
続きを表示(約 1,300 文字)
【請求項2】
請求項1に記載の積層鉄心製造方法において、
前記浸透工程は、
前記積層方向に重なる領域の隙間内の空気を減圧する減圧工程を含む、
積層鉄心製造方法。
【請求項3】
請求項1または請求項2に記載の積層鉄心製造方法において、
前記積層工程よりも前に、前記複数のティース部の厚み方向一側の面または厚み方向他側の面の少なくとも一方に接着剤を供給するティース接着剤供給工程をさらに有し、
前記積層工程では、
厚み方向一側の面または厚み方向他側の面の少なくとも一方に接着剤が供給された前記複数のティース部を厚み方向に重ねる、
積層鉄心製造方法。
【請求項4】
請求項1または請求項2に記載の積層鉄心製造方法において、
前記積層工程よりも後に、積層方向に重なった前記複数のティース部の径方向内側の端面によって構成される前記積層体の内周面に接着剤を供給する内周側接着剤供給工程をさらに有する、
積層鉄心製造方法。
【請求項5】
軸線を中心として螺旋状に延びる板状のバックヨーク部と、前記バックヨーク部から径方向内方に延びる板状の複数のティース部とを有する鉄心片が厚み方向に積層されて前記軸線に沿って延びる筒状の積層体と、
前記積層体を積層方向に接着する接着部と、
を有し、
前記接着部は、
前記鉄心片の外周側に位置する前記バックヨーク部の外周側の端面によって構成された前記積層体の外周面上に位置する外周側接着部と、
前記鉄心片のうち前記積層方向に重なる領域同士の隙間の少なくとも一部に位置して、径方向外側が前記外周側接着部に接続されているバックヨーク接着部と、
を含む、
積層鉄心。
【請求項6】
請求項5に記載の積層鉄心において、
前記バックヨーク部は、
周方向に隣り合うティース部の基端側の間に、内周側の端面から径方向外方に延びる切れ目を有し、
前記接着部は、
少なくとも一部が前記切れ目によって構成された隙間内に位置するとともに、径方向外側が前記外周側接着部に接続され且つ前記切れ目に沿って径方向内方に延びる切れ目接着部を含む、
積層鉄心。
【請求項7】
請求項5に記載の積層鉄心において、
前記接着部は、
前記積層方向に重なるティース部同士の間に位置して、前記積層方向に重なるティース部同士を積層方向に接着するティース接着部を含む、
積層鉄心。
【請求項8】
請求項5に記載の積層鉄心において、
前記接着部は、
積層方向に重なる前記ティース部の径方向内側の端面によって構成された前記積層体の内周面上に位置する内周側接着部を含む、
積層鉄心。
【請求項9】
請求項5から請求項8のいずれか一つに記載の積層鉄心を有するステータと、
前記ステータに対して径方向に位置して、前記積層鉄心の前記軸線を中心として回転するロータと、
を有するモータ。
発明の詳細な説明
【技術分野】
【0001】
本発明は、積層鉄心製造方法、積層鉄心及びモータに関する。
続きを表示(約 2,400 文字)
【背景技術】
【0002】
一方向に延びる帯状の鋼板を円弧状に曲げて螺旋状に延びるバックヨーク部を形成する積層鉄心の製造方法が知られている。このような製造方法によって製造された積層鉄心として、例えば、帯状のバックヨークの一方の長辺部側から突出した複数個のティースを備えた抜き板を折り曲げて円弧状に形成し、前記円弧状の抜き板を複数枚組み合わせてリング状のストレートコアを形成し、前記ストレートコアの外周部をレーザー溶接で固定した固定子コアが開示されている(例えば、特許文献1)。
【先行技術文献】
【特許文献】
【0003】
特開2005-143164号公報
【発明の概要】
【発明が解決しようとする課題】
【0004】
ところで、螺旋状のバックヨーク部と、前記バックヨーク部から径方向内方に延びる複数のティース部とを有する鋼板が厚み方向に積層された積層鉄心では、内周側は、ティース部に巻回されるコイルによって積層状態を固定しやすい一方、外周側は、積層方向に離れやすい。また、帯状の鋼板を円弧状に曲げることにより前記バックヨーク部が螺旋状に形成された積層鉄心では、前記バックヨーク部に生じるスプリングバックによって、前記鋼板が径方向に拡がる可能性がある。そこで、螺旋状のバックヨーク部を有する積層鉄心において、積層方向への連結強度を向上可能な製造方法が求められている。
【0005】
本発明の目的は、軸線を中心として螺旋状に延びるバックヨーク部を有する積層鉄心において、積層方向の連結強度を向上可能な製造方法を提供することである。
【課題を解決するための手段】
【0006】
本発明の一実施形態に係る積層鉄心製造方法は、軸線を中心として螺旋状に延びる板状のバックヨーク部と、前記バックヨーク部から径方向内方に延びる板状の複数のティース部とが厚み方向にそれぞれ積層されて前記軸線に沿って延びる筒状の積層鉄心の製造方法である。前記積層鉄心製造方法は、鋼板から、帯状のバックヨーク形成部と、前記バックヨーク形成部における幅方向一側の端部から前記幅方向に突出する前記複数のティース部とを有する板状の鉄心片形成部を打ち抜くプレス工程と、前記バックヨーク形成部を円弧状に曲げて、螺旋状に延びる前記バックヨーク部と、径方向内方に延びる前記複数のティース部とを有する螺旋状の鉄心片を形成する鉄心片形成工程と、螺旋状の前記鉄心片の前記バックヨーク部及び前記複数のティース部を厚み方向に重ねて筒状の積層体を形成する積層工程と、前記バックヨーク部の外周側の端面によって構成される前記積層体の外周面に接着剤を供給する外周側接着剤供給工程と、前記積層体の外周面に供給された接着剤を、前記鉄心片のうち積層方向に重なる領域同士の隙間の少なくとも一部に浸透させる浸透工程と、を有する。
【0007】
本発明の一実施形態に係る積層鉄心は、軸線を中心として螺旋状に延びる板状のバックヨーク部と、前記バックヨーク部から径方向内方に延びる板状の複数のティース部とを有する鉄心片が厚み方向に積層されて前記軸線に沿って延びる筒状の積層体と、前記積層体を積層方向に接着する接着部と、を有する。前記接着部は、前記鉄心片の外周側に位置する前記バックヨーク部の外周側の端面によって構成された前記積層体の外周面上に位置する外周側接着部と、前記鉄心片のうち前記積層方向に重なる領域同士の隙間の少なくとも一部に位置して、径方向外側が前記外周側接着部に接続されているバックヨーク接着部と、を含む。
【0008】
本発明の一実施形態に係るモータは、前記積層鉄心を有するステータと、前記ステータに対して径方向に位置して、前記積層鉄心の前記軸線を中心として回転するロータと、を有する。
【発明の効果】
【0009】
本発明によれば、軸線を中心として螺旋状に延びるバックヨーク部を有する積層鉄心において、積層方向の連結強度を向上可能な製造方法を提供できる。
【図面の簡単な説明】
【0010】
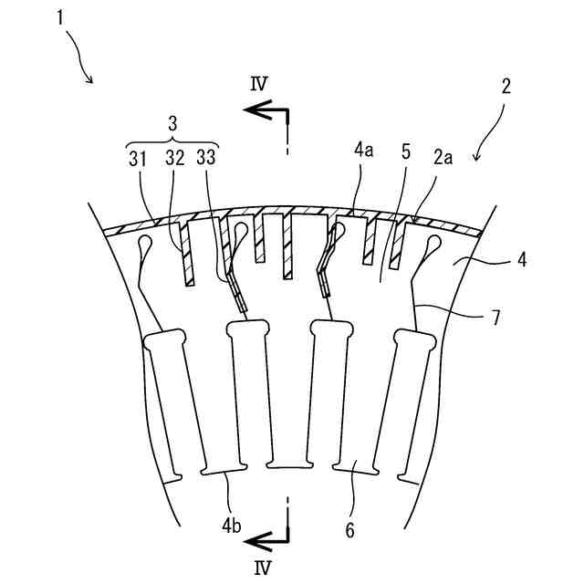
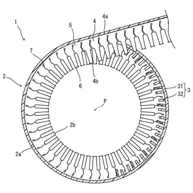
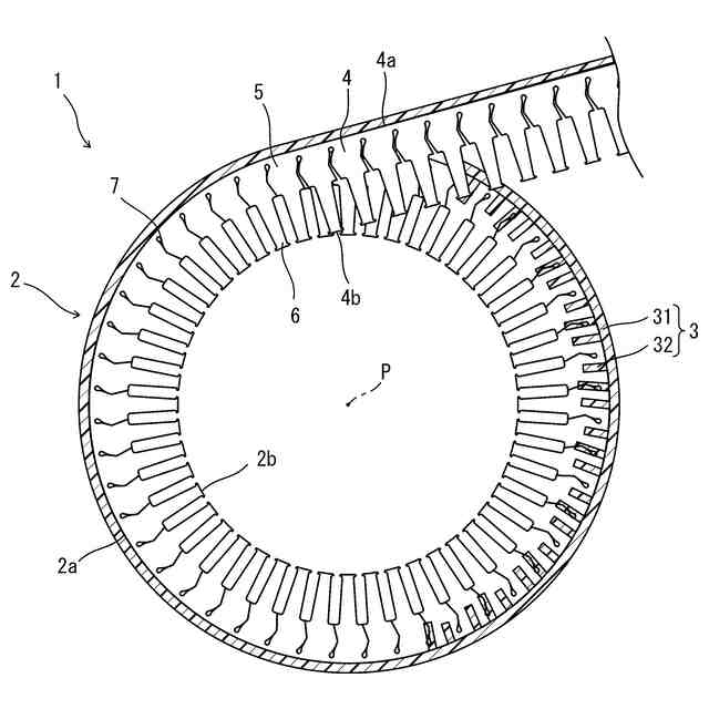
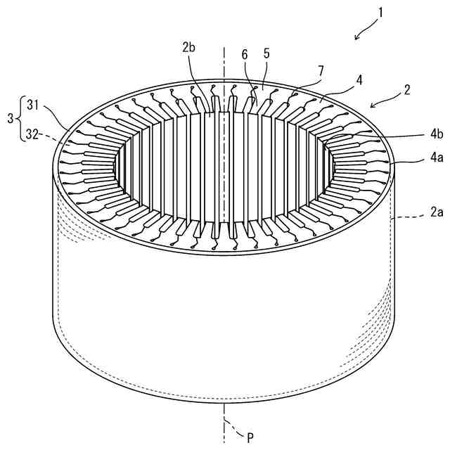
図1は、実施形態1に係る積層鉄心の概略構成を示す斜視図である。
図2は、積層鉄心の分解図である。
図3は、図2の部分拡大図であり、接着部を説明する図である。
図4は、図3のIV-IV線断面図である。
図5は、鋼板の打ち抜き図である。
図6は、鉄心片形成部の概略構成を示す平面図である。
図7は、鉄心片形成部を円弧状に曲げた状態を説明する図である。
図8は、螺旋状の鉄心片を説明する図である。
図9は、螺旋状の鉄心片を厚み方向に重ねる様子を説明する図である。
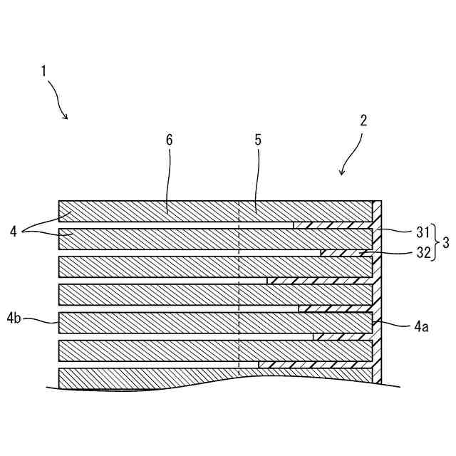
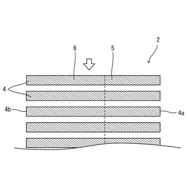
図10は、積層体の外周面に接着剤を供給する様子を説明する図である。
図11は、積層体の外周面に供給された接着剤が隙間に浸透した状態を示す図である。
図12は、実施形態1の変形例に係る積層鉄心の図3相当図である。
図13は、図12のXIII-XIII線断面図である。
図14は、実施形態2に係る積層鉄心の製造方法における減圧工程を説明する図である。
図15は、実施形態3に係る積層鉄心の図3相当図である。
図16は、スプリングバックを説明する図である。
図17は、ティース部に接着剤を供給する様子を説明する図である。
図18は、積層体の外周面に接着剤を供給する様子を説明する図である。
図19は、積層体の外周面に供給された接着剤が隙間に浸透した状態を示す図である。
【発明を実施するための形態】
(【0011】以降は省略されています)
特許ウォッチbot のツイートを見る
この特許をJ-PlatPat(特許庁公式サイト)で参照する
関連特許
ニデック株式会社
モータ
今日
ニデック株式会社
駆動装置
今日
ニデック株式会社
生産管理システム
12日前
ニデック株式会社
モータの制御方法
27日前
ニデック株式会社
送風装置および掃除機
9日前
ニデック株式会社
モータ及びモータ製造方法
12日前
ニデック株式会社
ステータ、モータ及びステータの製造方法
28日前
ニデック株式会社
積層鉄心、積層鉄心の製造方法及びモータ
28日前
ニデック株式会社
判別システム、判別方法、および判別プログラム
5日前
ニデック株式会社
画像検査装置、画像分割方法、および画像分割プログラム
5日前
ニデック株式会社
外観検査装置、外観検査方法、および外観検査プログラム
6日前
ニデック株式会社
画像検査装置、再調整要否提示方法および再調整要否提示プログラム
6日前
ブルースカイテクノロジー株式会社
放電抵抗回路監視付き電圧センサ
8日前
個人
電源装置
20日前
個人
バッテリ内蔵直流電源
19日前
株式会社FUJI
制御盤
9日前
オムロン株式会社
電源回路
13日前
オムロン株式会社
電源回路
13日前
オムロン株式会社
電源回路
13日前
西部電機株式会社
充電装置
1日前
西部電機株式会社
充電装置
1日前
日本精機株式会社
サージ保護回路
1日前
トヨタ自動車株式会社
回転子
20日前
トヨタ自動車株式会社
回転子
5日前
ニデック株式会社
モータの制御方法
27日前
日産自動車株式会社
電子機器
1か月前
トヨタ自動車株式会社
溶接装置
1か月前
大豊工業株式会社
モータ
19日前
個人
連続ガウス加速器形磁力増幅装置
1日前
東京応化工業株式会社
発電装置
13日前
ミサワホーム株式会社
居住設備
9日前
井関農機株式会社
充電システム
1か月前
株式会社リコー
拡張アンテナ装置
12日前
株式会社ミツバ
ブラシレスモータ
今日
カヤバ株式会社
筒型リニアモータ
今日
東京瓦斯株式会社
通信装置
今日
続きを見る
他の特許を見る