TOP
|
特許
|
意匠
|
商標
特許ウォッチ
Twitter
他の特許を見る
公開番号
2025148968
公報種別
公開特許公報(A)
公開日
2025-10-08
出願番号
2024049369
出願日
2024-03-26
発明の名称
駆動装置
出願人
ニデック株式会社
代理人
個人
,
個人
,
個人
,
個人
主分類
F16H
57/04 20100101AFI20251001BHJP(機械要素または単位;機械または装置の効果的機能を生じ維持するための一般的手段)
要約
【課題】内部の流体を排出しやすい駆動装置を提供する。
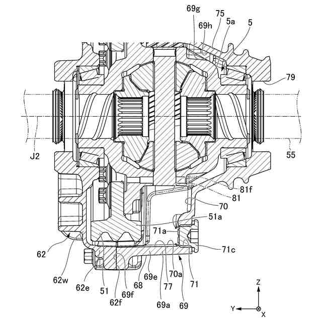
【解決手段】第1軸線を中心として回転可能なロータを有するモータ2と、モータの軸方向一方側に位置し、ロータの回転を伝達する伝達機構3と、モータを収容する第1収容部6A、および伝達機構を収容する第2収容部6Bを有するハウジング6と、を備える。伝達機構は、第1軸線を中心に回転可能な第1ギヤと、第1軸線と平行な第2軸線を中心に回転可能な第2ギヤと、を有する。第2収容部は、軸方向一方側に開口し伝達機構を軸方向他方側から覆う第1カバー部69と、伝達機構を軸方向一方側から覆う第2カバー部62と、を有する。第1カバー部は、第1収容部に対し径方向外側に延びる張り出し部69aを有する。張り出し部は、張り出し部の軸方向一方側の面から軸方向他方側に凹む凹部70と、第2軸線よりも下側に位置し凹部の内部から第2収容部の外部まで延びる第1孔部71と、を有する。
【選択図】図2
特許請求の範囲
【請求項1】
第1軸線を中心として回転可能なロータを有するモータと、
前記モータの軸方向一方側に位置し、前記ロータの回転を伝達する伝達機構と、
前記モータを収容する第1収容部、および前記伝達機構を収容する第2収容部を有するハウジングと、を備え、
前記伝達機構は、
前記第1軸線を中心に回転可能な第1ギヤと、
前記第1軸線と平行な第2軸線を中心に回転可能な第2ギヤと、を有し、
前記第2収容部は、
軸方向一方側に開口し前記伝達機構を軸方向他方側から覆う第1カバー部と、
前記伝達機構を軸方向一方側から覆う第2カバー部と、を有し、
前記第1カバー部は、前記第1収容部に対し径方向外側に延びる張り出し部を有し、
前記張り出し部は、
前記張り出し部の軸方向一方側の面から軸方向他方側に凹む凹部と、
前記第2軸線よりも下側に位置し前記凹部の内部から前記第2収容部の外部まで延びる第1孔部と、を有する、
駆動装置。
続きを表示(約 870 文字)
【請求項2】
第1孔部は、前記張り出し部を軸方向に貫通する、
請求項1に記載の駆動装置。
【請求項3】
前記凹部は、上下方向において、上側に開口する、
請求項1に記載の駆動装置。
【請求項4】
前記第1孔部は、前記第2ギヤの下端部と軸方向に並んで配置される、
請求項1に記載の駆動装置。
【請求項5】
前記張り出し部の軸方向一方側の面には、軸方向他方側に凹む収容凹部が設けられ、
前記伝達機構は、前記収容凹部に収容される被収容部を有し、
前記第1孔部は、前記被収容部の軸方向他方側の端部よりも軸方向一方側に位置する、
請求項4に記載の駆動装置。
【請求項6】
前記第1孔部は、上下方向において、前記第2軸線の下側に設けられる、
請求項4に記載の駆動装置。
【請求項7】
前記第1孔部は、上下方向において、前記第2ギヤの下端部よりも下側に位置する、
請求項1に記載の駆動装置。
【請求項8】
前記張り出し部の軸方向一方側の面には、前記凹部に向かって延びる第1流体ガイドが設けられる、
請求項1に記載の駆動装置。
【請求項9】
前記伝達機構は、前記第1軸線と平行な第3軸線を中心に回転可能であり前記第1ギヤ又は前記第2ギヤとかみ合う第3ギヤを有し、
前記張り出し部の軸方向一方側の面には、前記第3ギヤの歯先に沿って延びる第2流体ガイドが設けられ、
前記第1流体ガイドは、前記第2流体ガイドに繋がる、
請求項8に記載の駆動装置。
【請求項10】
前記第2流体ガイドの下端部は、上下方向において、前記凹部よりも上側に位置し、
前記第1流体ガイドは、前記第2流体ガイドとの接続部から前記凹部に向かうに従い下側に向かって延びる、
請求項9に記載の駆動装置。
(【請求項11】以降は省略されています)
発明の詳細な説明
【技術分野】
【0001】
本発明は、駆動装置に関する。
続きを表示(約 1,800 文字)
【背景技術】
【0002】
従来、ギヤ室内に潤滑油が貯留される駆動装置が知られる(例えば、特許文献1)。
【先行技術文献】
【特許文献】
【0003】
国際公開第2012/046307号
【発明の概要】
【発明が解決しようとする課題】
【0004】
上記のような駆動装置においては、例えばギヤ室内に貯留される潤滑油などの流体を排出するために、ギヤ室が設けられたギヤケースにギヤ室の内外を繋ぐ孔部を設ける場合がある。流体の排出は、駆動装置を車両のフレームに取り付けた状態で行う場合や、駆動装置を車両から取り外して支持部材に固定した状態などで行われる。このため、孔部が設けられる場所によっては、孔部から流体を排出する作業が孔部の周囲に配置されるフレーム又は支持部材によって阻害されるおそれがある。
【0005】
本発明は、上記事情に鑑みて、フレームなどに固定されている状態であっても内部の流体を排出しやすい駆動装置を提供することを目的の一つとする。
【課題を解決するための手段】
【0006】
本発明のギヤ装置の一つの態様は、第1軸線を中心として回転可能なロータを有するモータと、前記モータの軸方向一方側に位置し、前記ロータの回転を伝達する伝達機構と、前記モータを収容する第1収容部、および前記伝達機構を収容する第2収容部を有するハウジングと、を備える。前記伝達機構は、前記第1軸線を中心に回転可能な第1ギヤと、前記第1軸線と平行な第2軸線を中心に回転可能な第2ギヤと、を有する。前記第2収容部は、軸方向一方側に開口し前記伝達機構を軸方向他方側から覆う第1カバー部と、前記伝達機構を軸方向一方側から覆う第2カバー部と、を有する。前記第1カバー部は、前記第1収容部に対し径方向外側に延びる張り出し部を有する。前記張り出し部は、前記張り出し部の軸方向一方側の面から軸方向他方側に凹む凹部と、前記第2軸線よりも下側に位置し前記凹部の内部から前記第2収容部の外部まで延びる第1孔部と、を有する。
【発明の効果】
【0007】
本発明の一つの態様によれば、フレームなどに固定されている状態であっても内部の流体を排出しやすい駆動装置を提供できる。
【図面の簡単な説明】
【0008】
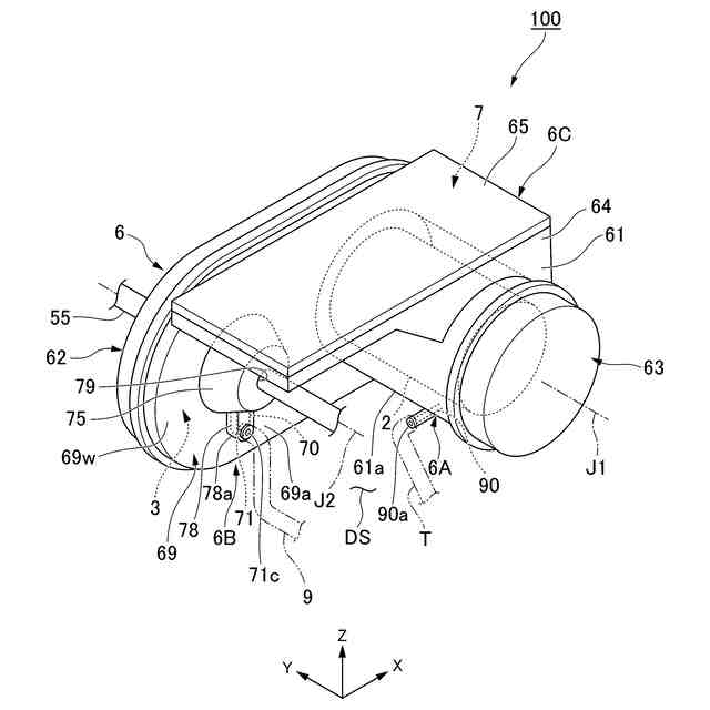
図1は、一実施形態の駆動装置の概略模式図である。
図2は、一実施形態の駆動装置の斜視図である。
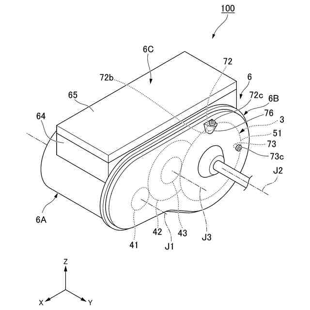
図3は、一実施形態の駆動装置の斜視図である。
図4は、一実施形態の第2収容部の断面図である。
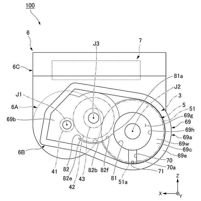
図5は、一実施形態の第1カバー部の正面図である。
図6は、一実施形態の凹部の拡大斜視図である。
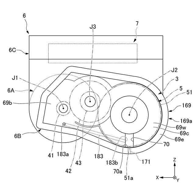
図7は、変形例の第1カバー部の正面図である。
図8は、変形例の凹部の拡大斜視図である。
【発明を実施するための形態】
【0009】
以下、図面を参照しながら、本発明の実施形態に係る駆動装置について説明する。
以下の説明では、各図に示す実施形態の駆動装置が水平な路面上に位置する車両に搭載された場合の位置関係を基に、上下方向を規定して説明する。また、図面においては、適宜3次元直交座標系としてXYZ座標系を示す。XYZ座標系において、Z軸方向は、上下方向である。+Z側は、上側であり、-Z側は、下側である。以下の説明では、上下方向上側を単に「上側」と呼び、上下方向下側を単に「下側」と呼ぶ。X軸方向は、Z軸方向と直交する方向であって駆動装置が搭載される車両の前後方向である。以下の実施形態において、+X側は、車両の前側であり、-X側は、車両の後側である。Y軸方向は、X軸方向とZ軸方向との両方と直交する方向であって、車両の左右方向、すなわち車幅方向である。前後方向および左右方向は、上下方向と直交する水平方向である。
【0010】
以下の実施形態において、車両の前後方向(X軸方向)は、軸方向および上下方向の両方と直交する「第1方向」に相当する。後側(-X)は、例えば、第1方向一方側であり、前側(+X)は、例えば、第1方向他方側である。
(【0011】以降は省略されています)
この特許をJ-PlatPat(特許庁公式サイト)で参照する
関連特許
ニデック株式会社
モータ
2日前
ニデック株式会社
駆動装置
2日前
ニデック株式会社
ロータ、回転電機、および駆動装置
1日前
ニデック株式会社
積層鉄心の製造装置及び積層鉄心の製造方法
1日前
ニデック株式会社
回転体検査装置、回転体検査方法及びプログラム
1日前
ニデック株式会社
判別システム、判別方法、および判別プログラム
7日前
ニデック株式会社
検査装置、目的変数修正方法および目的変数修正プログラム
1日前
個人
鍋虫ねじ
1か月前
個人
回転伝達機構
2か月前
個人
紛体用仕切弁
1か月前
個人
ホース保持具
5か月前
個人
差動歯車用歯形
3か月前
個人
トーションバー
6か月前
個人
給排気装置
3日前
個人
ジョイント
21日前
個人
ナット
22日前
株式会社不二工機
電磁弁
4か月前
個人
地震の揺れ回避装置
2か月前
株式会社不二工機
電磁弁
3か月前
個人
吐出量監視装置
1か月前
カヤバ株式会社
緩衝器
2日前
カヤバ株式会社
ダンパ
3か月前
カヤバ株式会社
緩衝器
3か月前
カヤバ株式会社
ダンパ
3か月前
カヤバ株式会社
緩衝器
3か月前
柿沼金属精機株式会社
分岐管
1か月前
アズビル株式会社
回転弁
15日前
株式会社ニフコ
クリップ
7日前
個人
固着具と固着具の固定方法
4か月前
個人
固着具と固着具の固定方法
4か月前
日東電工株式会社
断熱材
5か月前
個人
固着具と固着具の固定方法
6か月前
株式会社不二工機
電動弁
3日前
株式会社不二工機
電磁弁
1か月前
株式会社ノーリツ
分配弁
7日前
個人
固着具と固着具の固定方法
4か月前
続きを見る
他の特許を見る