TOP
|
特許
|
意匠
|
商標
特許ウォッチ
Twitter
他の特許を見る
10個以上の画像は省略されています。
公開番号
2025153596
公報種別
公開特許公報(A)
公開日
2025-10-10
出願番号
2024056147
出願日
2024-03-29
発明の名称
冷却装置
出願人
ニデック株式会社
代理人
弁理士法人酒井国際特許事務所
,
個人
主分類
H01L
23/473 20060101AFI20251002BHJP(基本的電気素子)
要約
【課題】装置の外周縁から外部に液体が漏れることを抑制する冷却装置を提供する。
【解決手段】冷却装置において、第1発熱部品H1と熱的に接触する冷却装置は、第1部品であるコールドプレート13と、第2部品であるカバー14と、を有する。第1部品は、液体の流路33を形成する。第2部品は、第1部品に対して第1方向一方側Z1に接続され、流路31、32を形成する。第1部品は、貯留部40を有する。貯留部40は、第1部品の縁131a、131bとは反対側を向き第1方向一方側に延びる壁面41を有する。貯留部40の少なくとも一部は、流路よりも第1部品の縁側に配置される。
【選択図】図2
特許請求の範囲
【請求項1】
第1発熱部品と熱的に接触する冷却装置であって、
液体の流路を形成する第1部品と、
前記第1部品に対して第1方向一方側に接続され、前記流路を形成する第2部品と、
を有し、
前記第1部品は、前記第1部品の縁とは反対側を向き前記第1方向一方側に延びる壁面を有する貯留部を有し、
前記貯留部の少なくとも一部は、前記流路よりも前記第1部品の縁側に配置される、冷却装置。
続きを表示(約 590 文字)
【請求項2】
前記第1部品は、前記第2部品の外周面から前記第1方向に交差する方向に張り出す張出部を有し、
前記貯留部の少なくとも一部は、前記張出部に設けられる、請求項1に記載の冷却装置。
【請求項3】
前記壁面は、前記第2部品の外周面に対向する、請求項2に記載の冷却装置。
【請求項4】
前記壁面は、前記第2部品の全周を囲う、請求項2に記載の冷却装置。
【請求項5】
前記第1部品は、前記貯留部と前記第1部品の縁とを繋ぐ排水路を有する、請求項1に記載の冷却装置。
【請求項6】
前記排水路は、前記第1部品の縁側に向かって第1方向他方側へ傾斜する、請求項5に記載の冷却装置。
【請求項7】
液体を検知する検知部を更に有し、
前記検知部は、前記貯留部に配置される、請求項1に記載の冷却装置。
【請求項8】
前記第2部品の外周面は、前記第2部品の縁側に向かって第1方向他方側へ傾斜する、請求項2に記載の冷却装置。
【請求項9】
前記張出部は、第2発熱部品と熱的に接触する、請求項2に記載の冷却装置。
【請求項10】
前記張出部及び前記第1部品は、単一の部材である、請求項9に記載の冷却装置。
(【請求項11】以降は省略されています)
発明の詳細な説明
【技術分野】
【0001】
本開示は、冷却装置に関する。
続きを表示(約 1,600 文字)
【背景技術】
【0002】
特許文献1のコールドプレートは、ベース上に搭載された液体の冷媒が流れる流路ブロックを、カバーが上方から覆っている。カバーは、ベースに固定されている。
【先行技術文献】
【特許文献】
【0003】
特開2023-152500号公報
【発明の概要】
【発明が解決しようとする課題】
【0004】
特許文献1のコールドプレートにおいて、冷媒がカバーから漏れた場合、冷媒がベースの外部にまで流れやすく、冷媒がコールドプレートの外部に漏れてしまい、コールドプレートの周辺に配置された機器に影響することがある。
【0005】
本開示は上記課題に鑑みてなされたものであり、その目的は、装置の外周縁から外部に液体が漏れることを抑制できる冷却装置を提供することにある。
【課題を解決するための手段】
【0006】
本開示の例示的な冷却装置は、第1発熱部品と熱的に接触する。本開示の例示的な冷却装置は、第1部品と、第2部品とを有する。前記第1部品は、液体の流路を形成する。前記第2部品は、前記第1部品に対して第1方向一方側に接続され、前記流路を形成する。前記第1部品は、貯留部を有する。前記貯留部は、前記第1部品の縁とは反対側を向き前記第1方向一方側に延びる壁面を有する。前記貯留部の少なくとも一部は、前記流路よりも前記第1部品の縁側に配置される。
【発明の効果】
【0007】
例示的な本開示によれば、装置の外周縁から外部に液体が漏れることを抑制できる。
【図面の簡単な説明】
【0008】
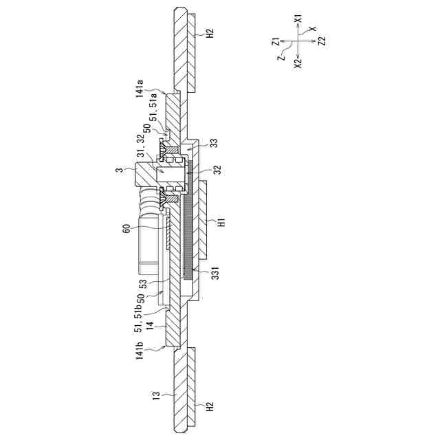
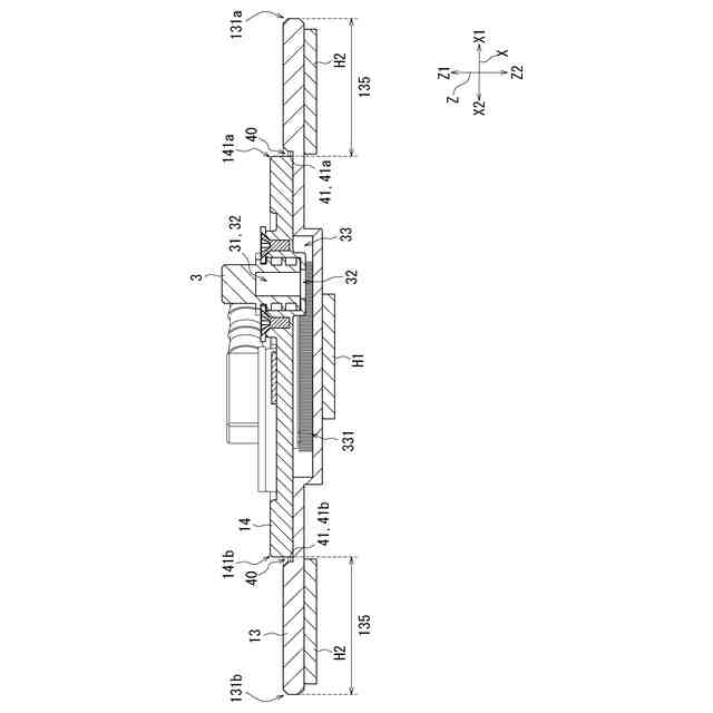
図1は、第1実施形態に係る冷却装置を示す斜視図である。
図2は、図1に示す線II-IIに沿う冷却装置の断面図である。
図3は、図2の領域IIIを示す図である。
図4は、図1に示す線IV-IVに沿う冷却装置の断面の第2方向他方側の一部を示す図である。
図5は、第1実施形態の冷却装置の変形例1におけるコールドプレートの第2方向他方側の一部を示す図である。
図6は、第1実施形態の冷却装置の変形例2におけるコールドプレートの第2方向他方側の一部を示す図である。
図7は、第1実施形態の冷却装置の変形例3におけるコールドプレートの第2方向他方側の一部を示す図である。
図8は、第2実施形態に係る冷却装置を示す斜視図である。
図9は、図8に示す線IX-IXに沿う冷却装置の断面図である。
【発明を実施するための形態】
【0009】
[第1実施形態]
以下、本開示の例示的な実施形態について、図面を参照しながら説明する。なお、図中、同一又は相当部分については同一の参照符号を付して説明を繰り返さない。本明細書では、理解の容易のため、互いに直交する第1方向Z、第2方向X及び第3方向Yを適宜記載している。また、第1方向Zの一方側を第1方向一方側Z1と記載し、第1方向Zの他方側を第1方向他方側Z2と記載する。また、第2方向Xの一方側を第2方向一方側X1と記載し、第2方向Xの他方側を第2方向他方側X2と記載する。また、第3方向Yの一方側を第3方向一方側Y1と記載し、第3方向Yの他方側を第3方向他方側Y2と記載する。ただし、あくまで説明の便宜のために方向を定義したに過ぎず、特に水平方向、鉛直方向を定義する必要がある場合を除き、本開示の例示的な冷却装置の使用時の向きを限定しない。また、本明細書において「直交する方向」とは、略直交する方向も含む。
【0010】
図1及び図2を参照して、例示的な第1実施形態に係る冷却装置100について説明する。図1は、第1実施形態に係る冷却装置100を示す斜視図である。図2は、図1に示す線II-IIに沿う冷却装置100の断面図である。
(【0011】以降は省略されています)
この特許をJ-PlatPat(特許庁公式サイト)で参照する
関連特許
ニデック株式会社
モータ
3日前
ニデック株式会社
回転電機
1日前
ニデック株式会社
冷却装置
1日前
ニデック株式会社
駆動装置
3日前
ニデック株式会社
情報処理装置
1日前
ニデック株式会社
モータの制御方法
1か月前
ニデック株式会社
生産管理システム
15日前
ニデック株式会社
ロータおよび回転電機
1日前
ニデック株式会社
送風装置および掃除機
12日前
ニデック株式会社
モータ及びモータ製造方法
15日前
ニデック株式会社
ロータ、回転電機、および駆動装置
2日前
ニデック株式会社
積層鉄心製造方法、積層鉄心及びモータ
1か月前
ニデック株式会社
積層鉄心製造方法、積層鉄心及びモータ
1か月前
ニデック株式会社
ステータ、モータ及びステータの製造方法
1か月前
ニデック株式会社
積層鉄心、積層鉄心の製造方法及びモータ
1か月前
ニデック株式会社
積層鉄心の製造装置及び積層鉄心の製造方法
2日前
ニデック株式会社
ポンプシステム、冷媒循環装置、及び制御装置
1日前
ニデック株式会社
回転体検査装置、回転体検査方法及びプログラム
2日前
ニデック株式会社
判別システム、判別方法、および判別プログラム
8日前
ニデック株式会社
画像検査装置、画像分割方法、および画像分割プログラム
8日前
ニデック株式会社
外観検査装置、外観検査方法、および外観検査プログラム
9日前
ニデック株式会社
モータハウジング、モータハウジング製造方法及びモータ
1日前
ニデック株式会社
検査装置、目的変数修正方法および目的変数修正プログラム
2日前
ニデック株式会社
画像検査装置、再調整要否提示方法および再調整要否提示プログラム
9日前
ブルースカイテクノロジー株式会社
放電抵抗回路監視付き電圧センサ
11日前
個人
安全なNAS電池
1か月前
東レ株式会社
多孔質炭素シート
1か月前
個人
フレキシブル電気化学素子
1日前
日本発條株式会社
積層体
12日前
株式会社ユーシン
操作装置
1日前
エイブリック株式会社
半導体装置
1か月前
エイブリック株式会社
半導体装置
1か月前
ローム株式会社
半導体装置
10日前
ローム株式会社
半導体装置
8日前
ローム株式会社
半導体装置
10日前
ローム株式会社
半導体装置
10日前
続きを見る
他の特許を見る