TOP
|
特許
|
意匠
|
商標
特許ウォッチ
Twitter
他の特許を見る
公開番号
2025153941
公報種別
公開特許公報(A)
公開日
2025-10-10
出願番号
2024056667
出願日
2024-03-29
発明の名称
ロータおよび回転電機
出願人
ニデック株式会社
代理人
個人
,
個人
,
個人
,
個人
主分類
H02K
1/2783 20220101AFI20251002BHJP(電力の発電,変換,配電)
要約
【課題】製作が容易なロータおよび回転電機を提供する。
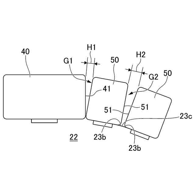
【解決手段】ロータ20は、回転電機に設けられステータと対向し中心軸線を中心として回転するロータであって、中心軸線を中心として周方向に沿って並ぶ複数の磁極部と、磁極部を径方向一方側から支持するロータコア22と、を備える。磁極部は、径方向を磁化方向とする第1磁石40と、第1磁石の周方向外側にそれぞれ対称に配置され径方向に対し周方向に傾斜する方向を磁化方向とする第2磁石50と、を有する。周方向における第1磁石と第2磁石との間に第1隙間G1が設けられ、隣り合う磁極部どうしの周方向における第2磁石の間に第2隙間G2が設けられる。第2隙間の周方向の最大幅は、第1隙間の周方向の最大幅よりも大きい。
【選択図】図2
特許請求の範囲
【請求項1】
回転電機に設けられステータと対向し中心軸線を中心として回転するロータであって、
前記中心軸線を中心として周方向に沿って並ぶ複数の磁極部と、
前記磁極部を径方向一方側から支持するロータコアと、を備え、
前記磁極部は、
径方向を磁化方向とする第1磁石と、
前記第1磁石の周方向外側にそれぞれ対称に配置され径方向に対し周方向に傾斜する方向を磁化方向とする第2磁石と、を有し、
周方向における前記第1磁石と前記第2磁石との間に第1隙間が設けられ、
隣り合う前記磁極部どうしの周方向における前記第2磁石の間に第2隙間が設けられ、
前記第2隙間の周方向の最大幅は、前記第1隙間の周方向の最大幅よりも大きい、
ロータ。
続きを表示(約 700 文字)
【請求項2】
前記第1隙間の最大幅および前記第2隙間の最大幅は、径方向の外側に向かうにつれて大きくなる、
請求項1に記載のロータ。
【請求項3】
前記第1磁石と前記第2磁石は、一部で互いに接触する部分を有する、
請求項1に記載のロータ。
【請求項4】
前記第2磁石は、前記中心軸線と直交する断面が四角形である、
請求項1に記載のロータ。
【請求項5】
前記第1磁石は、径方向内側を向く第1被支持面を有し、
前記第2磁石は、径方向内側を向く第2被支持面を有し、
前記ロータコアは、
前記第1被支持面を支持する第1支持面と、
前記第2被支持面を支持する第2支持面と、
を有する、
請求項1に記載のロータ。
【請求項6】
前記第1支持面には、前記第1被支持面との間に接着剤が充填される第1溝部が設けられ、
前記第2支持面には、前記第2被支持面との間に接着剤が充填される第2溝部が設けられる、
請求項5に記載のロータ。
【請求項7】
前記第2支持面は、径方向と直交する平面であり、
隣り合う前記磁極部どうしの前記第2磁石における前記第2被支持面を支持する前記第2支持面どうしの交差部には稜線が設けられ、
前記稜線は、前記第2隙間に露出する、
請求項5に記載のロータ。
【請求項8】
請求項1~7の何れか一項に記載のロータと、
前記ロータに対向する前記ステータと、を備える、
回転電機。
発明の詳細な説明
【技術分野】
【0001】
本発明は、ロータおよび回転電機に関する。
続きを表示(約 1,100 文字)
【背景技術】
【0002】
ロータの磁石をハルバッハ配列で並べることで駆動トルクが高められたモータが知られている(例えば、特許文献1)。
【先行技術文献】
【特許文献】
【0003】
特開2005-45984号公報
【発明の概要】
【発明が解決しようとする課題】
【0004】
磁化の方向が異なる磁石を周方向に隙間なく並べているため、磁石の周方向の寸法を高精度に製作する必要があるという問題が生じる。
【0005】
本発明は、以上のような点を考慮してなされたもので、製作が容易なロータおよび回転電機を提供することを目的とする。
【課題を解決するための手段】
【0006】
本発明のロータの一つの態様は、回転電機に設けられステータと対向し中心軸線を中心として回転するロータであって、前記中心軸線を中心として周方向に沿って並ぶ複数の磁極部と、前記磁極部を径方向一方側から支持するロータコアと、を備え、前記磁極部は、径方向を磁化方向とする第1磁石と、前記第1磁石の周方向外側にそれぞれ対称に配置され径方向に対し周方向に傾斜する方向を磁化方向とする第2磁石と、を有し、周方向における前記第1磁石と前記第2磁石との間に第1隙間が設けられ、隣り合う前記磁極部どうしの周方向における前記第2磁石の間に第2隙間が設けられ、前記第2隙間の周方向の最大幅は、前記第1隙間の周方向の最大幅よりも大きい。
【0007】
本発明の回転電機の一つの態様は、上記のロータと、前記ロータの径方向外側に位置するステータと、を備える。
【発明の効果】
【0008】
本発明の一つの態様によれば、ロータおよび回転電機において製作を容易にすることができる。
【図面の簡単な説明】
【0009】
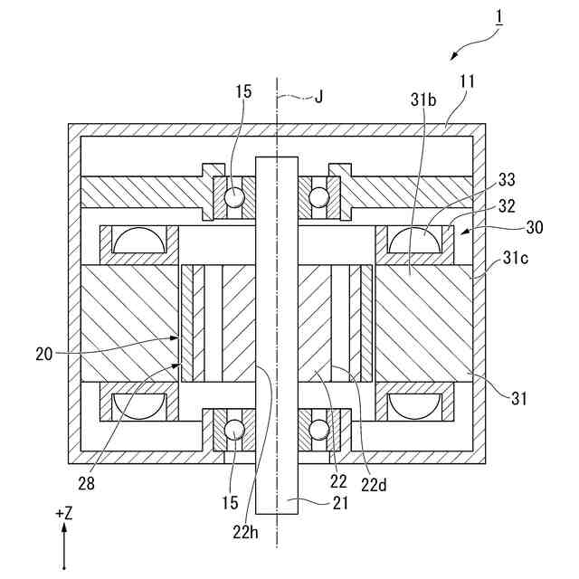
図1は、本実施形態の回転電機を示す断面図である。
図2は、本実施形態のロータの一部を示す平面図である。
図3は、本実施形態のロータの一部を拡大した平面図である。
図4は、磁束の流れを示す模式図である。
図5は、第2磁石間の距離と逆起電圧定数との関係を示す図である。
【発明を実施するための形態】
【0010】
以下、図面を参照しながら、本発明の実施形態に係るロータおよび回転電機について説明する。なお、本発明の範囲は、以下の実施の形態に限定されず、本発明の技術的思想の範囲内で任意に変更可能である。また、以下の図面においては、各構成をわかりやすくするために、実際の構造と各構造における縮尺や数等を異ならせる場合がある。
(【0011】以降は省略されています)
この特許をJ-PlatPat(特許庁公式サイト)で参照する
関連特許
ニデック株式会社
モータ
3日前
ニデック株式会社
駆動装置
3日前
ニデック株式会社
回転電機
1日前
ニデック株式会社
冷却装置
1日前
ニデック株式会社
情報処理装置
1日前
ニデック株式会社
生産管理システム
15日前
ニデック株式会社
ロータおよび回転電機
1日前
ニデック株式会社
送風装置および掃除機
12日前
ニデック株式会社
モータ及びモータ製造方法
15日前
ニデック株式会社
ロータ、回転電機、および駆動装置
2日前
ニデック株式会社
積層鉄心の製造装置及び積層鉄心の製造方法
2日前
ニデック株式会社
ポンプシステム、冷媒循環装置、及び制御装置
1日前
ニデック株式会社
判別システム、判別方法、および判別プログラム
8日前
ニデック株式会社
回転体検査装置、回転体検査方法及びプログラム
2日前
ニデック株式会社
モータハウジング、モータハウジング製造方法及びモータ
1日前
ニデック株式会社
画像検査装置、画像分割方法、および画像分割プログラム
8日前
ニデック株式会社
外観検査装置、外観検査方法、および外観検査プログラム
9日前
ニデック株式会社
検査装置、目的変数修正方法および目的変数修正プログラム
2日前
ニデック株式会社
画像検査装置、再調整要否提示方法および再調整要否提示プログラム
9日前
ブルースカイテクノロジー株式会社
放電抵抗回路監視付き電圧センサ
11日前
個人
電源装置
23日前
個人
バッテリ内蔵直流電源
22日前
株式会社アイシン
ロータ
1日前
株式会社FUJI
制御盤
12日前
日本精機株式会社
サージ保護回路
4日前
オムロン株式会社
電源回路
16日前
オムロン株式会社
電源回路
16日前
オムロン株式会社
電源回路
16日前
西部電機株式会社
充電装置
4日前
西部電機株式会社
充電装置
4日前
トヨタ自動車株式会社
回転子
8日前
トヨタ自動車株式会社
回転子
23日前
トヨタ自動車株式会社
固定子
2日前
大豊工業株式会社
モータ
22日前
ミサワホーム株式会社
居住設備
12日前
トヨタ自動車株式会社
製造装置
2日前
続きを見る
他の特許を見る