TOP
|
特許
|
意匠
|
商標
特許ウォッチ
Twitter
他の特許を見る
10個以上の画像は省略されています。
公開番号
2025150450
公報種別
公開特許公報(A)
公開日
2025-10-09
出願番号
2024051320
出願日
2024-03-27
発明の名称
ロータ、回転電機、および駆動装置
出願人
ニデック株式会社
代理人
個人
,
個人
,
個人
,
個人
主分類
H02K
1/276 20220101AFI20251002BHJP(電力の発電,変換,配電)
要約
【課題】マグネットを効率よく冷却できるロータを提供する。
【解決手段】ロータは、周方向に並ぶ複数の磁極を構成する複数のマグネットと、マグネットを保持するロータコア24と、ロータコアの軸方向一方側の端面に対向して配置されるキャップ部材4と、を備える。ロータコアには、軸方向に貫通する冷却孔24dおよび第1通気孔24aが設けられる。磁極は、冷却孔の少なくとも一部を周方向から囲う少なくとも1つのマグネットと、を有する。キャップ部材は、端面と隙間を空けて対向する第1対向面47と、キャップ部材を軸方向に貫通する孔部42と、を有する。孔部は、第1通気孔の軸方向一方側の端部と軸方向に重なる。第1対向面は、冷却孔の軸方向一方側の端部と軸方向に重なる。孔部は、隙間に繋がる。
【選択図】図5
特許請求の範囲
【請求項1】
中心軸線を中心として回転可能なロータであって、
周方向に並ぶ複数の磁極を構成する複数のマグネットと、
前記マグネットを保持するロータコアと、
前記ロータコアの軸方向一方側の端面に対向して配置されるキャップ部材と、を備え、
前記ロータコアには、軸方向に貫通する冷却孔および第1通気孔が設けられ、
前記磁極は、前記冷却孔の少なくとも一部を周方向から囲う少なくとも1つの前記マグネットと、を有し、
前記キャップ部材は、
前記端面と隙間を空けて対向する第1対向面と、
前記キャップ部材を軸方向に貫通する孔部と、を有し、
前記孔部は、前記第1通気孔の軸方向一方側の端部と軸方向に重なり、
前記第1対向面は、前記冷却孔の軸方向一方側の端部と軸方向に重なり、
前記孔部は、前記隙間に繋がる、
ロータ。
続きを表示(約 1,000 文字)
【請求項2】
前記キャップ部材は、前記第1対向面から軸方向他方側に突出し、軸方向から見て前記孔部と前記隙間との間に設けられる第1壁部を有し、
前記第1壁部には、前記孔部と前記隙間とを繋ぐ第1連通部が設けられる、
請求項1に記載のロータ。
【請求項3】
前記第1連通部は、前記孔部から前記隙間に向かうに従い径方向外側に向かって延びる、
請求項2に記載のロータ。
【請求項4】
前記第1連通部は、前記キャップ部材を軸方向に貫通する、
請求項2に記載のロータ。
【請求項5】
前記キャップ部材は、前記第1対向面から軸方向他方側に突出し、径方向と直交する方向に沿って延びる第2壁部を有し、
前記第2壁部は、軸方向から見て、前記隙間の径方向外側、かつ前記第1通気孔および前記冷却孔と直線上に並ぶ、
請求項1に記載のロータ。
【請求項6】
前記第2壁部には、前記隙間と前記キャップ部材の外部とを繋ぐ第2連通部が設けられる、
請求項5に記載のロータ。
【請求項7】
前記キャップ部材は、前記第1対向面から軸方向他方側に突出する壁部を有し、
前記壁部は、軸方向から見て前記隙間を囲み、
前記壁部には、前記孔部と前記隙間とを繋ぐ第1連通部が設けられる、
請求項1に記載のロータ。
【請求項8】
前記ロータコアには、軸方向に貫通する第2通気孔が設けられ、
前記キャップ部材は、
前記第1対向面よりも軸方向他方側に位置し前記端面と対向する第2対向面と、
径方向外側を向く外側面と、
前記第2対向面に設けられる凹部と、を有し、
前記凹部は、前記第2通気孔の軸方向一方側の端部と軸方向に重なり前記外側面で径方向外側に開口する、
請求項1に記載のロータ。
【請求項9】
前記キャップ部材は、前記第1対向面から軸方向他方側に突出し、軸方向からみて前記凹部と前記隙間との間に設けられる第3壁部を有する、
請求項8に記載のロータ。
【請求項10】
前記第3壁部には、前記凹部の内部空間と前記隙間とを繋ぐ第3連通部が設けられる、
請求項9に記載のロータ。
(【請求項11】以降は省略されています)
発明の詳細な説明
【技術分野】
【0001】
本発明は、ロータ、回転電機、および駆動装置に関する。
続きを表示(約 1,300 文字)
【背景技術】
【0002】
ハイブリッド自動車や電気自動車などへの関心の高まりとともに、回転電機を冷却する方法についても様々に開発が進んでいる。例えば、回転子鉄心の端部に配置され、回転子鉄心に設けられる流通孔に空気を送ることで回転子鉄心を冷却する内部ファンが知られている(特許文献1)。
【先行技術文献】
【特許文献】
【0003】
特開2011-211862号公報
【発明の概要】
【発明が解決しようとする課題】
【0004】
従来の構造のロータでは、マグネットの冷却が不十分であった。
【0005】
本発明は、上記事情に鑑みて、マグネットを効率よく冷却できるロータ、回転電機、および駆動装置の提供を目的の一つとする。
【課題を解決するための手段】
【0006】
本発明のロータの一つの態様は、中心軸線を中心として回転可能なロータであって、周方向に並ぶ複数の磁極を構成する複数のマグネットと、前記マグネットを保持するロータコアと、前記ロータコアの軸方向一方側の端面に対向して配置されるキャップ部材と、を備える。前記ロータコアには、軸方向に貫通する冷却孔および第1通気孔が設けられる。前記磁極は、前記冷却孔の少なくとも一部を周方向から囲う少なくとも1つの前記マグネットと、を有する。前記キャップ部材は、前記端面と隙間を空けて対向する第1対向面と、前記キャップ部材を軸方向に貫通する孔部と、を有する。前記孔部は、前記第1通気孔の軸方向一方側の端部と軸方向に重なる。前記第1対向面は、前記冷却孔の軸方向一方側の端部と軸方向に重なる。前記孔部は、前記隙間に繋がる。
【0007】
本発明の回転電機の一つの態様は、上述のロータと、前記ロータの径方向に対向するステータと、を備える。
【0008】
本発明の駆動装置の一つの態様は、上述の回転電機と、前記回転電機の動力を伝達する動力伝達部と、を備える。
【発明の効果】
【0009】
本発明の一つの態様によれば、マグネットを効率よく冷却できるロータ、回転電機、および駆動装置を提供できる。
【図面の簡単な説明】
【0010】
図1は、一実施形態の駆動装置の概念図である。
図2は、一実施形態のロータの断面図である。
図3は、一実施形態のファン(キャップ部材)の斜視図である。
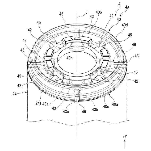
図4は、一実施形態のファン(キャップ部材)の背面図である。
図5は、図4の部分拡大図である。
図6は、第1ファンの内部の空気の流れを示す模式図である。
図7は、第1ファンの内部の空気の流れを示す模式図である。
図8は、変形例1のファン(キャップ部材)の背面図である。
図9は、変形例2のファン(キャップ部材)の背面図である。
図10は、変形例3のファン(キャップ部材)の背面図である。
【発明を実施するための形態】
(【0011】以降は省略されています)
この特許をJ-PlatPat(特許庁公式サイト)で参照する
関連特許
ニデック株式会社
モータ
7日前
ニデック株式会社
回転電機
5日前
ニデック株式会社
冷却装置
5日前
ニデック株式会社
駆動装置
7日前
ニデック株式会社
情報処理装置
5日前
ニデック株式会社
ロータおよび回転電機
5日前
ニデック株式会社
ロータ、回転電機、および駆動装置
6日前
ニデック株式会社
積層鉄心の製造装置及び積層鉄心の製造方法
6日前
ニデック株式会社
ポンプシステム、冷媒循環装置、及び制御装置
5日前
ニデック株式会社
回転体検査装置、回転体検査方法及びプログラム
6日前
ニデック株式会社
判別システム、判別方法、および判別プログラム
12日前
ニデック株式会社
モータハウジング、モータハウジング製造方法及びモータ
5日前
ニデック株式会社
画像検査装置、画像分割方法、および画像分割プログラム
12日前
ニデック株式会社
外観検査装置、外観検査方法、および外観検査プログラム
13日前
ニデック株式会社
検査装置、目的変数修正方法および目的変数修正プログラム
6日前
ニデック株式会社
画像検査装置、再調整要否提示方法および再調整要否提示プログラム
13日前
個人
単極モータ
1日前
株式会社アイシン
ロータ
1日前
株式会社アイシン
ロータ
5日前
西部電機株式会社
充電装置
8日前
西部電機株式会社
充電装置
8日前
日本精機株式会社
サージ保護回路
8日前
トヨタ自動車株式会社
回転子
12日前
トヨタ自動車株式会社
固定子
6日前
個人
連続ガウス加速器形磁力増幅装置
8日前
トヨタ自動車株式会社
製造装置
6日前
株式会社ダイヘン
充電装置
5日前
東京瓦斯株式会社
通信装置
7日前
株式会社ミツバ
ブラシレスモータ
7日前
カヤバ株式会社
筒型リニアモータ
7日前
株式会社ダイヘン
充電装置
5日前
個人
太陽エネルギー収集システム
6日前
株式会社アイシン
ステータ
5日前
株式会社アイシン
ステータ
5日前
株式会社アイシン
ステータ
5日前
株式会社ダイヘン
充電装置
5日前
続きを見る
他の特許を見る