TOP
|
特許
|
意匠
|
商標
特許ウォッチ
Twitter
他の特許を見る
10個以上の画像は省略されています。
公開番号
2025146720
公報種別
公開特許公報(A)
公開日
2025-10-03
出願番号
2025037141
出願日
2025-03-10
発明の名称
照明装置
出願人
クロイ電機株式会社
,
株式会社カネカ
代理人
個人
,
個人
主分類
F21V
19/00 20060101AFI20250926BHJP(照明)
要約
【課題】本発明は、ベース部材を壁面に対して取り付けた状態で照明パネルをベース部材に対して簡単に取り付け可能な照明装置を提供する。
【解決手段】パネル本体部と、第1パネル側係合部と、第2パネル側係合部を有する照明パネルと、第1パネル側係合部と短手方向の外側から係合可能な第1ベース側係合部と、第2パネル側係合部と短手方向の外側から係合可能な第2ベース側係合部を有するベース部材を有し、第2パネル側係合部は、板バネであって、パネル本体部の裏面に固定される固定部と、固定部から立ち上がった立上部と、立上部の立ち上がり方向の端部から折り返された折返部を有し、折返部は、第2ベース側係合部と係合し、かつ第2ベース側係合部を短手方向の外側に向かって付勢する付勢部を備える構成とする。
【選択図】図8
特許請求の範囲
【請求項1】
照明パネルと、ベース部材を有し、
前記照明パネルは、パネル本体部と、第1パネル側係合部と、第2パネル側係合部を有し、
前記パネル本体部は、発光面と裏面を有し、長手方向に延びた長尺体であり、
前記第1パネル側係合部は、裏面側であって、かつ前記パネル本体部の短手方向の第1端部側に設けられており、
前記第2パネル側係合部は、裏面側であって、かつ前記パネル本体部の短手方向の第2端部側に設けられており、
前記ベース部材は、前記第1パネル側係合部と前記短手方向の外側から係合可能な第1ベース側係合部と、前記第2パネル側係合部と前記短手方向の外側から係合可能な第2ベース側係合部を有し、
前記第2パネル側係合部は、板バネであって、前記パネル本体部の裏面に固定される固定部と、前記固定部から立ち上がった立上部と、前記立上部の立ち上がり方向の端部から折り返された折返部を有し、
前記折返部は、前記第2ベース側係合部と係合し、かつ前記第2ベース側係合部を短手方向の外側に向かって付勢する付勢部を備える、照明装置。
続きを表示(約 680 文字)
【請求項2】
前記照明パネルは、前記ベース部材に対して非破壊で着脱可能であり、
前記照明パネルを前記ベース部材から取り外す際には、前記照明パネルを前記短手方向の第2端部側に移動させることで前記第1パネル側係合部と前記第1ベース側係合部の係合を解除する、請求項1に記載の照明装置。
【請求項3】
前記照明パネルは、少なくとも2つの第2パネル側係合部を有し、
前記第1パネル側係合部は、長手方向において、前記2つの第2パネル側係合部の間に位置している、請求項1又は2に記載の照明装置。
【請求項4】
前記第1パネル側係合部は、前記長手方向に延びており、
前記第1パネル側係合部の長手方向の長さは、前記パネル本体部の長手方向の長さの50%以上90%以下である、請求項3に記載の照明装置。
【請求項5】
前記第1パネル側係合部は、前記長手方向に延びており、
前記照明パネルは、長手方向において、前記第1パネル側係合部の端部から前記照明パネルの端部までの長さが、前記パネル本体部の短手方向の長さの1/2以上である、請求項3に記載の照明装置。
【請求項6】
前記立上部の前記固定部からの立上角度は、90度超過120度以下である、請求項1又は2に記載の照明装置。
【請求項7】
前記照明パネルは、平面視したときに、前記パネル本体部の短手方向の第2端部と前記固定部との距離が前記パネル本体部の短手方向の長さの1/4以下である、請求項1又は2に記載の照明装置。
発明の詳細な説明
【技術分野】
【0001】
本発明は、天井、壁、床、構造物等の壁面に取り付けられる照明装置に関する。
続きを表示(約 1,700 文字)
【背景技術】
【0002】
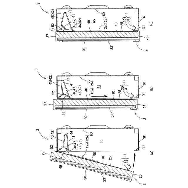
従来から、壁面に対する照明装置の取り付けにおいて、ベース部材を壁面に固定してから、ベース部材に対して照明パネルを取り付ける場合がある(例えば、特許文献1)。
例えば、特許文献1の照明装置は、壁に取り付ける際には、壁に対して固定ネジで固定部材(ベース部材)を固定し、壁に固定した固定部材に対して照明用パネルを押し込み、照明用パネルのフレームの背面部を撓ますことで、照明用パネルを固定部材に取り付ける。
こうすることにより、固定部材を介して照明用パネルを壁に容易に取り付けることが可能となるとされている。
【先行技術文献】
【特許文献】
【0003】
特開2013-149534号公報
【発明の概要】
【発明が解決しようとする課題】
【0004】
しかしながら、特許文献1の照明装置は、フレームの背面部を撓まして照明用パネルを固定部材に取りつけるため、フレームの背面部の撓みによる負荷が照明用パネルにも加わってしまう。そのため、曲げ強度が小さい照明用パネルの場合、照明用パネルが破損してしまうおそれがあり、特許文献1の照明装置は、更なる改良の余地があった。
【0005】
そこで、本発明は、ベース部材を壁面に対して取り付けた状態で照明パネルをベース部材に対して簡単に取り付け可能な照明装置を提供することを目的とする。
【課題を解決するための手段】
【0006】
上記した課題を解決するための本発明の一つの様相は、照明パネルと、ベース部材を有し、前記照明パネルは、パネル本体部と、第1パネル側係合部と、第2パネル側係合部を有し、前記パネル本体部は、発光面と裏面を有し、長手方向に延びた長尺体であり、前記第1パネル側係合部は、裏面側であって、かつ前記パネル本体部の短手方向の第1端部側に設けられており、前記第2パネル側係合部は、裏面側であって、かつ前記パネル本体部の短手方向の第2端部側に設けられており、前記ベース部材は、前記第1パネル側係合部と前記短手方向の外側から係合可能な第1ベース側係合部と、前記第2パネル側係合部と前記短手方向の外側から係合可能な第2ベース側係合部を有し、前記第2パネル側係合部は、板バネであって、前記パネル本体部の裏面に固定される固定部と、前記固定部から立ち上がった立上部と、前記立上部の立ち上がり方向の端部から折り返された折返部を有し、前記折返部は、前記第2ベース側係合部と係合し、かつ前記第2ベース側係合部を短手方向の外側に向かって付勢する付勢部を備える、照明装置である。
【0007】
本様相によれば、第2パネル側係合部が板バネであるので、壁面に取り付けた状態のベース部材に照明パネルを取り付ける際に、第2パネル側係合部を弾性変形させることで、ベース部材に対して照明パネルを簡単に取り付けることができる。また、第2パネル側係合部を弾性変形させることでベース部材に照明パネルを取り付けることができるので、特許文献1のようにベース部材に取り付ける際に照明パネルを撓ます必要がなく、照明パネルに負荷が加わりにくく、壊れにくい。
本様相によれば、第2パネル側係合部の付勢部が第2ベース側係合部を外側に向かって付勢するので、照明パネルがベース部材に対して外れにくい。
【0008】
好ましい様相は、前記照明パネルは、前記ベース部材に対して非破壊で着脱可能であり、前記照明パネルを前記ベース部材から取り外す際には、前記照明パネルを前記短手方向の第2端部側に移動させることで前記第1パネル側係合部と前記第1ベース側係合部の係合を解除する。
【0009】
本様相によれば、簡単に照明パネルをベース部材から取り外すことができる。
【0010】
好ましい様相は、前記照明パネルは、少なくとも2つの第2パネル側係合部を有し、前記第1パネル側係合部は、長手方向において、前記2つの第2パネル側係合部の間に位置している。
(【0011】以降は省略されています)
この特許をJ-PlatPat(特許庁公式サイト)で参照する
関連特許
クロイ電機株式会社
照明装置
1か月前
個人
室外機器
4か月前
個人
照明装置
1日前
個人
照明システム
4か月前
個人
消火器設置表示装置
12日前
個人
車載機器の通気構造
1か月前
個人
気泡を用いた遊具。
6か月前
株式会社遠藤照明
照明器具
5か月前
株式会社遠藤照明
照明装置
1か月前
個人
LEDライト
4か月前
能美防災株式会社
表示灯
1か月前
株式会社小糸製作所
車両用灯具
1か月前
株式会社小糸製作所
車両用灯具
1か月前
デンカ株式会社
照明装置
4か月前
デンカ株式会社
道路用照明
4か月前
アクア株式会社
冷蔵庫
3か月前
株式会社小糸製作所
誘導装置
1か月前
スタンレー電気株式会社
照射用光源
1か月前
フルトラム株式会社
光学機器
1か月前
株式会社小糸製作所
投光装置
1か月前
株式会社小糸製作所
投光装置
1か月前
株式会社小糸製作所
車両用灯具
15日前
株式会社小糸製作所
車両用灯具
15日前
株式会社小糸製作所
表示用灯具
1か月前
株式会社小糸製作所
車両用灯具
18日前
株式会社小糸製作所
車両用灯具
16日前
株式会社小糸製作所
表示用灯具
1か月前
株式会社小糸製作所
車両用灯具
4か月前
株式会社小糸製作所
車両用灯具
5か月前
株式会社小糸製作所
車両用灯具
4か月前
株式会社小糸製作所
車両用灯具
4か月前
株式会社小糸製作所
車両用灯具
4か月前
株式会社小糸製作所
車両用灯具
4日前
株式会社小糸製作所
車両用灯具
5か月前
株式会社小糸製作所
車両用灯具
7か月前
株式会社小糸製作所
車両用灯具
7か月前
続きを見る
他の特許を見る