TOP
|
特許
|
意匠
|
商標
特許ウォッチ
Twitter
他の特許を見る
10個以上の画像は省略されています。
公開番号
2025146105
公報種別
公開特許公報(A)
公開日
2025-10-03
出願番号
2024046711
出願日
2024-03-22
発明の名称
照明装置
出願人
クロイ電機株式会社
,
株式会社カネカ
代理人
個人
,
個人
主分類
F21S
8/02 20060101AFI20250926BHJP(照明)
要約
【課題】本発明は、壁面パネルに取り付けた状態で、容易に照明パネルの発光面の傾きを調整できる照明装置を提供する。
【解決手段】壁面パネルの取付用貫通孔に対して、一部が埋め込まれて取り付けられるものであり、照明パネルと、取付金具を有し、照明パネルは、発光面を有するパネル本体部と、パネル本体部の裏面から隆起した隆起部を有し、取付金具は、取付爪と、隆起部を囲繞する囲繞部と、照明パネルの離反する方向への移動を規制する規制部を有し、取付金具は、取付用貫通孔に挿入し、取付爪を壁面パネルの裏側主面及び/又は取付用貫通孔の内壁面と係合させることで、照明パネルを壁面パネルに対して取付可能であり、照明パネルは、照明パネルを壁面パネルに対して取り付けた状態で、取付金具に対して隆起部を回転軸とする周方向に回転可能である構成とする。
【選択図】図1
特許請求の範囲
【請求項1】
壁面パネルの取付用貫通孔に対して、一部が埋め込まれて取り付けられる照明装置であって、
照明パネルと、取付金具を有し、
前記照明パネルは、発光面を有するパネル本体部と、前記パネル本体部の裏面から隆起した隆起部を有し、
前記取付金具は、取付爪と、前記隆起部を囲繞する囲繞部と、前記照明パネルの離反する方向への移動を規制する規制部を有し、
前記取付金具は、前記取付用貫通孔に挿入し、前記取付爪を前記壁面パネルの裏側主面及び/又は前記取付用貫通孔の内壁面と係合させることで、前記照明パネルを前記壁面パネルに対して取付可能であり、
前記照明パネルは、前記照明パネルを前記壁面パネルに対して取り付けた状態で、前記取付金具に対して前記隆起部を回転軸とする周方向に回転可能である、照明装置。
続きを表示(約 690 文字)
【請求項2】
前記隆起部は、前記囲繞部に遊嵌している、請求項1に記載の照明装置。
【請求項3】
前記取付金具に対する前記照明パネルの回転可能角度を制限する角度制限部を有する、請求項1又は2に記載の照明装置。
【請求項4】
前記照明パネルの回転可能角度は、10度以内である、請求項3に記載の照明装置。
【請求項5】
前記隆起部は、側面に制限溝を有し、前記制限溝の延び方向の両端部が規制壁部によって閉塞されており、
前記取付金具は、前記制限溝に挿入された凸部を備える、請求項3又は4に記載の照明装置。
【請求項6】
前記隆起部は、平面視したときに最大長さが前記囲繞部の最大長さよりも短く、かつ前記囲繞部の最小長さよりも長い、請求項3又は4に記載の照明装置。
【請求項7】
壁面パネルの取付用貫通孔に対して、一部が埋め込まれて取り付けられる照明装置であって、
照明パネルと、取付金具を有し、
前記照明パネルは、発光面を有するパネル本体部と、前記パネル本体部の裏面から隆起した隆起部を有し、
前記取付金具は、前記隆起部を囲繞する囲繞部と、前記照明パネルの離反する方向への移動を規制する規制部を有し、
前記取付金具は、前記取付用貫通孔に挿入し、前記照明パネルを前記壁面パネルに対して取付可能であり、
前記照明パネルは、前記照明パネルを前記壁面パネルに対して取り付けた状態で、前記取付金具に対して前記隆起部を回転軸とする周方向に回転可能である、照明装置。
発明の詳細な説明
【技術分野】
【0001】
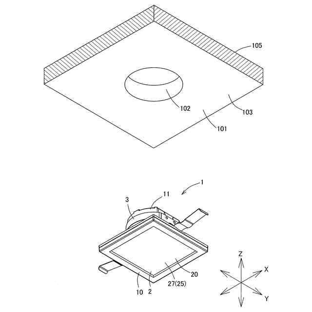
本発明は、天井等の壁面パネルに取り付けられる照明装置に関する。
続きを表示(約 1,200 文字)
【背景技術】
【0002】
従来から、薄くて軽く、面状に発光する有機ELパネルを発光パネルとして用いた照明装置が知られている(例えば、特許文献1)。
特許文献1の発光パネルは、他の発光パネルとともに天井等の被設置面に敷き詰められ、複数の発光パネルが統一感のある一つの発光面として機能することが可能となっている。
【先行技術文献】
【特許文献】
【0003】
特許第6296772号公報
【発明の概要】
【発明が解決しようとする課題】
【0004】
ところで、一般的な有機ELパネルは、特許文献1のように、点発光のLEDと異なり、発光面が方形状であり、発光面に向きがある。
特許文献1のように有機ELパネルを発光パネルとして使用し、他の発光パネルと並べて設置する際に、発光面が傾いていると、他の発光パネルとの統一感が失われてしまう。
そのため、発光パネルを並べて設置する際には、各発光パネルの被取付面への取付位置の厳密な位置決めが必要であった。
【0005】
そこで、本発明は、壁面パネルに取り付けた状態で、容易に照明パネルの発光面の傾きを調整できる照明装置を提供することを目的とする。
【課題を解決するための手段】
【0006】
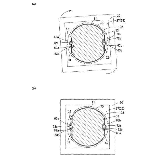
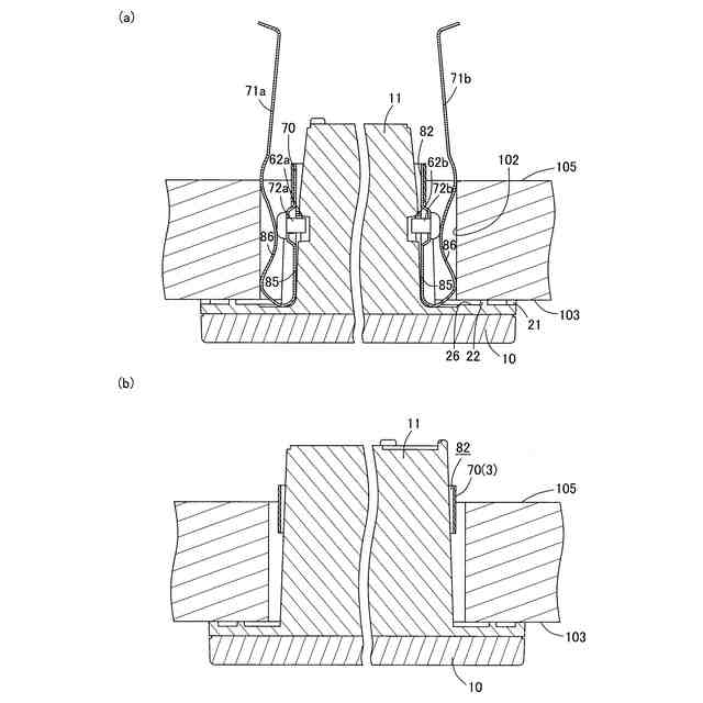
上記した課題を解決するための本発明の一つの様相は、壁面パネルの取付用貫通孔に対して、一部が埋め込まれて取り付けられる照明装置であって、照明パネルと、取付金具を有し、前記照明パネルは、発光面を有するパネル本体部と、前記パネル本体部の裏面から隆起した隆起部を有し、前記取付金具は、取付爪と、前記隆起部を囲繞する囲繞部と、前記照明パネルの離反する方向への移動を規制する規制部を有し、前記取付金具は、前記取付用貫通孔に挿入し、前記取付爪を前記壁面パネルの裏側主面及び/又は前記取付用貫通孔の内壁面と係合させることで、前記照明パネルを前記壁面パネルに対して取付可能であり、前記照明パネルは、前記照明パネルを前記壁面パネルに対して取り付けた状態で、前記取付金具に対して前記隆起部を回転軸とする周方向に回転可能である、照明装置である。
【0007】
本様相によれば、取付金具に対して隆起部を回転軸とする周方向に回転可能であるので、壁面パネルに取り付けた後でも、容易に照明パネルの発光面の傾きを調整できる。そのため、厳密な位置決めを行う必要がなく、従来に比べて発光面の傾き調整が容易である。
【0008】
好ましい様相は、前記隆起部は、前記囲繞部に遊嵌している。
【0009】
本様相によれば、隆起部は、囲繞部に遊びを持った状態で嵌めているので、取付金具に対して照明パネルを回転させやすい。
【0010】
好ましい様相は、前記取付金具に対する前記照明パネルの回転可能角度を制限する角度制限部を有する。
(【0011】以降は省略されています)
この特許をJ-PlatPat(特許庁公式サイト)で参照する
関連特許
クロイ電機株式会社
照明装置
4日前
クロイ電機株式会社
照明装置
4日前
クロイ電機株式会社
表示装置
8日前
個人
室外機器
3か月前
個人
照明システム
3か月前
個人
車載機器の通気構造
27日前
個人
気泡を用いた遊具。
5か月前
株式会社遠藤照明
照明器具
4か月前
株式会社遠藤照明
照明装置
18日前
能美防災株式会社
表示灯
27日前
デンカ株式会社
照明装置
3か月前
株式会社小糸製作所
車両用灯具
今日
個人
LEDライト
3か月前
株式会社小糸製作所
車両用灯具
今日
デンカ株式会社
道路用照明
3か月前
株式会社小糸製作所
投光装置
27日前
株式会社小糸製作所
誘導装置
11日前
瀧住電機工業株式会社
ダクトレール
6か月前
スタンレー電気株式会社
照射用光源
4日前
株式会社小糸製作所
投光装置
27日前
アクア株式会社
冷蔵庫
2か月前
株式会社小糸製作所
車両用灯具
4か月前
株式会社小糸製作所
車両用灯具
4か月前
株式会社小糸製作所
車両用灯具
6か月前
株式会社小糸製作所
車両用灯具
4か月前
株式会社オカムラ
間仕切り装置
6か月前
株式会社小糸製作所
車両用灯具
7か月前
株式会社小糸製作所
車両用灯具
3か月前
株式会社小糸製作所
描画用灯具
6か月前
株式会社小糸製作所
車両用灯具
3か月前
常盤電業株式会社
表示機
7か月前
株式会社小糸製作所
車両用灯具
6か月前
株式会社小糸製作所
車両用灯具
7か月前
株式会社小糸製作所
車両用灯具
3か月前
株式会社小糸製作所
車両用灯具
6か月前
株式会社小糸製作所
車両用灯具
2か月前
続きを見る
他の特許を見る